/ Nweon / 0浏览

Meta专利提出根据情景因素主动做出反应的Avatar交互



映维网Nweon
2024年05月27日

)现有的XR系统要求用户在与XR环境交互时主动控制他们的Avatar。当用户离开XR环境时,用户在XR环境中的存在就结束了。现有的系统提供了不受用户控制的Avatar,而它们通常不可定制,依赖于程序员或系统管理员建立的对象操作。

名为“Interactive avatars in artificial reality”的专利申请中,Meta提出了旨在创建可定位的交互式Avatar。一旦固定,Avatar就可以根据情景因素和规则对环境做出反应,而无需Avatar所有者的主动控制。

交互式Avatar系统可以根据用户的选择为Avatar配置反应、视觉元素和设置。一旦Avatar被Avatar所有者配置并固定到某个位置,当其他XR设备在所述位置(并且具有查看Avatar的权限)时,中央系统可以将Avatar及其配置提供给其他XR设备。这允许其他XR设备的用户根据Avatar所有者建立的配置发现虚拟Avatar并与之交互。

Meta指出,交互式Avatar系统提供了比现有系统更引人入胜的体验,因为它提供了情景反应,可以将无数触发事件与角色行动配对。Avatar可以与其Avatar、环境中的虚拟物体或基于虚拟人物情景反应的环境进行交互。

例如,Avatar可以向认识的人挥手,表现出高兴或悲伤的样子,在下雨时撑伞,和路人玩游戏等等。另外,与现有系统不同的是,这种情景驱动的Avatar的功能无需用户具有广泛的编程知识即可实现。

图4示出了组件400的框图。中介420可以包括在硬件410和专用组件430之间进行资源中介的组件。例如,中介420可以包括操作系统、服务、驱动程序、基本输入输出系统、控制器电路或其他硬件或软件系统。

专用组件430可以包括配置为执行用于建立和控制交互式Avatar操作的软件或硬件。专用组件430可包括Avatar外观模块434、Avatar反应模块436、Avatar隐私模块438、Avatar持久性模块440、Avatar发现模块442、情景模块444等。

在Avatar所有者系统上,Avatar外观模块434可以根据用户的选择建立Avatar的外观。例如,Avatar的外观可以包括设定高度、体型、性别、面部特征、服装和配饰、肤色、头发颜色和风格、眼睛颜色等。

Avatar反应模块436可以为Avatar设置反应,其中反应包括一个触发器和一个或多个相应的Avatar动作。反应可以设置为默认反应,从预配置的反应中选择,作为一组反应对应于选定的情绪,或作为自定义反应创建。

Avatar隐私模块438可以设置Avatar隐私,控制谁可以发现和查看给定的Avatar。Avatar隐私可以针对个人用户、用户可能拥有会员资格的组和/或用户类型进行设置。

Avatar持久性模块440可以从Avatar所有者接收关于Avatar是否应该过期的指示。Avatar持久性模块440可以确定是否发生了导致Avatar不再出现(或开始出现)的事件。

Avatar发现模块442可以为查看用户提供给定区域中的Avatar的指示。例如,可以向查看用户提供她所在地区的Avatar通知。情景模块444则可以确定情景条件,以确定分配给Avatar的反应是否被触发。

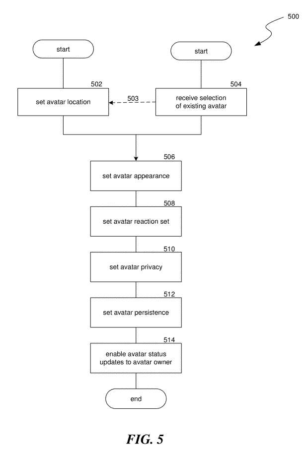
图5示出用于配置要固定在某个位置的Avatar的过程500。

在502,进程500可以为一个新Avatar设置一个世界锁定的位置。这可以在角色的所有者处于新位置时执行,并由Avatar所有者选择角色的位置。

在504,可以接收现有Avatar的选择。例如,用户可以访问她之前固定在不同位置的Avatar列表,或者可以访问带有显示其Avatar位置的地图。

在506,可以设置或更新Avatar的外观。例如,用户可以从一组预定义的Avatar中进行选择,也可以选择Avatar的视觉属性,如身高、体型、性别、面部特征、服装和配饰、肤色、发色和发型、眼睛颜色等。

在508,可以为角色设置一个反应集。Avatar可以分配任意数量的反应,其中每个反应可以包含一个触发器和一个动作。

在510,可以为一个固定Avatar设置隐私设置。隐私设置可以定义谁可以发现和/或与Avatar交互。

在512,可以为Avatar设置一个持久化配置。持久性可以定义角色在消失之前在固定位置出现的时间。例如,持久性可以设置为一周、一天、五个小时等。

在514,可以配置一个Avatar并向Avatar的所有者提供状态更新。在一个实施例中,可以配置Avatar以向Avatar所有者提供定期或事件驱动的报告。例如,报告可以表明触发了什么反应,与谁进行了互动,在其持久性设置中停留了多长时间,有多少人发现了它,收到了多少
社交
媒体反应等等。

图6示出用于配置固定Avatar的情景反应的流程图。进程600可以作为进程500的子进程执行,例如在508。

在602,进程600可以接收到一个Avatar的指示,而情景反应将应用于所述Avatar。

在604,进程600可以为指定的Avatar设置一个或多个情景反应。块604包括四个子过程,用于设置一个或多个上下文反应的默认集(块606和608),为特定情绪设置预定义的上下文反应集(块610-614),选择单个预定义的上下文反应(块616-620);或者创建自定义上下文响应(代码块622-626)。如每个子流程的起始块的虚线所示,Avatar所有者可以使块604执行这些子流程中的任何一个或多个,或者可以多次执行相同的子流程。

在606,可以为角色设置一组默认的反应。在各种实施例中,这可以是Avatar所有者为其所有Avatar建立的一组反应,或可以是系统管理员为所有新Avatar分配的一组交互。

在608,可以覆盖默认反应的各个方面。这可以包括排除特定默认反应或更改默认反应触发器或操作。例如,当系统识别出Avatar所有者的朋友时,Avatar的默认反应可以是挥手,但Avatar可以改变这个反应。

在610,可以提供一个情绪选择用户界面。例如,UI可以显示各种“情绪”选项,每个选项都包含针对所述情绪的一个或多个预定义的情景反应。

在612,可以从Avatar所有者那里收到一个情绪选择。在614,进程600可以将选定情绪的预定义反应应用到角Avatar。

在616,可以提供一个用户界面并列出可应用于Avatar的可用预定义反应。在622,可以接收用户创建或选择的自定义反应的触发器。

在624,可以接收一个或多个动作来与622的触发器配对。在626,可以通过将622的触发器与624的动作配对来创建自定义反应,并可以将新的反应添加到Avatar中。

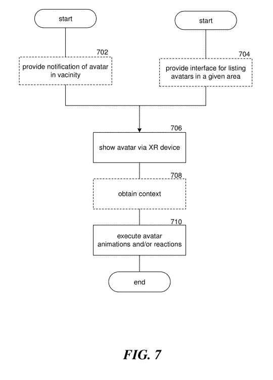
图7示出用于查看固定Avatar并与之交互的流程图。

在702,可以向用户提供一个通知,告知在用户附近有一个固定的Avatar。

在704,可以为用户提供一个界面,以发现已固定在给定区域的一个或多个Avatar的地图、列表或其他显示。

在706,可以显示Avatar,例如通过XR设备。在708,进程700可以获得触发一个或多个Avatar反应的情景。在710,进程710可以为所述Avatar的触发反应执行动画或其他动作。

图8示出将Avatar配置为固定在某一位置的示例800。示例800中的Avatar配置接口包括用于设置Avatar外观的选项802、用于设置所述Avatar的反应的选项806、用于设置所述Avatar在放置后将在某个位置持续多长时间的选项810、以及用于设置谁可以发现和查看所述放置后的Avatar的选项814。

图10A说明固定Avatar的示例1000。在示例1000中,用户在巴黎的埃菲尔铁塔上,他通过移动电话1002的透视显示器查看周围的区域。用户手机1002的交互式Avatar系统将此识别为固定Avatar的常用位置,并建议使用模态1004在此位置固定Avatar。用户通过选择控件“Check in here”1006开始在此位置固定Avatar的过程。

图10B是示出查看固定Avatar的示例1050。在示例1050中,用户戴着视场为1052的MR头显。在视场1052中,用户可以看到一个真实世界的城市公园,以及固定在它前面的Avatar1054。通过将角色固定在一家受欢迎的餐厅“Burger Dance”附近,Avatar所有者可以选择将其应用于她的角色。Avatar所有者同时可以通过激活控制1060在该位置来为她的Avatar拍照。


相关专利


Meta Patent | Interactive avatars in artificial reality

名为“Interactive avatars in artificial reality”的Meta专利申请最初在2023年11月提交,并在日前由美国专利商标局公布。