(
映维网Nweon
2024年05月25日
)近期美国专利及商标局公布了一批全新的AR/VR专利,以下是映维网的整理(详情请点击专利标题),一共57篇。更多专利披露请访问映维网专利板块
https://patent.nweon.com/
进行检索,你同时可以加入映维网AR/VR专利交流微信群(详见文末)。
1. 《
Meta Patent | Systems and methods for ultra-wideband in-band discovery(Meta专利:超宽带带内发现的系统和方法)
》
在一个实施例中,用于超宽带(UWB)带内发现的系统包括第一UWB设备,其确定与潜在受控者的关联的可用性,并且生成并发送指示可用性的应用控制(AC)信息元素(IE)。第二UWB设备可以接收AC IE,选择用于向第一UWB设备发送关联请求的可用时隙,并且在可用时隙中发送关联请求。第一UWB设备可以接收关联请求,生成关联响应,并将关联响应发送到第二UWB设备。
2. 《
Meta Patent | Arrangements of illumination sources within and outside of a digit-occluded region of a top cover of a handheld controller to assist with positional tracking of the controller by an artificial-reality system, and systems and methods of use thereof(Meta专利:用于辅助人工现实系统对控制器位置追踪的布置在手持控制器顶盖手指遮挡区域内外的照明源,以及其系统和使用方法)
》
在一个实施例中,用于人工现实系统的手持控制器可以包括顶盖,顶盖具有被周边包围的表面。所述表面具有可放置手持控制器的用户的手指的手指被遮挡的手指遮挡区域和与该手指遮挡区域分离的不同区域。第一照明源设置在沿着顶盖的周边的第一位置处的手指遮挡区域内。第一位置对于人工现实系统的摄像头是可见的。第二照明源设置在手指遮挡区域内沿顶盖周边的第二位置处,第三照明源设置在不同区域内的第三位置处。
3. 《
Meta Patent | Power-efficient processing of neuromuscular signals to confirm occurrences of user gestures, and systems and methods of use thereof(Meta专利:确认用户手势发生的神经肌肉信号的功率有效处理及其系统和使用方法)
》
在一个实施例中,专利描述的方法包括:(i)获得第一组神经肌肉信号;(ii)在使用低功率检测器确定第一组神经肌肉信号需要进一步处理以确认已经执行了预定的悬空手势之后:(a)使用高功率检测器处理第一组神经肌信号;以及(b)根据所述处理指示所述预定悬空手势确实发生的确定,登记所述预定的悬空手势的发生;(iii)接收第二组神经肌肉信号;以及(iv)在使用所述低功率检测器而不使用所述高功率检测器确定执行了不同的预定悬空手势之后,响应于所述不同预定悬空手势来执行动作。
4. 《
Meta Patent | Haptic actuators and related wearable devices(Meta专利:触觉致动器及相关可穿戴设备)
》
在一个实施例中,触觉致动器可以包括耦合到非活性基底的第一侧的第一活性材料和耦合到非活化基底的第二侧的第二活性材料。当第一活性材料和第二活性材料未被致动时,非活性衬底可形成为初始呈现非平面形状。
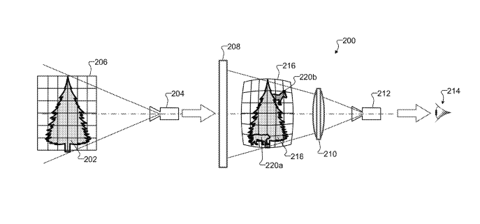
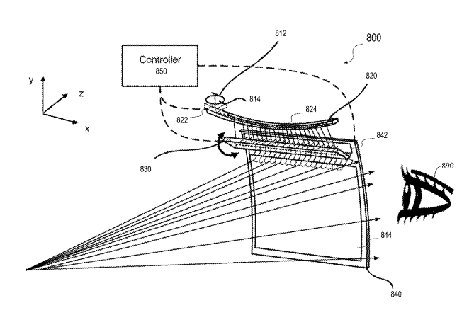
5. 《
Meta Patent | Holographic vr display(Meta专利:全息VR显示屏)
》
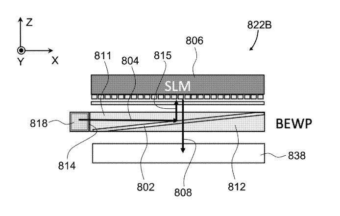
在一个实施例中,
全息显示
器包括照明器、耦合到照明器的空间光调制器(SLM)和耦合到SLM的目镜。照明器提供宽区域照明光束以用空间均匀的光束照明SLM。照明器可以包括具有倏逝出耦合器的平板波导,或者基于具有照明光的倾斜入射角和近法线衍射角的衍射光栅的光束扩展器。可以提供低通空间滤波器以滤除在SLM上衍射的照明光的更高衍射级。
6. 《
Meta Patent | Holographic vr display(Meta专利:全息VR显示屏)
》
在一个实施例中,全息显示器包括照明器、耦合到照明器的空间光调制器(SLM)和耦合到SLM的目镜。照明器提供宽区域照明光束以用空间均匀的光束照明SLM。照明器可以包括具有倏逝出耦合器的平板波导,或者基于具有照明光的倾斜入射角和近法线衍射角的衍射光栅的光束扩展器。可以提供低通空间滤波器以滤除在SLM上衍射的照明光的更高衍射级。
7. 《
Meta Patent | Holographic vr display(Meta专利:全息VR显示屏)
》
在一个实施例中,全息显示器包括照明器、耦合到照明器的空间光调制器(SLM)和耦合到SLM的目镜。照明器提供宽区域照明光束以用空间均匀的光束照明SLM。照明器可以包括具有倏逝出耦合器的平板波导,或者基于具有照明光的倾斜入射角和近法线衍射角的衍射光栅的光束扩展器。可以提供低通空间滤波器以滤除在SLM上衍射的照明光的更高衍射级。
8. 《
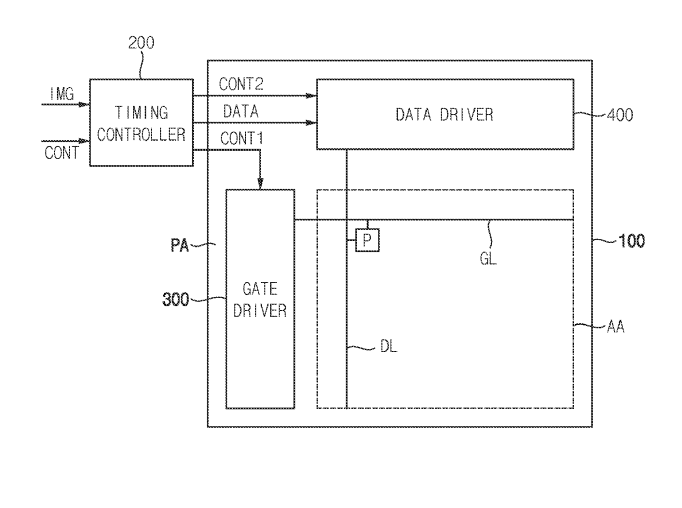
Meta Patent | Head-mounted display devices with reduced wireless interference by optoelectronic components(Meta专利:通过光电元件减少无线干扰的头戴式显示设备)
》
在一个实施例中,专利描述的电子设备包括一个或多个天线和一个或更多个光电子元件。所述一个或多个光电子元件包括一个或更多个电极。所述一个或多个电极具有指定的薄层电阻。一个或多个电极可以包括铝掺杂的氧化锌、亚波长粗糙化电极、纳米压印电极、电镀电极、氧化铟锡或一个或更多个边界层。所述一个或多个边界层可以包括一层或多层铟钼氧化物和/或一层或多层铟铌氧化物。所述一个或多个电极可以通过场感应对准来对准。所述一个或多个天线可以定位在电子设备的第一层中,并且所述一种或多种光电子元件可以定位在与第一层不同的电子设备的第二层中。
9. 《
Meta Patent | Kaleidoscopic waveguide as small-form-factor pupil expander(Meta专利|:Kaleidoscope波导作为小形状参数光瞳扩展器)
》
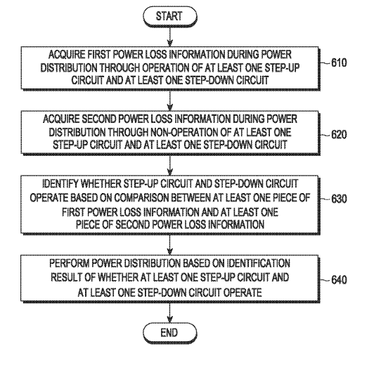
在一个实施例中,波导显示器包括第一波导组件和第二波导组件。第一波导组件包括在第一方向上延伸的第一波导、第一耦入器和第一耦出器,第一耦入器配置为将显示光耦合到第一波导中,使得显示光通过与第一方向平行的第一波导的三个或多个表面的全内反射而被反射,从而在第一波导内沿第一方向传播,第一耦入器配置成将显示光在沿第一方向的第一多个位置处耦合出第一波导。第二波导组件配置为在沿着不同于第一方向的第二方向的第二多个位置处将来自第一波导的显示光朝向波导显示器的视窗偏转。
10. 《
Meta Patent | High-contrast liquid crystal panel(Meta专利:高对比度液晶面板)
》
在一个实施例中,液晶面板可以包括具有多个圆形矩形结构的层,例如有源矩阵层的通孔。对比度的损失可能是由于照明光经过圆形矩形结构的菲涅耳折射而导致。特别地,结构的圆形壁可以旋转线性偏振照明光的偏振方向,从而在面板的黑色状态下导致光泄漏。过孔的圆形部分的减少可以提高LC面板的整体对比度,以及将入射照明光的偏振定向为平行于或垂直于结构。
11. 《
Microsoft Patent | High refractive index nanoimprintable resin for optical waveguide applications(微软专利:用于光波导应用的高折射率纳米压印树脂)
》
在一个实施例中,专利描述了一种用于光波导应用的纳米可压印树脂。纳米可压印树脂包括基础树脂、金属氧化物纳米颗粒和光引发剂。根据ASTM D1218-21,纳米可压印树脂的固化膜在25°C下表现出大于或等于1.8(589nm),例如1.9(599nm)的折射率。
12. 《
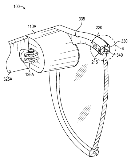
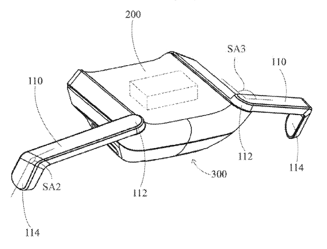
Microsoft Patent | Multi-factor intention determination for augmented reality (ar) environment control(微软专利:AR环境控制的多因素意图确定)
》
在一个实施例中,AR环境控制的示例有利地采用多因素意图确定,包括:在AR环境中使用一组指示来执行用于调用控制对象的多因素意图判断;以及至少基于指示用户的召唤请求的指示集合,在AR环境中靠近用户的位置显示控制对象。在保持至少一个指示的同时继续显示控制对象,并且如果其中一个指示丢失,则在定时器周期期间继续显示控制目标。
13. 《
Apple Patent | Stress detection(苹果专利:压力检测)
》
在一个实施例中,专利描述的过程可以包括在环境中的体验期间获得与用户相关联的生理数据,基于环境的传感器数据确定体验的情景,基于所获得的生理数据和体验的情景确定体验的一部分期间用户的压力水平,以及基于所述压力水平在体验期间提供反馈机制。
14. 《
Apple Patent | Attention detection(苹果专利:注意力检测)
》
在一个实施例中,专利描述的过程可以包括获得与用户在体验期间的注视相关联的生理数据,基于生理数据确定用户在体验过程中具有第一专注状态,其中第一专注状态对应于用户在体验程序期间在任务中缺乏注意力。然后,基于确定用户在经历过程中具有所述第一专注状态在体验过程提供反馈机制。
15. 《
Apple Patent | Packaging for optical lens devices(苹果专利:光学透镜器件封装)
》
在一个实施例中,包装可以包括第一面板,第一面板由纸形成并且包括第一凹部,第一凹部配置为接收产品的第一部分。包装可以包括第二面板,第二面板由纸形成并且包括构造成接收产品的第二部分的第二凹部。由纸形成的铰链板可以在第一和第二折叠处将第一和第二板连接在一起,使得当包装闭合时,产品保持在第一面板和第二面板内以及在第一面板与第二板之间,并且当包装闭合后,凹部一起保持产品。
16. 《
Apple Patent | Methods and apparatus for data transmission traffic information indication for extended reality (xr) devices(苹果专利:用于XR设备的数据传输traffic信息指示的方法和装置)
》
在一个实施例中,用户设备(UE)配置为从对等UE或应用服务器接收traffic相关信息。然后,UE使用无线资源控制(RRC)消息、介质访问控制控制单元或物理上行链路控制信道将traffic相关信息发送到基站。来自UE的traffic相关信息的传输可以增强XR系统的无线通信服务。
17. 《
Apple Patent | Handheld electronic devices with contextual input-output capabilities(苹果专利:具有情景输入输出功能的手持电子设备)
》
在一个实施例中,手持式电子设备可以包括用于接收语音命令的麦克风、用于提供音频反馈的扬声器、用于提供视觉输出和接收触摸输入的显示器、以及用于接收手势输入的运动传感器。手持电子设备可以包括控制电路,控制电路根据在手持电子设备运行的应用程序和在显示器显示的图标来不同地处理语音命令。控制电路可以确定手持电子设备的位置,并且可以基于所述位置提供内容。例如,当手持电子设备接近外设时,可以显示用于控制外设的远程控制接口。头戴式设备可以基于手持电子设备的位置来显示虚拟图像。虚拟图像可以包括来自视频呼叫的实时视频馈送、与语音命令相关联的虚拟图像或其他虚拟图像。
18. 《
Apple Patent | Electronic device with intuitive control interface(苹果专利:具有直观控制界面的电子设备)
》
在一个实施例中,专利描述的电子设备可以包括显示系统和控制电路。用户的环境可以呈现在显示系统上。显示系统上的环境可以是环境的捕获图像,可以是通过光学组合器观看的实际真实世界,或者可以是表示环境的完全虚拟的图像。控制电路可以收集关于用户环境中的外部电子设备的信息,包括确定每个外部电子设备类型和位置以及外部电子设备之间的无线通信链路的状态。显示系统可以将计算机生成的显示元素叠加在用户的环境上,以指示外部电子设备之间的无线通信链路的状态。响应于触摸或手势输入,控制电路可以向外部电子设备发送控制信号,以建立或断开外部电子设备之间的无线通信链路。
19. 《
Apple Patent | Finger orientation touch detection(苹果专利:手指方向触摸检测)
》
在一个实施例中,触摸检测包括获得手指和目标表面的图像数据,以及确定图像数据中指尖与目标表面接触的触摸区域。确定手指在图像数据中的指向方向,并且基于触摸区域和指向方向在目标表面上估计目标区域。
20. 《
Apple Patent | Finger-mounted device with sensors and haptics(苹果专利:带传感器和触觉的指戴设备)
》
在一个实施例中,指戴设备可以包括安装在手指的单元。每个安装在手指的单元可以具有主体,主体用作诸如力传感器、加速度计和其他传感器之类的部件以及触觉输出设备的支撑结构。所述主体可以具有侧壁部分,所述侧壁部分由搁置在用户指甲附近的部分联接。主体可以由诸如金属的可变形材料形成,或者可以由诸如滑动主体部分的可调节结构形成,所述可调节结构使用磁引力、弹簧或其他结构彼此耦接。每个指戴设备的主体可以具有U形横截面轮廓,当主体连接到用户手指的指尖时,U形横截轮廓使得每个手指的指垫暴露。控制电路可以使用传感器收集手指按压输入、手指横向移动输入和手指敲击输入,并且可以使用触觉输出设备提供触觉输出。
21. 《
Apple Patent | Head-mounted display systems with optical module calibration(苹果专利:带光学模块校准的头戴式显示系统)
》
在一个实施例中,头戴式设备可以具有光学模块(光学组件),所述光学模块可滑动地耦合到导轨并且使用相应的左定位器和右定位器进行定位。每个光学模块可以具有显示器,显示器配置为通过透镜在相应的眼盒中显示图像。可以在每个光学模块中提供摄像头。设备的摄像头可用于测量眼睛特性,例如眼睛张开角度、眼睑张开尺寸、角膜直径和瞳孔间距离,并且相关特性可用于测量光学模块位置随时间的变化。设备同时可以具有基于电极阵列的光学模块位置传感器,所述电极阵列与光学模块的光学模块电极接触。控制电路可以执行图像扭曲操作,以确保显示的图像补偿光学模块位置的测量变化。
22. 《
Apple Patent | Waveguide-based displays with tint layer(苹果专利:带色调层的波导显示器)
》
在一个实施例中,电子设备可以包括第一偏置透镜,第一偏置透镜将世界光传输到波导上的输耦出器。耦出器可以传输世界光,同时将图像光耦合出波导。第二偏置透镜可以将世界光和图像光传输到视窗。色调层可以向耦出器传输世界光。色调层可以是平面的并且层叠在第一偏置透镜或另一透镜的平面表面上,可以通过气隙与第一偏置透镜分离,可以相对于波导不平行,和/或可以是弯曲的并且通过气隙而与第一偏置透镜和波导分离。当平面时,着色层可以在基板之间或着色层和波导之间设置间隔物,以最大化平行度。
23. 《
Apple Patent | Electronic devices with light-blocking fabrics(苹果专利:具有遮光织物的电子设备)
》
在一个实施例中,头戴式设备可以包括具有显示器的外壳。光密封件可以耦合到外壳并且可以阻挡外部光到达视窗。光密封件可以包括形成光密封件的最外层的针织织物的无缝管。遮光织物可以排列在针织织物的无缝管的内表面上。遮光织物可以包括面向视窗的深色纬编织层、面向并匹配针织织物的无缝管的颜色的浅色纬编织层,以及连接浅色纬织层和深色纬织层的中间层。深色纬编针织层可以确保足够的不透明度,而不会通过针织物的无缝管可见。
24. 《
Apple Patent | Electronic devices with stretchable fabrics(苹果专利:具有可拉伸织物的电子设备)
》
在一个实施例中,头戴式设备可以包括具有显示图像的显示器和光学模块的主壳体部分。光密封件可以耦合到主壳体部分并且可以围绕视窗以防止外部光到达头戴式设备的观看区域。光密封件可以包括内部织物层和外部织物层。外部织物层可以是针织织物的无缝管。内部织物层可以是衬在外部织物层的内表面上的不透明织物。
25. 《
Apple Patent | Input coupling(苹果专利:耦入)
》
在一个实施例中,专利了一种包括全内反射(TIR)波导的第一层和TIR波导的第二层的光学器件。TIR波导的第二层可以耦合到第一层。第二层可以包括耦出装置,耦出装置配置为朝向TIR波导的出射面反射光。耦出装置可以包括一个或多个衍射光栅。光学器件同时可以包括设置在第一层或第二层或第一层和第二层两者的非衍射边缘部分上的耦入面。耦入面可以配置为接收图像光。另一光学器件可以包括设置在非衍射耦入元件上的耦入面。非衍射耦入元件可以定位在用于将图像光引导到TIR波导的光学路径中。
26. 《
Qualcomm Patent | Dynamic content presentation for extended reality systems(高通专利:用于扩展现实系统的动态内容演示)
》
在一个实施例中,XR系统根据显示设置使用显示器来显示虚拟内容。显示设置可以识别例如所显示的虚拟内容的位置、方向和/或大小。当虚拟内容由显示器显示时,例如使用透视显示器,可以使用显示器来查看环境。成像系统可以基于成像系统的用户的一只或两只眼睛的一个或多个属性来确定用户使用显示器显示的虚拟内容的感知程度。属性可以识别,例如眼睛位置、眼球运动、瞳孔扩张、扫视、注视、眨眼和/或斜视。XR系统可以基于用户对虚拟内容的感知程度来确定对显示设置的修改。
27. 《
Qualcomm Patent | Cross-view attention for visual perception tasks using multiple camera inputs(高通专利:使用多个摄像头输入实现视觉感知任务的跨视图关注)
》
在一个实施例中,专利描述的过程可以包括获得与多个不同空间视图相关联的多个输入图像;基于多个输入图像生成一组特征;基于该组特征生成一组投影特征,其中与该组投影特征相关联的嵌入大小小于与该组特征相关联的嵌入大小;确定与多个不同空间视图相关联的跨视图注意力,该跨视图注意力使用投影特征的集合来确定。
28. 《
Qualcomm Patent | Power efficient display architecture(高通专利:节能显示架构)
》
在一个实施例中,显示处理器可以获得UC将以第一分辨率或第二分辨率显示的指示,其中第一分辨率高于第二分辨率。显示处理器可以基于指示经由第一DPU的第一控制器来驱动第一显示器。如果要以第一分辨率显示UC,则显示处理器可以经由第二DPU的控制器驱动第二显示器,或者如果要以第二分辨率显示UC,则经由第一DPU的第二控制器驱动第二显示器。
29. 《
Qualcomm Patent | Future pose predictor for a controller(高通专利:控制器的未来姿态预测器)
》
在一个实施例中,用于预测姿势的装置包括至少一个存储器和至少一个处理器,所述至少一个内存和至少一种处理器耦合到至少一个储存器并且配置为:在姿势估计引擎处接收来自控制器的姿势数据,所述姿势数据包括所述控制器的多个先前姿势;以及在第一时间经由姿势估计引擎基于姿势数据预测控制器的未来姿势,其中未来姿势包括在第一时间之后的第二时间的控制器的预期姿势。
30. 《
Google Patent | Fabrication of slanted grating master and working stamp using grayscale lithography and plasma etching(谷歌专利:使用灰度光刻和等离子体蚀刻制造倾斜光栅母版和工作印模)
》
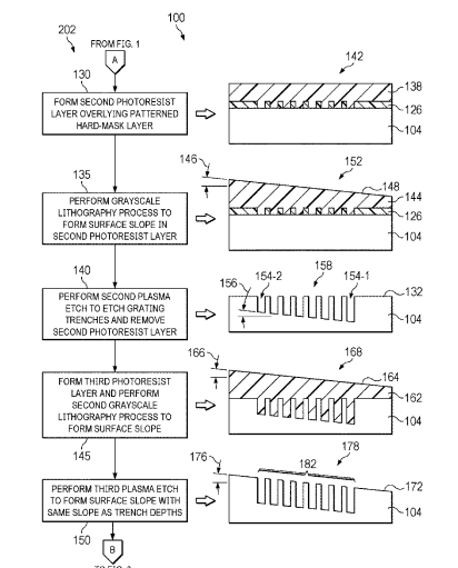
在一个实施例中,专利描述的方法包括提供包括衬底的主工件,并在主工件上执行一系列光致抗蚀剂沉积工艺、灰度光刻工艺和蚀刻工艺,以便在其衬底的工作表面中形成具有倾斜光栅图案的压印复制主工件,倾斜光栅具有与衬底的工作面基本上不正交的侧壁。所述方法同时包括使软印模材料层与压印复制母版的工作表面一致,使得软印模材料具有与倾斜光栅的图案相对应的倾斜突起的图案,并且从软印模材料移除压印复制母版本并固化围绕倾斜突起图案的软印模材料以形成工作印模。
31. 《
Google Patent | Actionable suggestions for activities(谷歌专利:可操作的活动建议)
》
在一个实施例中,专利描述的方法包括接收(i)事件检测模块已经确定特定类型的共享事件当前正在发生或已经发生的指示,以及(ii)引用与共享事件相关联的属性的数据。所述方法包括从各自与不同类型的共享事件相关联的多个输出模板中选择与由模块检测到的特定类型的共享活动相关联的特定输出模板。所述方法至少使用(i)所选择的特定输出模板和(ii)引用与共享事件相关联的属性的数据来生成用于输出的通知。然后,所述方法提供所生成的通知以输出到用户设备。
32. 《
Google Patent | Online calibration of display alignment in a head-worn device(谷歌专利:头戴式设备中显示对齐的在线校准)
》
在一个实施例中,专利描述了用于确定两个惯性测量单元(IMU)的参考系之间的变换的方法。所述变换包括与每个IMU的测量相关联的偏差,并且外部细节可以包括IMU的位置和取向的相对差异。IMU可以机械地耦合到框架,使得它们的运动是相关的。IMU可以耦合到头戴式设备(例如智能眼镜)中的一对显示器,使得可以准确地确定和调整一对立体显示器之间的显示间距,从而匹配用户的眼睛。
33. 《
Samsung Patent | Method for controlling audio setting and wearable electronic device for supporting the same(三星专利:控制音频设置的方法和支持所述方法的可穿戴电子设备)
》
在一个实施例中,可穿戴电子设备可以包括通信电路、扬声器和至少一个处理器。至少一个处理器可以配置为识别可穿戴电子设备的第一用户和外部电子设备的第二用户是否位于同一空间中。至少一个处理器可以配置为基于识别出第一用户和第二用户位于同一空间来控制音频设置,使得不输出通过通信电路从外部电子设备获得的,并且与第二用户的语音相对应的语音信号。所述至少一个处理器可以配置为基于识别出第一用户和第二用户不位于同一空间来控制音频设置,使得通过扬声器输出语音信号。
34. 《
Samsung Patent | Coding of displacements using skew flag for vertex mesh (v-mesh)(三星专利:使用skew flag对顶点网格进行位移编码)
》
在一个实施例中,专利描述的装置包括通信接口和可操作地耦合到通信接口的处理器。处理器配置为形成与位移场相对应的LOD信号。处理器同时配置为识别LOD信号的一个或多个样本。处理器配置为确定一个或多个样本的一组值是具有正skew还是负skew,并设置skew flag。处理器配置为根据所确定的正skew或负skew将该组值转换为一组unsigned symbol。处理器配置为对转换后的值集执行二值化。处理器同时配置为产生输出比特流,包括使用转换和二进制化的值集对LOD信号进行编码以及对输出比特流中的skew flag进行编码。
35. 《
Samsung Patent | Device and methods for managing physical exertions predicted during a vr session(三星专利:用于管理虚拟现实会话期间预测的体力消耗的设备和方法)
》
在一个实施例,专利描述的方法可以包括:确定在VR会话的至少一个VR交互中施加在用户至少一个身体部位上的至少一种身体应力,识别至少一个真实世界设备,在真实世界设备中,用户的至少一个人体部位在至少一个VR交互之后执行至少一个即将到来的真实世界活动,以及改变至少一个识别的真实世界设备的至少一项操作设置,其中至少一种操作设置对应于施加在用户的该至少一个人身部位上的所述至少一种物理应力。
36. 《
Samsung Patent | Head-mounted electronic device and method for operating the same(三星专利:头戴式电子设备及其操作方法)
》
在一个实施例中,专利描述的电子设备包括光学透镜、配置为通过光学透镜显示屏幕的显示模块、配置用于测量显示模块在一个或多个位置处的温度的传感器模块、存储器以及至少一个处理器。当由所述至少一个处理器执行时,所述指令使得所述电子设备控制所述显示模块显示指定屏幕,在显示所述指定屏幕的同时从所述传感器模块获得分别与所述一个或多个位置相对应的至少一个温度,并且基于所获得的至少一种温度,改变所述指定画面的至少一部分的亮度或者基于所获取的至少一项温度改变所述显示模组的显示区域。
37. 《
Samsung Patent | Display device(三星专利:显示设备)
》
在一个实施例中,专利描述的显示设备包括显示面板、数据驱动器和定时控制器,显示面板包括沿着多条像素线布置的像素,每条像素线在第一方向上延伸,数据驱动器向像素施加数据电压,定时控制器控制数据驱动器。数据驱动器包括将数据电压施加到第一像素线的像素并且在第一方向上与显示面板相邻的第一通道,以及将数据电压施加到第二像素线的各像素并且在与第一方向相反的方向上与显示面板相邻的第二通道。
38. 《
Samsung Patent | Device and method for obtaining images in augmented reality(三星专利:增强现实中获取图像的设备和方法)
》
在一个实施例中,专利描述了一种用于向用户推荐电子设备中的定制功能的方法。电子设备获得通过与用户的交互而重复发生的用户手势,并在考虑用户手势的多个可访问功能中确定要向用户建议的一个或多个定制功能。电子设备可以执行用户从一个或多个定制功能中选择的目标定制功能。
39. 《
Samsung Patent | Mesh transformation with efficient depth reconstruction and filtering in passthrough augmented reality (ar) systems(三星专利:在透视AR系统中实现高效深度重建和过滤的网格变换)
》
在一个实施例中,专利描述的方法包括获得由与透视AR设备相关联的成像传感器捕获的环境的图像,以及与图像相关联的位置数据和深度数据。所述方法包括基于图像、位置数据和深度数据生成表示环境的点云;为指定图像生成网格。网格包括网格线交点处的网格点;确定网格的一个或多个网格点的一个或者多个深度;基于网格点的深度将网格从捕获指定图像的指定成像传感器的视点变换为透视AR设备的用户视点;基于变换的网格来渲染指定图像的虚拟视图以供透视AR设备呈现。
40. 《
Samsung Patent | Wearable device for displaying visual object for controlling virtual object and method thereof(三星专利:用于显示用于控制虚拟对象的可视对象的可穿戴设备及其方法)
》
在一个实施例中,可穿戴设备的处理器配置为基于包括显示区域的至少一部分的图像来识别显示区域中的一个或多个虚拟对象的位置。处理器配置为在基于可穿戴设备在包括可穿戴设备的外部空间中的位置而布置的平面上显示叠加在表示一个或多个虚拟对象的一个或更多个视觉对象上的图像。处理器配置为响应于与一个或多个视觉对象相关联的输入来修改一个或更多个虚拟对象。发明与用于增强真实对象和虚拟对象之间的互连的元宇宙服务相关联。例如,元宇宙服务是通过基于5G和/或6G的网络提供。
41. 《
Samsung Patent | Depth edges refinement for sparsely supervised monocular depth estimation(三星专利:用于稀疏监督单目深度估计的深度边缘细化)
》
在一个实施例中,专利描述了用于深度估计的方法。所述方法包括获得图像;使用单目深度估计(MDE)网络生成图像的深度图,其中使用包括由深度边缘估计(DEE)网络所生成的边缘数据的训练数据来训练MDE网络。
42. 《
Samsung Patent | Display device, and wearable device including the same(三星专利:显示设备和包括该设备的可穿戴设备)
》
在一个实施例中,专利描述的显示设备可以包括至少一个显示面板和至少一个多通道透镜,所述显示面板包括多个子显示面板,其中从所述子面板输出的图像彼此延伸以形成单个屏幕图像,所述多通道透镜包括多个子透镜以分别为入射到所述子透镜上的光提供多个通道,其中所述子显示面板分别与所述子镜头相关联,并且所述子显示器面板从参考平面以第一角度倾斜,使得它们的前表面面向相应的子镜头。
43. 《
Samsung Patent | Wearable device and power distribution method in wearable device(三星专利:可穿戴设备和可穿戴设备中的功率分配方法)
》
在一个实施例中,可穿戴设备包括电池、配置为通过使用从所述电池供应的电力来操作的负载电路、连接到所述负载电路的电力输入端子的降压电路、连接至所述负载线路的电力输出端子的升压电路、以及配置为在通过所述降压电路和所述升压电路的操作将来自所述电池的电力分配到电气部件的同时获得第一电力损失值、在将来自电池的电力分布到所述电气部件的电力分布期间获得第二电力损失值的处理器。
44. 《
Sony Patent | Input coupling gratings for waveguide-based displays(索尼专利:波导显示器的耦入光栅)
》
在一个实施例中,专利描述了一种用于基于波导的显示器的耦入光栅(I
CG
),包括接收光的输入区域和多个单元。每个单元包括以节距布置的光子结构。至少一个第一单元的光子结构具有与至少一个第二单元的光结构不同的至少一个结构特性。
45. 《
Sony Patent | Display device and electronic device(索尼专利:显示设备和电子设备)
》
在一个实施例中,专利描述的显示设备包括显示单元,显示单元具有其中布置有多个像素列的显示区域。多个像素列中的每一个都具有布置成环形的多个像素。在显示单元中,多个像素列沿着显示区域的平面方向,以显示区域中的基准位置为中心,同心地布置。在将布置在多个像素列中的预定位置处的像素列定义为参考像素列,并且将形成参考像素列的像素定义为参考象素的情况下,形成布置在参考像素列外侧的像素列的象素具有通过放大参考象素的形状而获得的相似形状。
46. 《
Sony Patent | Information processing apparatus, information processing method, and storage medium(索尼专利:信息处理设备、信息处理方法和存储介质)
》
在一个实施例中,专利描述的信息处理设备包括获取部分和校准处理部分,所述获取部分获取第一估计信息和第二估计信息,所述第一估计信息表示基于与所述显示部分一起由用户佩戴的第一摄像头拍摄的第一拍摄图像而估计的显示部分的位置和姿态,所述第二估计信号表示基于由安装在用户存在的空间中的第二摄像头拍摄的第二拍摄图像而估算的显示部分位置和姿态。
47. 《
Sony Patent | Content control method and system(索尼专利:内容控制方法和系统)
》
在一个实施例中,专利描述的方法包括从用户操作的外设接收一个或多个用户输入,其中用户输入包括一个或更多个非自愿用户输入;修改所述用户输入以减少所述非自愿用户输入的贡献;以及根据修改后的用户输入来调整所显示的内容。
48. 《
Sony Patent | Information processing apparatus, information processing system, and information processing method(索尼专利:信息处理设备、信息处理系统和信息处理方法)
》
在一个实施例中,专利描述的信息处理设备包括控制第一虚拟空间的显示的控制单元,其中,所述控制单元基于用于预测第二操作者对与第一虚拟空间不同的第二虚拟空间的操作的预测信息来控制与第二操作者相对应的化身的运动,所述第二虚拟区域对应于所述第三操作者。
49. 《
Magic Leap Patent | Athermalization concepts for polymer eyepieces used in augmented reality or mixed reality devices(Magic Leap专利:增强现实或混合现实设备中使用的聚合物目镜的非热化概念)
》
在一个实施例中,专利描述的显示系统包括框架、耦合到框架的目镜、以及设置在框架和目镜之间的第一粘合剂。目镜可以包括光输入区域和光输出区域。第一粘结可以沿着目镜的周边的第一部分设置,其中目镜的周边第一部分与光输入区域边界,使得第一粘结配置为保持光输入区域相对于框架的位置。
50. 《
Magic Leap Patent | Optical devices and head-mounted displays employing tunable cylindrical lenses(Magic Leap专利:采用可调谐柱面透镜的光学设备和头戴式显示器)
》
在一个实施例中,专利描述了面内切换模式液晶几何相位可调谐透镜,其可以集成到光学设备的目镜中并用于校正非正视视觉,例如在增强现实显示系统中。目镜可以包括相对于用于向用户投影数字图像的光学器件,光学器件能够为用户提供可调谐的Rx,包括可变球面折射率(SPH)、柱面折射率和柱面轴值。在特定配置中,每个可调谐目镜包括两个可变复合透镜:一个在波导的用户侧,第二个在波导的世界侧。
51. 《
Magic Leap Patent | Virtual, augmented, and mixed reality systems and methods(Magic Leap专利:虚拟现实、增强现实和混合现实系统和方法)
》
在一个实施例中,用于显示3D图像的方法包括渲染一帧3D图像数据;分析3D图像数据的帧以生成最已知的深度数据;使用最已知的深度数据将3D图像数据分割成分别对应于近深度和远深度的2D图像数据的近帧和远帧;向用户分别显示与处于近深度和远深度的2D图像数据的近帧和远帧相对应的近2D图像帧和远2D图像帧。
52. 《
Magic Leap Patent | Systems and methods for virtual and augmented reality(Magic Leap专利:用于虚拟现实和增强现实的系统和方法)
》
在一个实施例中,专利描述了一种促进第一用户和第二用户之间的通信的计算机实现方法,包括通过第一头戴式设备向第一用户显示第一虚拟对象,通过第二头戴设备向佩戴第二头佩戴设备的第二用户显示第二虚拟对象,通过第一和第二头戴设备,使用第一和第二虚拟对象来模拟第一和第二用户出现在共同环境中,从而促进第一和第二用户之间的通信。
53. 《
Snap Patent | Wearable electronic device with articulated joint(Snap专利:带关节的可穿戴电子设备)
》
在一个实施例中,专利描述的可穿戴设备可以包括框架、细长边撑和关节。框架可以限定一个或多个光学元件保持器,其配置为保持相应的光学元件以供用户在观看方向上观看。边撑可以可移动地连接到框架,用于在用户佩戴设备时将框架保持在适当位置。铰接接头可以连接边撑和框架,以允许边撑相对于框架在可穿戴位置和折叠位置之间移动,在可穿戴的位置边撑通常与观看方向对齐,在折叠位置边撑大致横向于观看方向延伸。铰接接头可以包括固定到框架上并横向于观察方向定向的基脚。
54. 《
Snap Patent | Eyewear with strain gauge estimation(Snap专利:带应变仪估算的眼镜)
》
在一个实施例中,专利描述的眼镜包括集成到眼镜框架中的传感器。在一个示例中,传感器包括应变仪,例如金属箔应变仪,其配置为通过测量框架弯曲时的应变来感测和测量框架在用户佩戴时以及在不同的力分布下的变形。由应变仪测量的应变由处理器感测,并且处理器基于测量的应变执行图像处理的动态校准。由应变仪测量的失真由处理器用于校正摄像头和显示器的校准。
55. 《
HTC Patent | Antenna structure capable of transmitting a wigig band and head-mounted wireless transmission display device(HTC专利:可传输WiGi波段的天线结构和头戴式无线传输显示设备)
》
在一个实施例中,专利描述了一种用于传输WiGig频带的天线结构。天线结构包括至少两个主体部分,每个主体部分具有至少一个信号收发端,主体部分分别布置在显示屏的左侧和右侧,主体部分的信号收发端分别从显示屏的左侧、右侧向外延伸。
56. 《
HTC Patent | Head-mounted display device, tracking system, and tracking method(HTC专利:头显设备,追踪系统和追踪方法)
》
在一个实施例中,专利描述的头戴式显示设备包括摄像头、控制器和显示器。摄像头配置为获得用户周围环境的环境图像。控制器配置为从环境图像中提取多个特征点,并基于多个特征点将用户的用户姿势的分析结果输出。显示器配置为基于分析结果显示环境图像。
57. 《
Nintendo Patent | Object-based audio spatializer(任天堂专利:基于对象的音频空间化器)
》
在一个实施例中,3D声音空间化器提供延迟补偿的HRTF插值技术和当前和延迟的HRTF滤波器结果之间的有效交叉衰落,以减轻由HRTF滤波器之间的插值和时变HRTF滤波器的使用引起的伪影。