/ Nweon / 0浏览

2024年05月06日美国专利局新申请AR/VR专利摘选

(映维网资讯)近期美国专利及商标局公布了一批全新的AR/VR专利,以下是映维网的整理(详情请点击专利标题),一共5篇6。更多专利披露请访问映维网专利板块
https://patent.nweon.com/
进行检索,你同时可以加入映维网AR/VR专利交流微信群(详见文末)。


1. 《
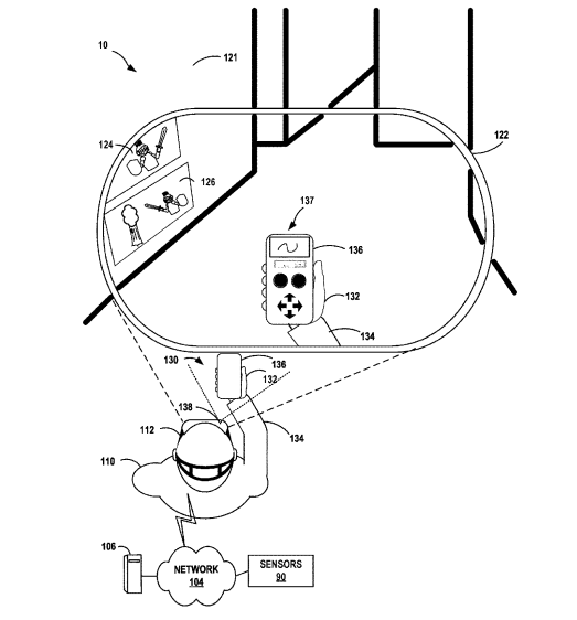
Meta Patent | Ambient coworking with avatars(Meta专利:Avatar的环境协同)

在一个实施例中,专利描述了用于提供用户之间的通信的智能通信方法。所述方法通过增强现实化身来显示用户的可用性。系统可以通过检测用户相对于设备的运动和位置来确定可用性。系统同时可以利用具有面部表情追踪的增强现实化身来确定隐私视频呼叫的可用性。系统可以指向配置用于各种动作的视频通信设备,例如增强现实。


2. 《
Meta Patent | Virtual devices in the metaverse(Meta专利:元宇宙中的虚拟设备)

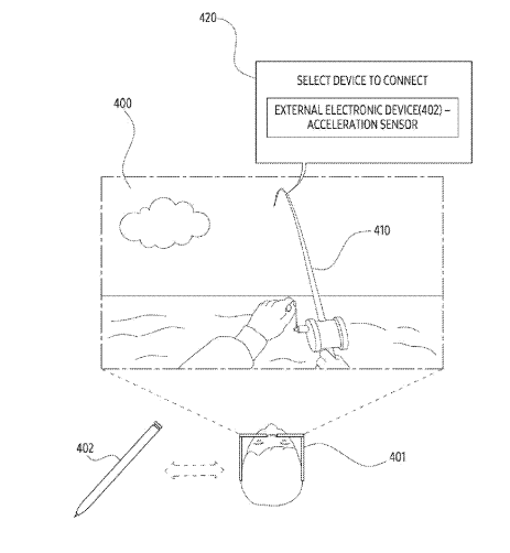
在一个实施例中,用户佩戴的人工现实头戴式设备可以在虚拟环境中向用户呈现虚拟移动设备的虚拟移动应用程序。虚拟移动应用程序是物理移动设备的操作系统所固有的移动应用程序的虚拟表示。移动应用程序可以托管在操作系统的虚拟机,操作系统可以不同于人工现实头显的操作系统。用户可以在三维空间中与虚拟移动应用程序进行交互。人工现实设备可以将交互转换成移动应用程序可以理解的与移动应用程序兼容的数据。移动应用程序兼容的数据随后被发送到本地应用程序进行处理。


3. 《
Meta Patent | Transmitting three-dimensional objects via messenger(Meta专利:通过信使传输三维对象)

在一个实施例中,专利描述了用于通过消息传递应用程序传输3D对象的方法。示例性实现可以:在运行消息收发应用程序的第一设备处接收来自第二设备的消息;将所述3D对象导入到所述第一设备的用户的个人帐户;并在消息应用程序中显示3D对象。


4. 《
Meta Patent | Key generation using entropy harvesting from embedded sram arrays(Meta专利:使用嵌入式SRAM阵列的熵获取生成密钥)

在一个实施例中,专利描述的测试系统包括一个或多个处理器;以及存储指令的存储器,所述指令在被执行时使得所述一个或多个处理器:在具有多个阵列的片上系统(SoC)的SRAM的每个阵列上执行一个或更多个测试以确定所述阵列中的一个或更多个偏置单元,基于所述阵列的一个或者更多个偏置单元为所述SRAM的每一个阵列生成偏置特性,比较所述多个阵列中的每一者的偏置特性,根据所述比较选择所述多个子阵列中的阵列作为物理不可控制函数(PUF)阵列,并且将所述PUF阵列的标识符存储到所述SoC的存储器中。


5. 《
Meta Patent | Antenna system with conductive shielding and loss mitigation(Meta专利:具有导电屏蔽和损耗减轻功能的天线系统)

在一个实施例中,专利描述的系统可以包括外壳内的印刷电路板(PCB)。所述系统同时可以包括固定到PCB上方的外壳上层的第一天线,以及固定到PCB下方的外壳下层的第二天线。系统同时可以包括去耦开关,去耦开关通过PCB将第一天线连接到第二天线。去耦开关可以在发送或接收指定最小频率以上的信号时选择性地耦合第一天线和第二天线,并且可以在发送和接收指定最大频率以下的信号时去耦第一天线与第二天线。


6. 《
Meta Patent | Systems and methods for providing user experiences on ar/vr systems(Meta专利:在AR/VR系统上提供用户体验的系统和方法)

在一个实施例中,AR/VR系统包括安装在AR/VR的
社交
网络应用程序。AR/VR系统同时包括AR/VR应用程序,其允许用户通过各种方式向AR/VR程序提供用户输入,从而与AR/VR平台进行交互。基于用户输入,AR/VR平台生成响应,并将生成的响应发送到AR/VR应用程序,然后应用程序通过各种模态在AR/VR系统处向用户呈现响应。


7. 《
Meta Patent | Designing and optimizing adaptive shortcuts for extended reality(Meta专利:为扩展现实设计和优化自适应快捷方式)

在一个实施例中,可以收集用户在一段时间内在一个或多个扩展现实环境中的个性化使用数据并将其提供给预测模型,以确定用于呈现给用户和随后由用户使用的最佳快捷方式分配。确定最佳快捷方式分配可以包括估计用户在一个或多个扩展现实环境中的多个交互时间,在一个或者多个扩展真实环境内生成优化的图形用户界面,以及向用户呈现一个或者更多个扩展现实场景中的优化的图形使用者界面。系统可以收集额外的个性化使用数据,并基于用户正在进行的系统使用来定期更新最佳快捷方式分配。


8. 《
Meta Patent | Generating super resolution images using duo-camera artificial reality device(Meta专利:使用双摄像头人工现实设备生成超分辨率图像)

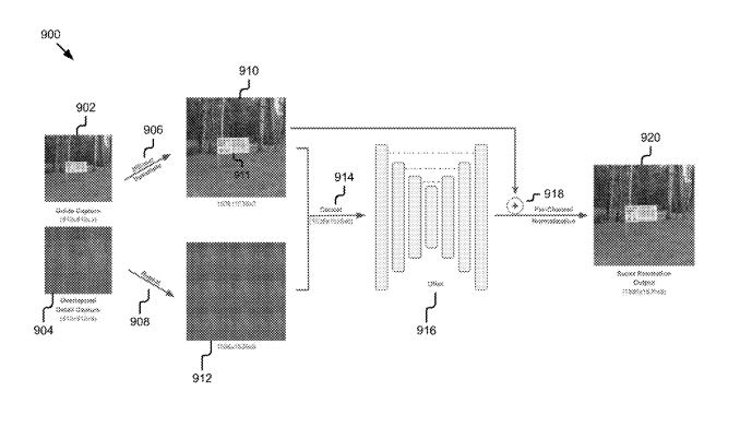
在一个实施例中,计算系统可以使用人工现实设备的第一摄像头来捕捉场景的第一图像。系统可以使用第二摄像头和人工现实设备的一个或多个光学元件来捕捉场景的第二图像。第二图像可以包括场景的多个移位副本的重叠部分。系统可以通过将特定采样技术应用于第一图像来生成上采样的第一图像。系统可以通过对第二图像应用平铺处理来生成包括多个重复的第二图像的平铺图像。系统可以通过使用机器学习模型处理上采样的第一图像和拼接图像来生成初始输出图像。系统可以通过使用上采样的第一图像对初始输出图像进行归一化来生成最终输出图像。


9. 《
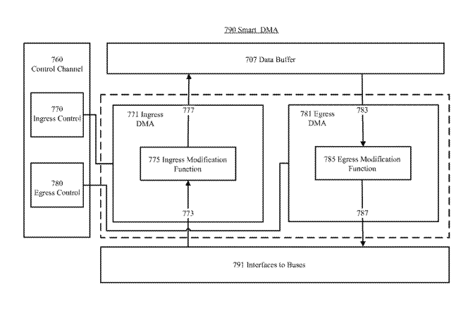
Meta Patent | Transferring non-contiguous blocks of data using instruction-based direct-memory access (dma)(Meta专利:使用基于指令的直接存储器访问传输非连续数据块)

在一个实施例中,专利描述的方法用于在不被机器学习加速器内的直接存储器访问重新编程的情况下,通过n维循环将多个不连续的数据块从源存储器迭代地传送到目的地存储器。所述方法包括:由机器学习加速器中的直接存储器存取的入口组件从源存储器的第一地址读取第一数据块,利用入口修改功能处理第一数据块并将第一数据块存储到数据缓冲器的第二地址,以及由出口组件从数据缓冲器的三地址读取第二数据块,用出口修改功能处理第二数据区块,以及将第二块存储到目的存储器的第四地址。机器学习加速器内的直接存储器访问。


10. 《
Meta Patent | Code scanning via augmented reality device(Meta专利:通过增强现实设备进行代码扫描)

在一个实施例中,专利描述了一种基于代码扫描的虚拟对象交互方法。所述方法包括在第一设备处扫描打印在用户视场(FOV)内的物理现实中的对象上的代码。基于代码访问与该对象相关联的网络站点。基于网络站点生成包括至少一个虚拟对象的虚拟内容。在第一设备中显示虚拟内容。响应于来自用户的手势来导航虚拟内容。


11. 《
Meta Patent | Bidirectional ratchet for adjusting strap on virtual reality headset(Meta专利:用于调节虚拟现实头显带子的双向棘轮)

在一个实施例中,专利描述了一种用于防滑旋钮棘轮的双向棘轮,以调节用于将虚拟现实头显固定到用户头部上的带长度。在双向棘轮可以包括第一棘爪,第一棘爪构造成与外壳中的固定棘轮鼓接合,以允许小齿轮沿顺时针方向运动。双向棘轮可包括第二棘爪,第二棘爪构造成与固定棘轮鼓接合以允许小齿轮沿逆时针方向运动。


12. 《
Meta Patent | 3d print microstructures for ar waveguide packaging and protection(Meta专利:用于AR波导封装和保护的3D打印微结构)

在一个实施例中,专利描述了与定位在光学衬底之间的微间隔件。堆叠光学组件包括具有大于1.4的第一折射率的第一光学基板、具有大于1.4并相对于第一光学基板设置在堆叠位置的第二光学基板、以及定位在第一光学基板和第二光学基板之间的多个微间隔件。多个微间隔物可以在第一光学基板和第二光学基板之间保持具有间隙高度的间隙。多个微间隔物可以固定地附接到第一光学基板,第二光学基板,或者第一光学基材和第二光学基材两者。


13. 《
Meta Patent | Light-emitting array with reflective polarizer for photon recycling(Meta专利:用于光子回收的带反射偏振器的发光阵列)

在一个实施例中,照明组件可以包括光源和与光源重叠的反射偏振器。入射在反射型偏振器上的光的一部分可以不穿过反射型偏转器,并且可以反射回光源。反射偏振器可以包括交替的第一层和第二层的聚合物双折射多层结构。第一层可以各自包括各向同性聚合物薄膜,第二层可以各自包含各向异性聚合物薄膜。


14. 《
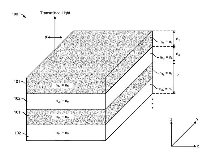
Meta Patent | Wavelength band selective filters for ar/vr systems(Meta专利:用于AR/VR系统的波段选择性滤波器)

在一个实施例中,专利描述的陷波滤波器包括具有交替的第一和第二聚合物层的多层,第一聚合物层各自包括具有面内折射率n1x和n1y的各向同性聚合物薄膜,第二聚合物膜各自包括具有平面内折射率n2x和n2y的各向异性或各向异性聚合物薄膜,其中每个连续的第一聚合物层的厚度随着距多层的中心线的距离的增加而减小,并且每个连续的第二聚合物层层的厚度随着离中心线的距离的增加而增加。这样的滤波器可以配置为反射在预定且相对窄的频带内具有期望偏振状态的入射光。


15. 《
Meta Patent | Polymer materials including coated nanovoids and methods and systems for forming the same(Meta专利:包括涂层纳米空隙的聚合物材料及其形成方法和系统)

在一个实施例中,基于纳米空隙聚合物的材料可以包括限定多个纳米空隙的本体聚合物材料和设置在多个纳米孔隙中的每一个与本体聚合物材料之间的界面处的界面膜。界面膜可以包括一层或多层材料。一种形成纳米空隙聚合物基材料的方法可以包括形成限定多个纳米空隙的本体聚合物材料,以及在多个纳米孔隙中的每一个与本体聚合物材料之间的界面处形成界面膜。


16. 《
Microsoft Patent | Image alignment using staggered feature extraction(微软专利:使用交错特征提取的图像对准)

在一个实施例中,专利描述了用于在由第一摄像头生成的第一图像和由第二摄像头生成的第二图像之间执行图像对准的技术。使用交错特征提取来执行图像对准,其中重用一组特征以将第二图像与第一图像对准。从第一图像内识别第一组特征,并且访问先前在第二图像内检测到的第二组特征。通过使用第一组特征并通过重用第二组特征以将第一图像与第二图像对准来执行当前图像对准操作。


17. 《
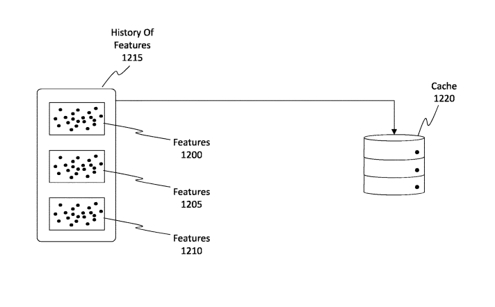
Microsoft Patent | Aggregating features from multiple images to generate historical data for a camera(微软专利:聚合多个图像的功能以生成摄像头的历史数据)

在一个实施例中,专利描述了用于从摄像头生成的多个图像生成集合特征的技术。访问由摄像头生成的第一图像,其中第一图像是在第一时间生成的。从第一图像内识别出第一组特征。访问由摄像头生成的第二图像,其中在随后的第二时间生成第二图像。从第二图像内识别第二组特征。获取运动数据。移动数据详细描述了摄像头在第一次和第二次之间的移动。运动数据用于重新投影在第一图像中体现的姿势以对应于在第二图像中体现出的姿势。聚合这两组特征以生成聚合的特征集。然后缓存摄像头的聚合特征集。


18. 《
Apple Patent | Immersive video streaming using view-adaptive prefetching and buffer control(苹果专利:使用视图自适应预取和缓冲区控制的沉浸式视频流式传输)

在一个实施例中,专利描述的系统获得表示在显示时间显示的沉浸式视频内容的数据集,包括根据第一细节级别表示内容的第一数据和根据第二更高细节级别表示内容的第二数据。在显示时间之前的一个或多个第一时间期间,系统使第一数据的至少一部分存储在缓冲器中。在显示时间之前的一个或多个第二时间期间,系统生成用于在显示时间向用户显示内容的视口的预测,识别与视口的预测相对应的第二数据的一部分,并且使得第二数据中识别的部分存储在视频缓冲器中。在显示时,系统使得使用视频缓冲器向用户显示内容。


19. 《
Apple Patent | Packet framing for application data unit transmission(苹果专利:用于应用数据单元传输的数据包成帧)

在一个实施例中,AS层可以包括在用户平面协议栈和控制平面协议栈中组织的各种层。用户平面协议栈可以包括服务数据自适应协议、PDCP、无线电链路控制、媒体访问控制和PHY层。控制平面协议栈可以包括无线电资源控制(RRC)、PDCP、RLC、MAC和PHY。


20. 《
Apple Patent | Remote device input entry(苹果专利:远程设备输入输入)

在一个实施例中,用户设备可以使用增强的透视观看显示模式,经由由远程设备显示的输入控件来接收输入。例如,增强型显示模式可以使得比正常显示器更大的显示器能够增强与关于用户设备的输入条目相关联的显示模式属性。可以基于诸如距离、透镜失真、照明等情景来启用显示模式属性。


21. 《
Apple Patent | Support for head-mountable device(苹果专利:头戴式设备的支撑)

在一个实施例中,专利描述了一种头戴式设备。头戴式设备可包括头部固定元件,头部固定元件具有接合使用者头部的支撑元件。支撑元件可以连接到头戴式设备的框架或光密封模块。


22. 《
Apple Patent | Virtual object placement based on referential expressions(苹果专利:基于引用表情的虚拟对象放置)

在一个实施例中,接收包括参考虚拟对象的语音输入。基于语音输入,获得第一参考集。然后将第一参考集合与多个第二参考集合进行比较。基于比较,从多个第二参考集合中获得第二参考集。可以基于第一参考集和第二参考集之间的匹配分数来识别第二参考集合。然后基于第二参考集合来识别对象。基于所识别的对象,显示参考虚拟对象。


23. 《
Apple Patent | Signaling displacement data for video-based mesh coding(苹果专利:基于视频的网格编码信号位移数据)

在一个实施例中,专利描述的系统包括编码器,编码器配置为压缩和编码三维网格的数据。为了压缩三维网格,编码器确定要应用于基础网格的细分位置的位移。位移值可以在它们自己的子比特流中用信号通知。


24. 《
Apple Patent | Identifying objects using spatial ontology(苹果专利:使用空间本体识别物体)

在一个实施例中,获得设置的表示。基于设置的表示来检测第一对象,并且检索一组标识符。响应于检测到设置的表示的改变,基于第一组定义来修改标识符的集合。接收与设置的表示相关联的用户输入,并且基于修改的标识符集合,确定与用户输入相对应的用户意图。


25. 《
Apple Patent | Multi-modal tracking of an input device(苹果专利:输入设备的多模态追踪)

在一个实施例中,示例过程可以包括基于来自图像传感器的第一传感器数据来确定追踪设备在物理环境中的姿势。然后可以从追踪设备接收与物理环境中的追踪设备和输入设备之间的第一相对定位相对应的第一位置数据,其中第一位置数据是基于经由跟踪设备上的传感器获得的第二传感器数据来确定。然后可以至少部分地基于第一位置数据和追踪设备的姿态来追踪输入设备在物理环境中的移动。然后可以至少部分地基于追踪输入设备的移动来确定电子设备的输入。


26. 《
Apple Patent | Managing devices having additive displays(苹果专利:管理具有附加显示器的设备)

在一个实施例中,头显设备包括在视场上延伸并且具有第一分辨率的主显示器,以及物理地和电子地耦合到主显示器并且具有低于第一分辨率的第二分辨率的辅助显示器。专利描述的方法包括:经由第二显示器显示虚拟对象的第一部分;以及经由所述主显示器显示所述虚拟对象的第二部分。其中第二部分包括:根据虚拟对象的所述第一部分在距所述主要显示的边缘预定距离内的确定,将视觉效果应用于所述虚拟目标的所述二部分。


27. 《
Samsung Patent | Augmented reality apparatus and method for providing vision measurement and vision correction(三星专利:用于提供视力测量和视力矫正的增强现实设备和方法)

在一个实施例中,专利描述了一种由AR设备执行的测量用户视觉的方法。所述方法包括:通过使用AR设备的摄像头获得包括至少一个物理对象的图像的背景图像;识别所述背景图像中的所述至少一个物理对象的图像的边缘;基于所述图像的边缘来确定用于测量所述用户在所述背景图像上的视觉的第一区域;在所述AR设备的显示器上确定与所述第一区域相对应的第二区域;向所述第二区域输出用于测量所述用户的视觉的虚拟对象;在输出所述虚拟对象之后获得用于视觉测量的用户输入信号;以及基于用户输入信号确定用户的视力处方值。


28. 《
Samsung Patent | Wearable electronic device including display module(三星专利:包括显示模块的可穿戴电子设备)

在一个实施例中,专利描述的可穿戴电子设备包括壳体和设置在所述壳体上的至少一个显示模块,其中所述显示模块包括固定镜筒、旋转镜筒、第一透镜模块、显示器、第二透镜模块。第一透镜模块固定到所述固定筒的主体部,与所述固定镜筒结合以覆盖所述第一透镜模块,第二透镜模块插入到所述固定镜筒的主体部分中以面对所述第一透镜模块,与所所述旋转筒接合,并且配置为当所述旋转镜筒相对于所述固定的镜筒旋转时相对于所述第一透镜模块在第一轴线方向上移动。设备同时包括发光构件,以及
眼动追踪
模块。


29. 《
Samsung Patent | Wearable electronic device comprising wheel(三星专利:包含轮子的可穿戴电子设备)

在一个实施例中,专利描述的可佩戴电子设备包括外壳、处理器和输入结构,外壳包括容纳透明构件的透镜框和佩戴构件,佩戴构件的至少一部分配置为相对于透镜框移动,处理器位于外壳内部,输入结构包括轮,轮配置为调节佩戴构件相对于透镜框的位置。处理器配置为基于使用输入结构获得的信号来执行指定的操作。


30. 《
Samsung Patent | Wearable device for executing application based on information obtained by tracking external object and method thereof(三星专利:用于基于通过跟踪外部对象获得的信息执行应用程序的可穿戴设备及其方法)

在一个实施例中,专利描述了一种可穿戴设备的处理器。处理器可以通过使用摄像头来识别包括在显示器的显示区域中的外部对象。处理器可以基于外部对象在显示区域中的位置来显示表示与外部对象相对应的应用的第一视觉对象。当显示第一视觉对象时,处理器可以获得与在平面上移动的外部对象的路径相关联的第一信息或包括由外部对象绘制的至少一个笔划的第二信息中的至少一者。处理器可以根据分配给外部对象的属性,基于位置,通过使用在第一信息或第二信息中选择的信息来显示用于执行应用的第二视觉对象。


31. 《
Samsung Patent | Display panel and electronic apparatus(三星专利:显示面板和电子设备)

在一个实施例中,专利描述的显示面板包括沿第一方向延伸的第一边缘、沿与所述第一方向相交的第二方向延伸的第二边缘、以及从所述第一边缘向所述第二边缘以弯曲形状延伸的角边缘。所述显示面板包括:包括与所述显示板的中心重叠的前区域和从所述前区域向所述角边缘延伸的角区域的基板;以及布置在所述基板之上的像素。


32. 《
Samsung Patent | System and method for surface properties reconstruction and positioning of digitized 3d objects(三星专利:用于数字化三维对象表面特性重建和定位的系统和方法)

在一个实施例中,专利描述了一种用于生成包括一个或多个3D对象的虚拟场景的方法。所述方法包括创建真实世界3D场景的3D模型,通过物理摄像头捕获真实世界3D情景的图像以获得捕获的图像,创建物理摄像头的数字摄像头模型,使用基于物理的渲染软件基于数字摄像头模型渲染包括虚拟3D对象的虚拟3D场景以获得虚拟图像,以及最小化捕获的图像和虚拟图像之间的相异范数以优化虚拟3D对象在虚拟3D场景中的位置和表面参数。


33. 《
Samsung Patent | Electronic device and method for controlling thereof(三星专利:电子设备及其控制方法)

在一个实施例中,专利描述的电子设备包括显示器、通信器、存储器和处理器,所述处理器配置为基于与用户的优选内容相对应的信息来获得与提供给所述显示器的内容对应的多个图像,所述信息是基于通过所述通信器发送到服务器的所述多个图像而获得的,控制所述显示器以提供用于进入与所述优选内容对应的元宇宙空间的用户界面,并且基于通过所所述用户姐买你输入的用于进入所述元宇宙空间的用户命令来控制所述显示设备,以显示基于通过通信器从所述服务器接收的与所述元世界空间相对应的数据的屏幕。


34. 《
Samsung Patent | Electronic device for providing information on virtual space and method thereof(三星专利:用于提供虚拟空间信息的电子设备及其方法)

在一个实施例中,处理器配置为基于从一个或多个传感器输出的数据来识别指定事件。处理器配置为响应于识别出指定事件的发生,向经由通信电路连接的外部电子设备发送请求与指定事件和由外部电子设备提供的虚拟空间两者相关联的信息的第一信号。处理器配置为通过基于从外部电子设备接收到与第一信号相对应的第二信号来控制显示器,在可由不同于第一应用程序的第二应用程序执行的状态下提供包括在第二信号中的信息,从而显示虚拟空间。


35. 《
Samsung Patent | Method and device for generating depth map(三星专利:生成深度图的方法和设备)

在一个实施例中,用于生成深度图的方法包括获取包括反射物体或半透明物体的场景的至少一个图像,从所述至少一幅图像获取第一深度图,所述第一深度图包括由所述反射物体反射的或通过所述半透明物体观察的至少一种不透明物体的深度值,从所所述至少1幅图像获取第二深度图,基于所获取的第一深度图和所获取的第二深度图来生成所述场景的深度图。


36. 《
Samsung Patent | Electronic device for using external device in metaverse and method thereof(三星专利:用于在元宇宙中使用外部设备的电子设备及其方法)

在一个实施例中,专利描述的电子设备包括显示器、通信模块以及可操作地连接到所述显示器和所述通信模块的至少一个处理器,其中,所述至少一个处理程序配置为激活虚拟现实(VR)应用程序。在执行所述VR应用程序时,基于显示与通过通信模块连接的第一外部设备相关的VR内容来识别包括在VR内容中的至少一种标记图像,基于包括在至少一种标志图像中的账户信息和所述VR应用程序的账户信息的匹配,基于所述至少种标志图像来识别用于镜像所述第一外部设备的屏幕的区域,并且在所述区域上显示所述第一外部设备的屏幕。


37. 《
Samsung Patent | Wearable device displaying visual object using sensor in external electronic device and method thereof(三星专利:在外部电子设备中使用传感器显示视觉对象的可穿戴设备及其方法)

在一个实施例中,专利描述的可穿戴设备包括:通信电路;显示器;以及处理器,其中所述处理器配置为:在所述显示器中显示视觉对象;基于用户选择视觉对象的输入,确定与视觉对象相关联的传感器;在通过所述通信电路连接到所述可穿戴设备的多个外部电子设备中,识别包括与所述视觉对象相关联的所述传感器的外部电子设备;向所识别的外部电子设备发送用于请求与所述传感器相关联的第一信息的第一信号;接收包括与所述传感器相关联的所述第一信息的第二信号;基于所述第一信息来更新所述视觉对象;并且在显示器中显示更新的视觉对象。


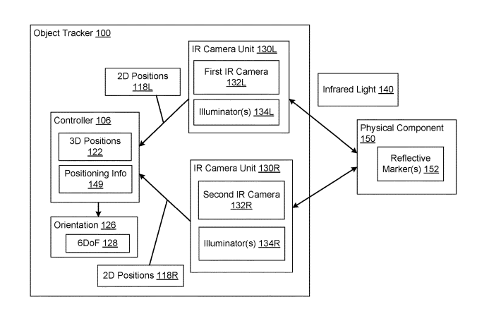
38. 《
Google Patent | Infrared camera-based 3d tracking using one or more reflective markers(谷歌专利:使用一个或多个反射标记的基于红外摄像头的三维追踪)

在一个实施例中,专利描述的方法可以包括接收物理部件的第一反射标记或第二反射标记中的至少一个的2D位置,基于所述2D位置估计所述第一反射标记的3D位置和所述第二反射标记的3D位置,以及基于所述第一反映标记的3D位置、所述第二反射标记的3D定位以及所述第一和第二反射标志在所述物理部件中的定位信息来计算所述物理部件在3D空间中的定向。


39. 《
Google Patent | Providing suggested voice-based action queries(谷歌专利:提供建议的基于语音的动作查询)

在一个实施例中,专利描述的方法可以有助于用户发现各种基于语音的动作查询,基于语音的行为查询可以作为说出的输入提供给计算设备以发起计算机动作,而基于计算机的行动特定化为用户在计算设备查看或以其他方式消费的内容。


40. 《
Google Patent | Learned volumetric attribute compression using coordinate-based networks(谷歌专利:使用基于坐标的网络学习体积属性压缩)

在一个实施例中,示例系统执行的操作包括获得参考数据集,参考数据集包括由多维坐标的域索引的属性;将所述域细分为分别与多个属性子集相关联的多个块;向局部非线性算子输入与所述多个块中的至少一个块相关联的属性子集的latent表示;使用所述局部非线性算子并基于所述latent表示来获得所述属性子集的一个或多个属性的属性表示;以及基于属性表示和参考数据集的比较来更新latent表示。


41. 《
Qualcomm Patent | Predictive geometry coding of point cloud(高通专利:点云的预测几何编码)

在一个实施例中,专利描述的设备包括配置为存储点云数据的存储器和配置为将点云数据中的第一点确定为第一预测树分支的第一节点的一个或多个处理器。一个或多个处理器配置为确定点云数据的第一点和第二点之间的第一方位差不满足第一方位阈值,并且基于确定,将第二点确定为第一预测树分支的第二节点。所述一个或多个处理器配置为确定所述点云数据的第三点与所述点云中的第四点之间的第二方位差满足所述第一方位阈值,并且基于所述确定将所述第四点确定为第二预测树分支的第一节点。


42. 《
Qualcomm Patent | Uplink and downlink traffic alignment for power savings(高通专利:上行链路和下行链路流量对齐以实现节能)

在一个实施例中,用户设备(UE)可以从基站接收标识上行链路和下行链路传输机会的信息,其中所述信息至少部分地基于来自应用服务器的下行链路流量。UE可以经由跨层应用编程接口(API)将上行链路和下行链路传输机会传送到连接到UE的应用客户端。UE可以在上行链路和下行链路传输机会中的一个或多个中传输包括来自应用客户端的业务的一个或者多个上行链路通信。


43. 《
Qualcomm Patent | Dynamic distributed extended reality compute(高通专利:动态分布式扩展现实计算)

在一个实施例中,用户设备(UE)可以至少部分地基于一个或多个参数来确定与XR设备相关联的XR数据的XR计算位置,其中该XR计算位置对应于UE、XR设备或与XR数据相关联的应用服务器。UE可以选择性地向网络节点发送XR计算位置的指示。


44. 《
Qualcomm Patent | Identifying and marking video data units for network transport of video data(高通专利:识别和标记用于视频数据网络传输的视频数据单元)

在一个实施例中,用于检索媒体数据的示例设备包括存储器;以及包括在电路中实现的一个或多个处理器的处理系统。所述处理系统配置为:接收包括packet header和包括视频数据帧的至少一部分的有效载荷的分组,所述packet header与所述有效载荷分离;从packet header中提取视频数据帧的视频帧标识符;并根据视频帧标识对有效载荷进行处理。


45. 《
Qualcomm Patent | Adjusting communication link for user behavior in application(高通专利:为应用程序中的用户行为调整通信链路)

在一个实施例中,专利描述的无线通信设备可以至少部分地基于XR应用所呈现的当前内容来预测用户设备(UE)的扩展现实(XR)应用中的用户行为。无线通信设备可以至少部分地基于预测的用户行为来预测UE的通信链路的信道信息。无线通信设备可以至少部分地基于预测的信道信息来调整通信链路的一个或多个参数。


46. 《
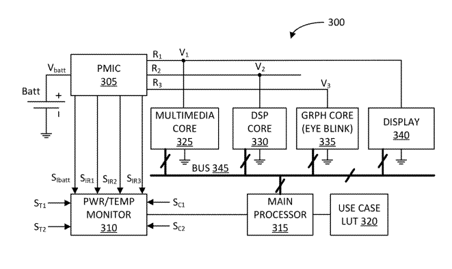
Qualcomm Patent | Inducing eye blinking associated with victim throttling for improved user experience(高通专利:诱导与victim throttling相关的眨眼以改善用户体验)

在一个实施例中,专利描述的可穿戴设备包括:显示器;耦合到所述显示器的一个或多个电路;配置为对所述一个或多个电路的操作进行节流的处理器;并且使所述显示器生成引起与所述一个或多个电路操作的节流相关联的用户眨眼的图像。


47. 《
Qualcomm Patent | Adaptive configured grant allocation parameters for energy harvesting devices and xr applications(高通专利:用于能量采集设备和XR应用的自适应配置授权分配参数)

在一个实施例中,专利描述的设备可以配置为在第一无线设备处发送多个周期性资源集的活动周期性资源组的最大数量的第一指示,其中所述多个周期资源集配置为用于在第一无线设备和第二设备之间进行通信,接收所述多个子周期性资源集中的第一状态的第二指示,并且基于第一无线设备的功率相关特性,发送对所述多多个子周期资源集的第一状态进行更新的第三指示。


48. 《
Snap Patent | Augmented reality physical card games(Snap专利:增强现实实体卡牌游戏)

在一个实施例中,用于AR物理纸牌游戏的系统。示例捕获真实世界场景的用户视图的图像,并处理图像以确定图像内物理卡的位置和代码。根据代码确定卡片的套印格式。AR图形组件在AR可穿戴设备的显示器上显示根据用户视图调整的叠加。叠加可以是图像、动画或视频。纸牌游戏下载到AR可穿戴设备。纸牌游戏包括记录比分、协助比赛和确保公平比赛的规则。纸牌游戏包括可以在玩家之间共享的用户界面。


49. 《
Snap Patent | Display for augmented reality or virtual reality(Snap专利:用于AR或VR的显示器)

在一个实施例中,第一和第三输入光栅分别从第一和第二投影仪接收第一颜色的光,将光耦合到第一波导中。第二和第四输入光栅分别从第一和第二投影仪接收第二颜色的光,将光耦合到第二波导中。输出衍射光学元件将光从波导向外耦合到查看位置。第一投影仪和第二投影仪在分别与波导法向矢量成第一角度和第二角度的方向上向输入衍射光学元件提供光。输出衍射光学元件将来自第一投影仪的光在第一角度范围内和来自第二投影仪的光的第二角度范围内的光耦合出波导,第一角度范围和第二角度区域不同但部分重叠。


50. 《
Snap Patent | Generating user interfaces displaying augmented reality content(Snap专利:生成显示增强现实内容的用户界面)

在一个实施例中,专利描述了一种AR植物内容系统。AR植物内容系统可以检测现实世界场景中与植物相对应的对象。AR植物内容系统可以生成植物的护理指令,护理指令包括被显示为真实世界场景的叠加的AR图形。AR植物内容系统同时可以追踪真实世界场景中对象的运动,以确定植物护理事件已经发生,例如给植物浇水或修剪植物。可以产生植物清单,其包括对应于一个或多个用户的植物的护理说明和植物护理事件的日志。


51. 《》

在一个实施例中,专利描述的系统通过客户端设备从存储设备接收由客户端设备在先前时间捕获的第一图像数据。接收与至少第一图像处理操作和第二图像处理操作相对应的第一元数据。在第一渲染过程中基于第一元数据和对第一图像数据执行的图像处理操作来生成第二图像数据。在第二渲染过程中,基于第一元数据和对第二图像数据执行的第二图像处理操作来生成第三图像数据。生成包括与第三图像数据相对应的信息的第二元数据。生成包括第二元数据、第三图像数据和第一图像数据的合成AR内容项。


52. 《
Snap Patent | Augmented reality eyewear with speech bubbles and translation(Snap专利:带语音气泡和转译功能的增强现实眼镜)

在一个实施例中,呈现与口语相对应的文本(例如在语音气泡中)并可选地从一种语言转译到另一种语言的眼镜。在一个示例中,在眼镜设备的两个用户之间提供交互式增强现实体验,以允许眼镜设备的一个用户与第二用户共享用户的个人属性。个人属性可以是眼镜的远程第二用户所说的转换为文本的语音。转换后的文本可以显示在观看的第二用户附近的第一用户的眼镜的显示器。个人属性可以显示在第二用户附近的语音气泡中,例如第二用户的头部或嘴巴附近。口语的语言可以由第二用户眼镜识别,并转译成第一用户能够理解的语言。


53. 《
Snap Patent | Pausing device operation based on facial movement(Snap专利:基于面部运动暂停设备操作)

在一个实施例中,专利描述的操作通过监测头部可穿戴设备的用户的用户眼球运动来基于用户面部运动暂停增强现实设备,基于确定来确定用户眼球运动方向性地背向耦合到头部可穿戴设备的显示设备,暂停头部可穿戴设备的一个或多个传感器的操作。


54. 《
Magic Leap Patent | Method and system for tracking eye movement in conjunction with a light scanning projector(Magic Leap专利:结合光扫描投影仪追踪眼球运动的方法和系统)

在一个实施例中,专利描述的眼动追踪系统包括包括两个框架的一副眼镜、耦合到眼镜并可操作以投射光束的投影仪、以及安装在两个框架中的一个并光学耦合到投影仪的目镜。目镜可操作以将光束的至少一部分引导朝向用户的眼睛。眼动追踪系统同时包括一个或多个光学传感器和处理器,所述一个或更多个光学传感器耦合到眼镜的两个框架中的至少一个并且可操作用于检测用户眼睛的一组反射信号,所述处理器耦合到投影仪和一个或更少个光学传感器,其中所述处理器可操作用于基于该组反射信号来确定眼睛方位。


55. 《
Magic Leap Patent | Event-based camera with high-resolution frame output(Magic Leap专利:具有高分辨率帧输出的事件摄像头)

在一个实施例中,专利描述了一种适用于增强现实系统的高分辨率图像传感器。图像传感器可以接收关于与可移动对象相关联的成像阵列的区域的信息,选择性地输出该区域的成像信息,并且同步地输出高分辨率图像帧。所述区域可以随着图像传感器和/或对象的移动而动态更新。当图像传感器和/或对象移动时,图像传感器输出高分辨率图像帧的频率可以低于正在更新的区域。这样的图像传感器提供少量数据,从中可以开发用于渲染AR场景的对象信息。


56. 《
Magic Leap Patent | Light Field Display Metrology(Magic Leap专利:光场显示测量学)

在一个实施例中,专利描述了一种用于显示器的光场测量系统。光场测量可以捕获投射光场的图像,并使用捕获图像确定光场各个区域的焦深。然后可以将确定的焦深与预期的焦深进行比较,从而量化显示器的瑕疵。根据测量的瑕疵,可以对光场执行适当的误差校正。