/ Nweon / 0浏览

2024年04月27日美国专利局新申请AR/VR专利摘选



映维网Nweon
2024年04月27日

)近期美国专利及商标局公布了一批全新的AR/VR专利,以下是映维网的整理(详情请点击专利标题),一共55篇。更多专利披露请访问映维网专利板块
https://patent.nweon.com/
进行检索,你同时可以加入映维网AR/VR专利交流微信群(详见文末)。


1. 《
Meta Patent | Micro-display panel for near-eye display(Meta专利:用于近眼显示的微型显示面板)

在一个实施例中,在LED中可以通过有源区内的电子和空穴的复合来产生光子。注入到LED的有源区中的载流子在穿过LED的载流子中的比例称为载流子注入效率。发射的光子数量与注入有源区的载流子数量之间的比率称为LED的内部量子效率(IQE)。在有源区中发射的光可以以一定的光提取效率(LEE)从LED提取。从LED提取的发射光子的数量与通过LED的电子的数量之间的比率称为LED的外部量子效率(EQE)。EQE可以是载流子注入效率、IQE和LEE的乘积。在用于近眼显示器的LED中,只有向特定方向和/或在特定发射角度范围内发射的光才能被近眼显示器中的显示光学器件收集。从LED提取并由显示光学器件收集的发射光子的比例可以称为收集的LEE。


2. 《
Meta Patent | Presenting meshed representations of physical objects within defined boundaries for interacting with artificial-reality content, and systems and methods of use thereof(Meta专利:在定义的边界内呈现物理对象的网格表示以用于与人工现实内容交互,以及其系统和使用方法)

在一个实施例中,专利描述了一种在包括摄像头和显示器的AR头显处与人工现实内容交互的方法。所述方法包括,当AR头戴式头显在包括物体的物理环境内具有第一位置时,如果物体的距离在距AR头显的阈值碰撞距离内,则呈现物体的网格表示。网状表示显示在显示器上的第一相应位置处,使得网状表示在人工现实内是可见的。在AR头显移动到具有不同距离的第二位置之后,并且如果不同距离在距AR头显的阈值碰撞距离内,则将对象的网格表示移动到人工现实内的第二相应位置。第二相应位置对应于物体在物理环境中的位置。


3. 《
Meta Patent | Antenna design using artificial intelligence(Meta专利:使用人工智能的天线设计)

在一个实施例中,可以访问各种天线元件以及识别要使用所访问的天线元件形成的天线的参数。同时,使用人工智能实例将天线元件组装成至少部分符合所识别的参数的组装天线。


4. 《
Meta Patent | Camera module alignment using a frame(Meta专利:使用框架对齐摄像头模块)

在一个实施例中,具有显示屏的可穿戴设备具有图像呈现区域和摄像头部分。可穿戴设备包括配置为通过摄像头部分捕获图像的摄像头模块和模制到显示屏上的摄像头框架。摄像头框架由这样一种材料制成:不仅将摄像头模块保持在适当的位置,而且形成环境密封,从而有效地保护了摄像头模块和显示屏之间的空间。


5. 《
Meta Patent | Scanning display with eye-tracking(Meta专利:具有眼动追踪功能的扫描显示器)

在一个实施例中,图像光是通过显示光源生成。图像光是可见的。红外光源发射红外光。扫描将图像光和红外光引导到显示波导的耦入器,并且显示波导将图像光作为虚像呈现到视窗区域。


6. 《
Meta Patent | Eye relief adjustment mechanism and headset display device including eye relief adjustment mechanism(Meta专利:包括适眼距调节机制的头戴式显示设备)

在一个实施例中,调节机制可以包括可由使用者旋转的调节轮、固定到螺钉的小齿轮、以及接收螺钉并安装到支撑前额垫的前额垫框架的螺纹构件。调节轮可以包括一个内锥齿轮环。小齿轮通过内锥齿轮圈的旋转而旋转,螺钉与小齿轮一起旋转。小齿轮和螺杆可以围绕第二轴线旋转。当螺钉旋转时,螺纹构件沿着螺钉移动,以移动前额垫,从而调整眼睛到晶状体的距离。内部锥齿轮环、小齿轮和螺钉配置为允许额外的部件穿过调整轮的内部。


7. 《
Meta Patent | Waveguide coupler for coupling laser beam into photonic integrated circuit(Meta专利:用于将激光束耦合到光子集成电路中的波导耦合器)

在一个实施例中,用于将光束耦合到波导中的边缘耦合器包括以第一厚度和第一恒定宽度为特征的第一波导部分、物理耦合到第一波导部分并以第一厚度以及逐渐减小的宽度为特征的第二波导部分、以及在重叠区域与第二波导部部分重叠的第三波导部分,第三波导部的特征在于逐渐增大的宽度以及不同于第一厚度的第二厚度。第二波导部分的表面和第三波导部分的面在同一平面上。


8. 《
Meta Patent | Identification of wearable device locations(Meta专利:可穿戴设备位置识别)

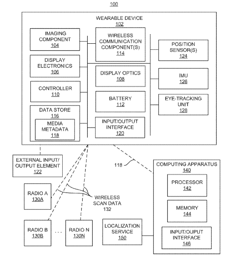
在一个实施例中,可穿戴设备可以包括成像组件、至少一个无线通信组件和控制器。控制器可以激活至少一个无线通信组件以执行对可用于响应无线扫描的至少一个无线电的无线扫描。控制器同时可以通过至少一个无线通信组件从至少一个无线电接收无线扫描数据,并且可以将无线扫描数据嵌入作为媒体元数据的一部分。无线扫描数据可用于确定至少一个无线电装置的位置估计,从而确定可穿戴设备的位置估计。可穿戴设备的位置估计同时可以用于在不使用可穿戴设备的GPS接收器的情况下或者当GPS接收器不能追踪当前位置时对可穿戴设备捕获的媒体进行地理标记。


9. 《
Meta Patent | Controller strap and battery door for a vr headset(Meta专利:VR头显的控制器带和电池门)

在一个实施例中,专利描述了一种用于保持头显控制器的系索。系索包括锚定在用于控制器的电池壳的盖的顶部上的绑带,以及锚定到用于控制器的蓄电池壳的盖底部中的开口销的夹子。绑带包括可拉伸织物和外表面上的多个粘性垫,当绑带缠绕在夹子上时,粘性垫粘附在可伸展织物上。


10. 《
Meta Patent | Electrode placement calibration(Meta专利:电极放置校准)

在一个实施例中,专利描述的方法可以包括将参考信号驱动到体内,并且响应于参考信号,使用生物传感装置的至少一个电极来检测多个生物信号测量。所述方法同时可以包括基于多个生物信号测量确定至少一个电极相对于身体的相对位置,以及基于至少一个电极的相对位置提供反馈。


11. 《
Microsoft Patent | Modeling thermal effects for a laser system(微软专利:激光系统热效应建模)


12. 《
Apple Patent | Eye detection methods and devices(苹果专利:眼睛检测方法和设备)


13. 《
Apple Patent | Three-dimensional programming environment(苹果专利:三维编程环境)

在一个实施例中,示例性过程呈现具有用于在3D环境中使用内容的第一组选项的第一组视图,其中,从第一组视点提供第一组视图;基于用户交互数据,确定呈现用于在所述3D环境中利用所述内容的第二组视图;其中,所述第二组选项包括比所述第一组选项更少的选项;并且根据确定呈现第二组选择,呈现包括第二组可选选项的第二组视图,其中从所述3D环境中的第二个视点提供第二组视图。


14. 《
Apple Patent | Digital assistant interactions in extended reality(苹果专利|扩展现实中的数字助理交互)

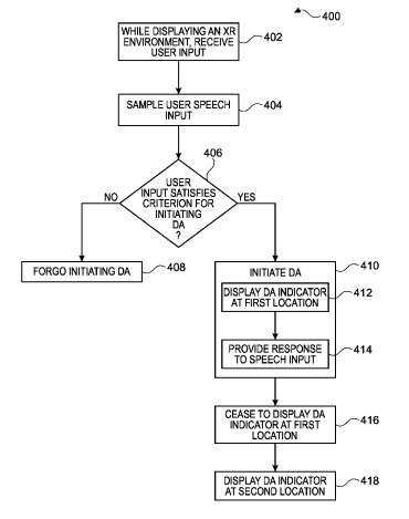
在一个实施例中,示例过程包括在显示器显示XR环境时:接收用户输入;用麦克风对用户语音输入进行采样;根据所述用户输入满足用于启动数字助理的标准的确定,启动所述数字助理,包括:在所述XR环境内,在所述X射线环境的第一位置处显示数字助理指示符;以及当在第一位置显示数字助理指示符时,由数字助理提供对用户语音输入的响应;在提供所述响应之后,停止在所述第一位置显示所述数字助理指示符;以及根据停止在第一位置显示数字助理指示符,在XR环境的第二位置显示数字辅助指示符,第二位置对应于实现第二数字助理的外部电子设备的物理位置。


15. 《
Google Patent | Methods and apparatuses for implementing varied optical grating geometries in an augmented reality display(谷歌专利:在增强现实显示器中实现各种光栅几何形状的方法和设备)

在一个实施例中,AR眼镜显示器利用具有重复排列的多层光栅的光波导。光栅包括变化的深度、倾斜角、长度和/或宽度,以便调谐光栅以提供改进的AR眼镜显示。


16. 《
Google Patent | Fabrication of nanoimprint working stamps with combined patterns from multiple master stamps(谷歌专利:利用多个母版印模制作具有组合图案的纳米压印工作印模)

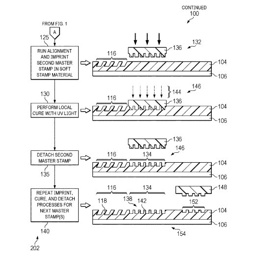
在一个实施例中,专利描述了用于制造用于在波导工件中形成表面光栅的工作印模的方法,包括使用一系列主印模执行一系列阶梯式光刻工艺,以形成具有第一表面的工作印模,第一表面中形成有多个表面光栅。每个步骤光刻工艺包括在材料层的对应区域将一系列母模的母模压入工作模工件的材料层中,母模上形成有多个表面光栅图案。每一步骤光刻工艺同时包括将紫外光施加到对应区域以局部固化对应区域处的材料层,以及在施加紫外光之后将主印模从工作印模的材料上分离。


17. 《
Google Patent | Platform for registering and processing visual encodings(谷歌专利:注册和处理视觉编码的平台)

在一个实施例,包获得描述场景的图像数据;利用配置为识别所述机器可读视觉编码的第一识别系统来处理所述图像数据;利用配置为识别围绕所述机器可读视觉编码的所述场景的周围部分的不同的第二识别系统来处理所述图像数据;至少部分地基于由所述第一识别系统基于所述图像数据生成的一个或多个第一输出并且至少部分地根据由所述第二识别系统基于图像数据生成一个或更多个第二输出来识别与所述机器可读视觉编码相关联的存储参考;以及响应于所存储的参考的识别来执行一个或多个动作。


18. 《
Google Patent | Location-specific three-dimensional models responsive to location-related queries(谷歌专利:响应位置相关查询的特定位置三维模型)

在一个实施例中,响应于位置查询生成特定于位置的三维模型可以通过提供更好的交互性、更好的视角和对维度的更好理解,为用户提供对位置的更好理解。模型的生成可以通过利用三维资产数据库和分割方法来实现。特定位置模型可以通过进一步包括特定情况的模拟效果来提供进一步的效用。


19. 《
Google Patent | Dynamically adjusting instructions in an augmented-reality experience(谷歌专利|在增强现实体验中动态调整指令)

在一个实施例中,用于增强现实辅导的系统和方法可以利用光学字符识别、自然语言处理和/或增强现实渲染来提供用于完成确定任务的实时通知。系统可以包括利用为定量推理而训练的一个或多个机器学习模型,并且可以包括在不同时间提供多个不同的用户界面元素。


20. 《
Google Patent | Transcription based on speech and visual input(谷歌专利:基于语音和视觉输入的转录)

在一个实施例中,专利描述的一种方法可以包括接收语音的音频输入,在接收音频输入的同时接收视觉输入,基于视觉输入生成语义描述,以及基于音频输入和语义描述呈现语音的转录。


21. 《
Samsung Patent | Display panel and electronic apparatus including the same(三星专利:显示面板及其电子设备)

在一个实施例中,专利描述了一种包括电路层和在电路层之上的显示元件层的显示面板。显示元件层可以包括在垂直于厚度方向的方向上间隔开的第一发光元件、第二发光元件和像素限定膜。第一发光元件可以包括顺序堆叠在第一电极和空穴传输区之间的光学辅助层和导电层,并且第二发光元件可以省略光学辅助层以及导电层。光学辅助层可以与空穴传输区间隔开,导电层介于其间。


22. 《
Samsung Patent | Method and device for supporting energy saving in wireless communication system(三星专利:支持无线通信系统节能的方法和设备)

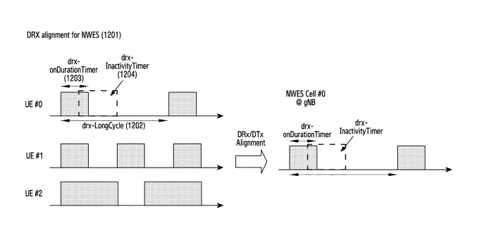
在一个实施例中,专利描述了一种由无线通信系统中的BS执行的方法,包括经由RRC信令向UE发送配置用于基站的节能的DTX的第一信息;向所述UE发送指示所述DTX的激活或去激活的DCI;以及基于DTX的激活或去激活向UE发送下行链路信号。


23. 《
Samsung Patent | Apparatus and method for supporting synchronization of reconfigurable intelligent surface (ris) reflection pattern in wireless communication system(三星专利:支持无线通信系统中可重构智能表面反射模式同步的装置和方法)

在一个实施例中,由基站执行的方法包括识别由无线电单元(RU)缓冲器引起的延迟时间,基于由RU缓冲器引起的所述延迟时间来确定用于同步发送到可重新配置的智能表面(RIS)的信号的RIS偏移值,在第一时间点向RIS发送要通过RIS的反射平面发送到终端的第一信号,以及在应用RIS偏移量的第二时间点向所述RIS发送用于控制RIS的反映模式的第二信号。


24. 《
Samsung Patent | Method and apparatus for controlling execution mode of function being executed by user equipment in wireless communication system(三星专利:用于控制无线通信系统中用户设备正在执行的功能的执行模式的方法和装置)

在一个实施例中,专利描述了一种用户设备(UE)在无线通信系统中操作的方法,包括获得UE的状态信息,识别UE正在执行的多个功能中的每个功能的执行模式,基于UE的状态消息,识别UE正执行的功能中其执行模式要改变的至少一个功能,以及改变所识别的至少一种功能的执行方式。


25. 《
Samsung Patent | Speaker module and electronic device including the same(三星专利:扬声器模块及其电子设备)

在一个实施例中,专利描述的扬声器模块包括磁轭板、第一扬声器和第二扬声器,第一扬声器包括耦合到磁轭板的第一磁体、与磁轭板间隔开的隔膜和耦合到隔膜的第一线圈,第二扬声器包括耦合至磁轭板并在第一扬声器的一侧上的壳体、设置在壳体中并耦合到磁叉板的第二线圈、以及在壳体中与第二线圈间隔开并耦合到壳体的第二磁体。


26. 《
Samsung Patent | Vertex motion vector predictor coding for vertex mesh (v-mesh)(三星专利:顶点网格的顶点运动矢量预测器编码)

在一个实施例中,专利描述的装置包括配置为接收压缩视频比特流的通信接口和可操作地耦合到该通信接口的处理器。处理器配置为基于对一个或多个顶点邻居的数量的信号限制,针对压缩视频比特流中的顶点,确定一个或更多个顶点邻居。处理器同时配置为基于在压缩视频比特流中用信号通知的顶点运动矢量(VMV)标识符,从多个VMV预测器中识别用于顶点的VMV预预测器。处理器进一步配置为基于所确定的一个或多个顶点邻居和所识别的VMV预测器来重构网格帧。


27. 《
Samsung Patent | Packing of displacements data in video frames for dynamic mesh coding(三星专利|将位移数据封装在视频帧中用于动态网格编码)

在一个实施例中,专利描述的装置包括配置为接收压缩视频的比特流的通信接口和可操作地耦合到该通信接口的处理器。处理器配置为识别压缩视频的视频格式。处理器同时配置为根据至少一个信令元素和所识别的视频格式中的一个或多个来确定位移数据封装布置。处理器进一步配置为根据所确定的位移数据封装布置来检索位移数据。


28. 《
Samsung Patent | Processing method and apparatus with augmented reality(三星专利:增强现实的处理方法和装置)

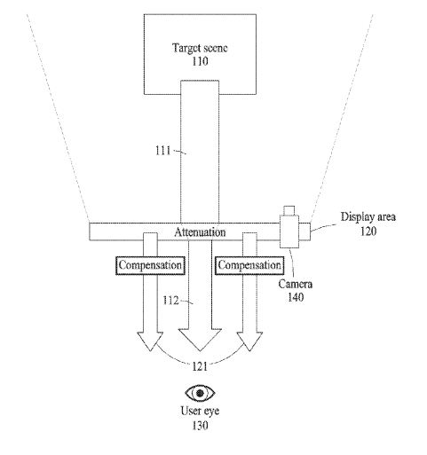
在一个实施例中,用于处理增强现实的方法和装置包括当与目标场景相对应的视觉信息通过显示区域显示时,确定补偿参数以补偿由AR设备的显示区域引起的视觉信息的光衰减,通过使用AR设备的摄像头捕获目标场景来生成没有光衰减的背景图像,通过使用补偿参数降低背景图像的亮度来生成补偿图像,生成要叠加在目标场景上的虚拟对象图像,通过合成补偿图像和虚拟对象图像来生成显示图像,以及在显示区域中显示显示图像。


29. 《
Samsung Patent | Electronic device and method for displaying modification of virtual object and method thereof(三星专利:用于显示虚拟对象的修改的电子设备和方法及其方法)

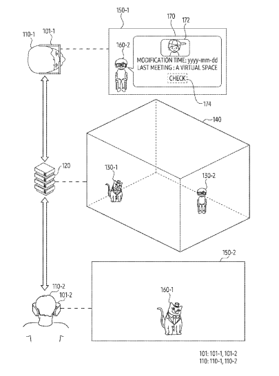
在一个实施例中,可穿戴设备的至少一个处理器可以基于用于进入虚拟空间的输入在显示器显示虚拟空间。至少一个处理器可以在虚拟空间内显示第一化身,第一化身是用户的当前表示并且具有第一外观。至少处理器可以在虚拟空间内显示第一化身以及第二化身的视觉对象,其中视觉对象是用户的先前表示并且具有不同于第一化身的第一外观的第二外观。例如,元宇宙服务是通过基于5G和/或6G的网络提供。


30. 《
Samsung Patent | Method and appratus with neural rendering based on view augmentation(三星专利:基于视图增强的神经渲染方法和评价)

在一个实施例中,专利描述了一种基于视图增强的神经渲染方法。一种训练神经场景表示模型的方法包括:接收目标场景的原始训练图像,所述原始训练图像分别对应于所述目标场景的基本视图;通过扭曲原始训练图像来生成目标场景的增强图像;对原始训练图像和增强图像进行背景-前景分割,生成分割掩模;以及通过使用原始训练图像、增强图像和分割掩模来训练神经场景表示(NSR)模型。


31. 《
Samsung Patent | Nft information providing system and nft information providing method(三星专利:NFT信息提供系统和NFT信息提供方法)

在一个实施例中,专利描述的信息提供系统包括:配置为生成虚拟图像的第一服务器、配置为存储NFT信息的第二服务器、以及配置为与第一服务器和第二服务器通信的显示设备。显示设备包括配置为感测NFT对象的感测单元、包括图像比较处理器并且配置为使用由图像比较处理器实现的图像比较算法从第二服务器确定与NFT对象相对应的NFT信息的比较单元、以及配置为显示虚拟图像和NFT信息。


32. 《
Samsung Patent | Electronic device and method for obtaining media corresponding to location by controlling camera based on location(三星专利:通过基于位置控制摄像头来获得与位置相对应的媒体的电子设备和方法)


33. 《
Sony Patent | Scalable data center platform for cloud gaming and metaverse(索尼专利:用于云游戏和元宇宙的可扩展数据中心平台)

在一个实施例中,专利描述的方法包括接收实例化用于玩家玩游戏的视频游戏实例的请求;建立基于云的游戏引擎,用于在视频游戏的实例中执行视频游戏的游戏逻辑;为基于云的游戏引擎组装微服务,以实例化视频游戏的实例;通过通信结构在基于云的游戏引擎和每个微服务之间建立通信;基于与游戏进行相关联的控制器输入,使用基于云的游戏引擎在视频游戏的实例中执行游戏逻辑;在执行视频游戏的实例时监视对计算资源的需求;基于需求调整用于微服务集合的计算资源的分配。


34. 《
Sony Patent | Image generation device, program, image generation method, and image displaying system(索尼专利:图像生成设备、程序、图像生成方法和图像显示系统)

在一个实施例中,专利描述的图像生成装置包括生成不提供失真的源图像的源图像生成单元、参考源图像生成要在头戴式显示器显示的头显图像的图生成单元、以及参考源图像产生用于在平板型显示器镜像图像的镜像图像的镜像图像生成单元。


35. 《
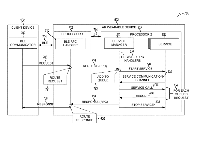
Snap Patent | Service manager on a wearable device(Snap专利:可穿戴设备的服务器管理器)

在一个实施例中,服务管理器在内存中保持活动状态,并侦听对服务的请求。然后,服务管理器确定运行哪些服务以及停止哪些服务以响应服务请求。运行服务后,服务管理器调用服务以响应请求,并向请求的发送方发送对请求的响应。服务管理器可以驻留在与发起服务请求的处理器不同的处理器上。服务管理器维护服务的优先级,以确定要停止哪些服务或从内存中删除哪些服务。


36. 《
Snap Patent | Generating ground truth datasets for virtual reality experiences(Snap专利:为虚拟现实体验生成ground truth数据集)

在一个实施例中,具有一个或多个摄像头和一个或更多惯性测量单元的记录设备沿着穿过物理环境的真实路径捕获图像和运动数据。SLAM应用程序使用捕获的数据来计算记录设备的轨迹。多项式插值模块使用切比雪夫多项式来生成连续时间轨迹(CTT)函数。所述方法包括识别虚拟环境并组装模拟传感器配置,例如VR头显。使用CTT函数,生成ground truth输出数据集。虚拟路径与记录设备所捕获的沿着真实路径的运动密切相关。因此,输出数据集产生了逼真的VR体验。


37. 《
Snap Patent | Phone case for tracking and localization(Snap专利:用于追踪和定位的手机壳)

在一个实施例中,智能手机等便携式设备的外壳包括LED等光源,当发光时,可以通过头戴式增强现实或虚拟现实设备进行检测和追踪。光源可以位于壳体的拐角处并且可以发射红外光。可以基于对包括来自光源的光的头戴式设备捕获的图像执行的计算机视觉技术来确定智能手机和头戴式设备之间的相对姿势。智能手机和头戴式设备之间的相对移动可用于向头戴式设备提供用户输入。


38. 《
Snap Patent | 3d space carving using hands for object capture(Snap专利:用手捕捉物体的三维空间雕刻)

在一个实施例中,专利描述了一种使用手部追踪来雕刻3D空间的方法。所述方法包括从显示设备的摄像头访问第一帧,使用在显示设备处操作的手部追踪算法来跟踪与第一帧中描绘的一个或多个用户手相对应的手像素,使用显示设备的传感器来检测手像素的深度,基于手像素的厚度来识别3D区域,以及将3D重建引擎应用于3D区域。


39. 《
Qualcomm Patent | Low latency schemes for peer-to-peer (p2p) communications(高通专利:用于P2P通信的低延迟方案)

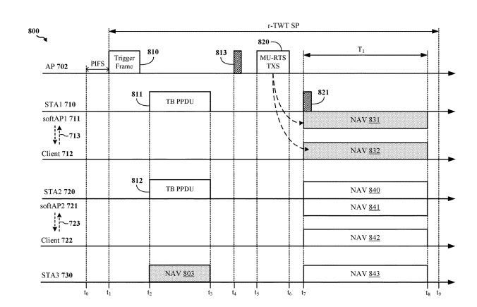
在一个实施例中,接入点(AP)经由P2P链路从与客户端设备相关联的无线站(STA)接收请求帧,其中请求帧指示STA打算在无线介质上调度的r-TWT SP期间与客户端设备交换P2P通信。AP在r-TWT SP期间获得无线介质上的传输机会(TXOP),请求帧标识客户端设备。AP响应于获得TXOP而在无线介质上发送触发帧,触发帧将所获得的TXOP的一部分分配给STA和客户端设备之间的P2P通信,其中响应帧或触发帧中的至少一个指示客户端设备的网络分配矢量(NAV)异常。


40. 《
Qualcomm Patent | Signaling for extended reality (xr) rendering offloading(高通专利:用于扩展现实渲染卸载的信号)

在一个实施例中,扩展现实设备可以接收识别UE的呈现卸载能力的UE能力指示符。XR设备可以至少部分地基于接收到UE能力指示符来向UE发送用于在UE处呈现的数据。XR设备可以从UE接收渲染数据,作为对发送用于在UE处渲染的数据的响应。


41. 《
Qualcomm Patent | Generating restored spatial audio signals for occluded microphones(高通专利:为遮挡麦克风生成恢复的空间音频信号)

在一个实施例中,专利描述了用于执行空间音频记录的过程。例如,所述过程可以包括检测与空间音频记录相关联的一个或多个音频帧中的至少一个音频帧的遮挡。在空间音频记录期间,可以包括基于对遮挡的检测来选择用于一个或多个音频帧的遮挡空间滤波器或用于一个或者多个音频框的非遮挡空间滤波器中的至少一个。


42. 《
Qualcomm Patent | Virtual representation encoding in scene descriptions(高通专利:场景描述中的虚拟表示编码)

在一个实施例中,专利描述了用于生成虚拟表示(例如化身)的过程。例如,所述过程可以包括获得描述虚拟表示的数据,其中数据包括节点的分层集合,而节点集合的第一节点包括类型信息、源信息和映射,并且其中节点分层集合的子节点包括与虚拟表示的分段相关联的数据;基于所述类型信息识别与用户的虚拟表示相关联的格式;基于所述映射来识别所述节点的分层集合中的所述子节点;基于所述源信息识别与所述子节点相关联的所述数据的一部分;以及基于虚拟表示的对应格式来处理与子节点的虚拟表示的分段相关联的数据,以生成虚拟表示的片段。


43. 《
Qualcomm Patent | Attribute coding for point cloud compression(高通专利:点云压缩的属性编码)

在一个实施例中,对点云数据进行编码的方法包括:对于第一编码过程,接收源点云的点云数据的几何数据;根据所述第一编码过程对所述几何数据进行编码,以生成目标点云的编码几何数据和几何比特流;对所述编码的几何数据进行解码以生成重构的几何数据;基于重构的几何数据对源点云的点云数据的属性数据执行属性重新计算处理,以生成重新计算的目标点云的重构点云数据;以及根据第二编码过程对重新计算的、重构的点云数据进行编码以生成属性比特流。


44. 《
Qualcomm Patent | View-dependent multiple streaming for extended reality (xr) rendering offloading(高通专利:用于扩展现实渲染卸载的视图相关多流传输)

在一个实施例中,XR设备可以向第一无线通信设备和第二无线通信设备分别发送渲染数据的第一部分和渲染数据的第二部分,其中渲染数据划分为渲染数据的所述第一部分和所述渲染数据的该第二部分至少部分地基于视图信息。XR设备可以至少部分地基于传输,分别从第一无线通信设备和第二无线通信设备接收渲染数据的第一部分和渲染数据的第二部分。


45. 《
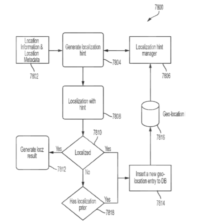
Magic Leap Patent | Cross reality system for large scale environments(Magic Leap专利:用于大型环境的跨现实系统)

在一个实施例中,专利描述的方法用于支持多个设备中的任何一个高效地访问以前存储的映射,并呈现与所述映射相关的虚拟内容。夸现实系统可以快速确定从便携式设备获取的图像导出的2D特征集是否与环境映射的3D特征集匹配,如果匹配,则确定特征集的相对姿态。所述姿态可用于快速且准确地将便携式设备定位到环境地映射。2D和3D特征集中的特征对可以基于匹配特征描述符来识别,并且可以在经过训练以评估匹配质量的神经网络中进行评分。姿态可以基于匹配特征的子集来识别,所述特征对具有高质量的特征对进行加权。


46. 《
Magic Leap Patent | Enhanced Pose Determination For Display Device(Magic Leap专利:提高显示设备的姿态确定)

在一个实施例中,为了确定用户的头部姿态,具有成像组件的头显系统可以获取真实世界环境的当前图像,并包含对应于将用来确定头部姿态的特征点的点。所述特征点包括:从先前图像投影到当前图像的第一特征点,以及从当前图像提取当前图像中的第二突出点。接下来,将每个特征点与真实世界点相匹配。 根据所述的匹配,并且根据当前图像捕获视图中的特征点的相对位置,确定成像组件的取向。所述取向可用于推断头显用户的头部姿态。


47. 《
Magic Leap Patent | Methods, systems, and computer program products for implementing cross-platform mixed-reality applications with a scripting framework(Magic Leap专利:使用脚本框架实现跨平台混合现实应用程序的方法、系统和计算机程序产品)

在一个实施例中,专利描述了用于脚本框架的方法和系统,以及用于异构系统的混合现实软件应用实现。所述方法或系统创建一个混合现实软件应用程序,并在脚本框架的服务器端实例跨异构平台执行,同时使用脚本框架的服务器端实例管理混合现实软件应用程序中的更改。另外,可以在混合现实设备交互地执行混合现实软件应用。


48. 《
Magic Leap Patent | Mixed Reality Spatial Audio(Magic Leap专利:混合现实空间音频)

在一个实施例中,专利描述了一种向混合现实环境用户呈现音频信号的方法。检测与混合现实环境相关联的音频事件。音频事件与第一音频信号相关联。确定用户相对于混合现实环境的位置。识别与用户的位置相关联的声学区域。确定与第一声学区域相关联的第一声学参数。使用第一声学参数确定传递函数。传递函数被应用于第一音频信号以产生第二音频信号,然后将其呈现给用户。


49. 《
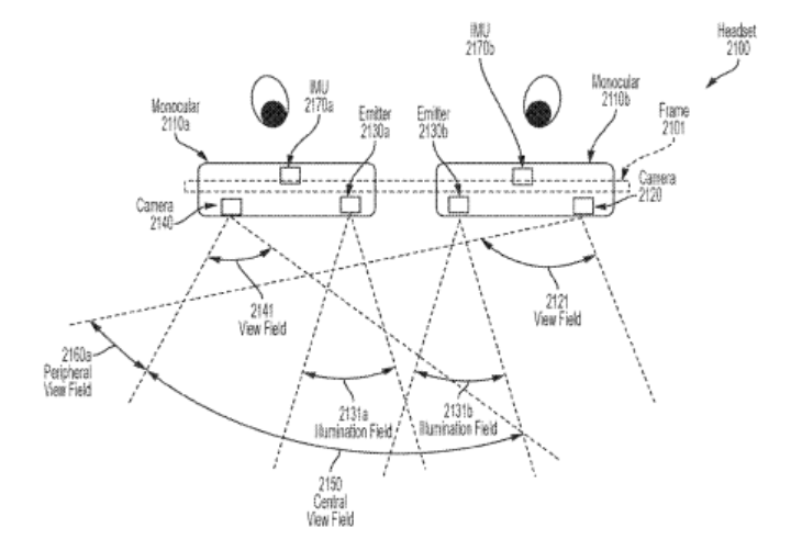
Magic Leap Patent | Lightweight cross reality device with passive depth extraction(Magic Leap专利:具有无缘深度提取的轻量级跨现实设备)

在一个实施例中,专利描述了一种包括多个摄像头和处理器的可穿戴显示系统。灰阶摄像头 和彩色摄像头 可以布置成提供与两个摄像头相关联的中心视场和与两个摄像头中的一个相关联的外围视场。两个摄像头中的一个或多个可能是全光摄像头。可穿戴显示系统可以使用至少一个全光摄像头获取光场信息,并使用根据灰度摄像头和彩色摄像头获取的图像立体确定的第一光场信息和第一深度信息创建世界模型。可穿戴显示系统可以使用至少一个全光摄像头和世界模型追踪头部姿势。当对象满足深度标准时,可穿戴显示系统可以使用一个或两个全光摄像头在中心视场和外围视场中追踪对象。


50. 《
Magic Leap Patent | Patch tracking image sensor(Magic Leap专利:Patch追踪图像传感器)

在一个实施例中,专利描述了一种适用于增强现实系统的高分辨率图像传感器。图像传感器可接收关于与可移动物体相关联的成像阵列的区域的信息,并选择性地输出该区域的成像信息。所述区域可以随着图像传感器和/或对象的移动而动态更新。这样的图像传感器提供少量数据,从中可以开发用于渲染增强现实场景的对象信息。通过将图像传感器配置为输出测量的入射光强度改变的像素指示,可以进一步减少数据量。


51. 《
Magic Leap Patent | Periocular Test For Mixed Reality Calibration(Magic Leap专利:用于混合现实校准的眼周测试)

在一个实施例中,可穿戴设备可以包括配置成获取用户眼周区域的图像的朝内成像系统。可穿戴设备可以根据获取的图像来确定可穿戴设备与用户面部之间的相对位置。所述相对位置可以用于确定用户是否正在佩戴可穿戴设备,可穿戴设备是否适合用户,或者是否应该对虚拟对象的渲染位置进行调整以补偿相关的偏离。


52. 《
Magic Leap Patent | Monovision display for wearable device(Magic Leap专利:可穿戴设备的单视显示器)

在一个实施例中,专利描述的可穿戴设备可包括配置成在第一焦平面或第二焦平面显示虚拟内容之间切换的左光学堆栈和右光学堆栈。可穿戴设备可确定是否满足激活条件。响应于确定满足激活条件,可激活与可穿戴设备相关联的单视显示模式,其包括使左光学堆栈在第一焦平面显示虚拟内容,并使右光学堆栈在第二焦平面显示虚拟内容。


53. 《
Magic Leap Patent | Method and system for reducing line separation artifacts in interlaced image projection(Magic Leap专利:用于减少隔行图像投影中的线分离伪影的方法和系统)

在一个实施例中,专利描述的图像显示系统包括配置为发射调制光束的光学子系统,以及用于产生反射光束的扫描镜。所述反射光束根据随机选择或伪随机选择的扫描图案进行扫描,以产生多个隔行扫描图像的多个图像场。对于不同的图像场,可以随机或伪随机选择多个不同的扫描模式,以减少在浏览投影图像时可能观察到的伪影。


54. 《
Magic Leap Patent | Method of fabricating diffraction gratings(Magic Leap专利:制造衍射光栅的方法)

在一个实施例中,制造衍射光栅的方法包括提供主模板基板并在多个主模板区域中在主模板基板上压印周期性重复的线。主模板区域的不同主模板区域中的周期性重复线在不同方向上延伸。使用主模板区域中的至少一个作为主模板在光栅基板上压印至少一个闪耀衍射光栅图案。用硬度大于形成线的材料的材料涂覆周期性重复的线。


55. 《
HTC Patent | Ray casting system and method(HTC专利:射线投射系统和方法)

在一个实施例中,专利描述了一种射线投射系统。射线投射系统包括显示器、摄像头、交互式传感器和处理器。显示器配置为显示虚拟环境。摄像头配置为获得包括用户的手的手图像。交互式传感器配置为从用户获得用户指令,其中交互式传感器适于安装在用户的手上。处理器配置为基于手图像在虚拟环境中生成控制射线,并基于用户指令将位移应用于控制射线。