/ Nweon / 0浏览

微软AR/VR专利发明激光器集成调制器精确控制显示像素亮度

(映维网资讯)头显的一个限制是显示器的动态范围(DR)。为了获得最佳的用户体验,理想情况下的显示图像应该与真实世界无法区分。然而,人类视觉可以感知比典型头显提供的DR宽得多的对比度范围。

这种DR问题在具有基于激光的显示器的头显(例如AR头显)中经常加剧。因为在这样的显示器中,像素亮度的范围从接近激光阈值亮度到激光最大亮度。很多时候,在各种应用中显示的图像中的大量像素表示接近激光阈值亮度的低亮度内容。在激光阈值亮度附近具有有限的DR对于准确地表示低亮度内容提出了诸多挑战。

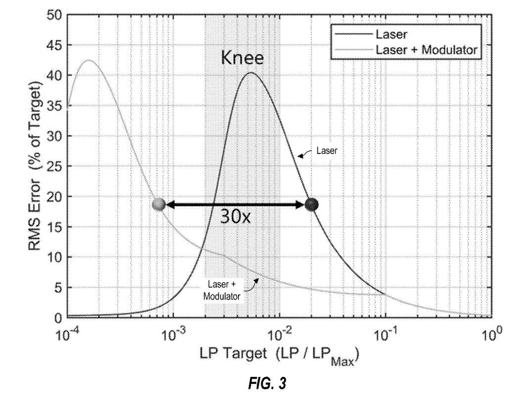
对于更接近激光阈值或拐点区域的亮度水平,激光器输出的透光率的误差或不准确性通常更大。诸如激光自加热和相邻发射器加热的效应可能导致激光阈值电流(以及整个透光率-电流曲线或L-I曲线)的偏移,并导致输出透光率的误差。图1示出了描绘激光器的输出透光率相对于激光器的目标透光率输出的RMS误差的示例曲线图。

在低透光率范围内的透光率控制的困难与可从激光二极管获得的最大透光率的限制相结合,导致由基于激光的显示系统中使用的激光照射的像素的动态范围有限。图1示出了50:1的可用动态范围。然而,在许多情况下,只有激光器的整个动态范围的一部分可用于适应其他控制需求,并导致对电流控制步骤的严格要求。

名为“Integrated laser and modulator systems”的专利申请中,
微软
提出了一种集成式激光器和调制器系统,以提高显示系统和/或其他基于激光的应用的激光控制精度。

在一个实施例中,可以通过用激光器实现调制器来促进动态范围的增加和激光器控制精度的提高。调制器具有各种应用,例如在测量系统中保持恒定的输出光强度或将信息加载到光学频率载波中。

与传统的调制器使用相反,发明利用与激光器集成的调制器来精确控制显示系统中的像素亮度。集成器件可以包括与充当衰减器的调制器集成的激光器,或者与充当放大器的调制器集成的低功率激光器。

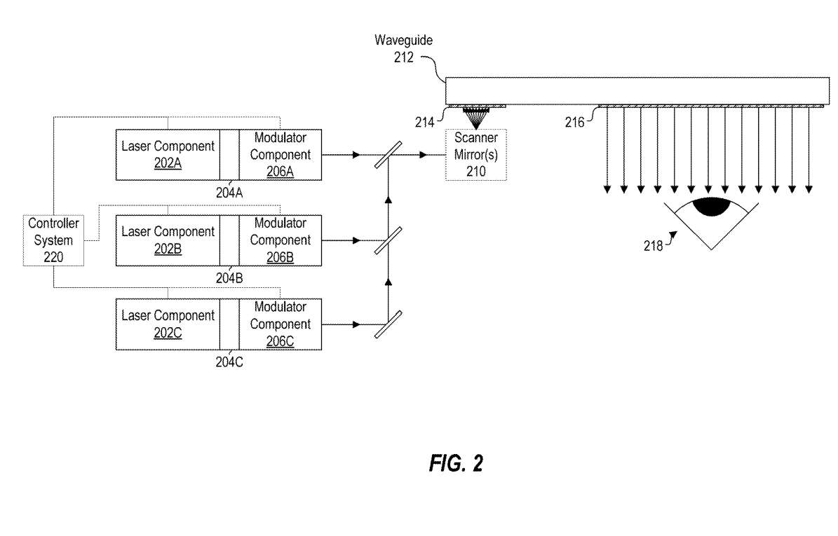
图2示出了利用集成激光器和调制器设备的显示系统的示例组件。特别地,图2示出了包括激光器部件202A、调制器部件206A的集成激光器和调制器装置。激光器部件202A有助于响应于施加的电流的光发射,并且调制器部件响应于施加信号选择性地调制光。

在图2的示例中,调制器部件206A通过介于激光器部件202A和调制器部件206A之间的桥接结构204A整体地耦合到激光器部件。桥接结构204A的一部分有助于功率反射到激光部件202A的激光腔中。桥接结构204A有助于将激光组件202A发射的光传输到调制器组件206A中,用于由调制器组件206B调制传输的光,从而提供/输出调制的光。

调制器组件206A可以通过选择性地衰减(响应于施加的电压)经由桥接结构204A从激光器组件202A接收的光来作为衰减器操作。可替换地,调制器组件206A可以通过选择性地放大(响应于施加的电流)经由桥接结构204A从激光器组件202A接收的光来作为放大器操作。

因此,由集成激光器和调制器件输出的调制光可以包括衰减的光、放大的光或未经调制器组件206A修改的光。在一个实施例中,调制器组件206A配置为可逆地操作为调制器或衰减器。

利用调制器组件206A来选择性地修改激光器组件202A输出的光可以有助于减少集成激光器和调制器设备输出的光的透光率误差。透光率误差的这种减少可以有助于改善显示系统的动态范围。

例如,如图1所示,可以向激光部件202A提供与膝盖区域上方的目标透光率相关联的输入电流,从而实现比与目标光能量相关联的透光率误差更低的透光率错。当在这样的输入电流范围内操作激光器部件202A时,调制器部件206A可以操作为衰减器,以实现进一步的目标透光率降低(例如控制亮度),同时保持避免高误差拐点区域。

这样的功能可以通过使得能够使用与激光器部件202A相关联的最大目标透光率和经由调制器部件206A可实现的最小(衰减的)目标透光率之间的透光率来实现显示系统的动态范围的增加,同时避免高误差区域。

这种动态范围的增加在图3中示出,其中调制器部件206A作为衰减器的操作有效地移动了透光率误差相对于目标透光率的曲线,提供了具有相对低的透光率误差的可实现目标透光率值的附加范围。在图3的示例中,实现了动态范围的30倍增加。

调制器组件206A作为放大器而不是衰减器的操作可以类似地促进动态范围的增加。例如,调制器部件206A可以作为放大器操作,以使得目标透光率能够进一步增加到通过单独操作的激光部件202A可实现的最大值之上(同时保持避免高误差区域)。最大可实现目标透光率的这种增加可以有助于增加动态范围,例如用于控制显示器中的像素亮度。

在这一点上,调制器组件206A对激光组件202A发射的光的调制可以减轻与激光组件202A相关联的透光率误差的影响。对与激光部件202A相关联的透光率误差的影响的这种减轻可以有助于增加在显示系统中使用的动态范围,例如照亮用于呈现图像的像素。

为了便于集成激光器和调制器装置的操作以实现改进的动态范围,可以独立地控制激光器部件202A和调制器部件206A以使得能够将不同的信号施加到不同的部件。

图2相应地示出了与激光器部件202A和调制器部件206A通信的控制器系统220,以选择性地将电压和/或电流施加到激光器部件202B和调制器部件206。控制器系统220可以根据信号控制路线来控制施加到激光器部件202A和调制器部件206A的电压和/或电流。

图2进一步示出了多个集成的激光器和调制器设备可以彼此结合使用以促进图像生成/呈现。特别地,图2示出了包括激光器部件202B、桥接结构204B和调制器部件206B的附加的集成激光器和调制器装置,以及包括激光器部件202、桥接结构204和调制器部件206的另一附加的集成激光和调制器装置。

图2的每个集成激光器和调制器装置可经由控制器系统220控制,如图2中由从控制器系统220向激光器部件202A、202B和202C以及调制器部件206A、206B和206C延伸的线所示。不同的集成激光器和调制器设备中的每一个可以与用于形成输出图像的彩色图像像素的相应颜色通道相关联。

例如,对于红、绿、蓝(RGB)配色方案,第一集成激光器和调制器装置可以与红色通道相关联,第二集成激光器和调制器装置可以与绿色通道相关联并且第三集成激光器和调变器装置可以与蓝色通道相关联。由不同的集成激光器和调制器设备输出的红色、绿色和蓝色(调制的)光可以被引导朝向显示组件的扫描镜210,以便于照明具有特定像素颜色值的像素,从而形成用户的眼睛218可感知的图像。

集成的激光器和调制器设备可以以各种方式设计。在一个示例中,激光器部件的波导的外延层可以延伸以形成调制器部件,并且调制器部件可以在电吸收调制器或SOA的情况下实现。

如上所述,集成的激光器和调制器装置可以包括桥接结构,桥接结构介于激光器部件和调制器部件之间以便于激光器部件与调制器部件的单片集成。在一个实施例中,桥接结构有利地消除了对用于将激光组件与调制器组件集成的体积更大和/或损耗更大的异质集成平台的需要。

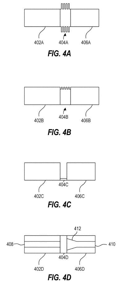
图4A至4D示出了集成激光器和调制器器件的桥接结构。桥接结构包括一个或多个布拉格光栅。布拉格光栅可以包括分布式布拉格反射器(DBR)。

图4A示出了集成激光器和调制器器件的顶视图,集成激光器和调制器件包括激光器部件402A、调制器部件406A和桥接结构404A。桥接结构以DBR的形式实现,DBR结合在激光器部件402A的波导的相对侧壁之上。

图4B示出了集成激光器和调制器器件的侧视图,其包括激光器部件402B、调制器部件406B和以DBR形式实现的桥接结构404B,DBR实现在激光器部件402B的顶部包层之上。DBR可以设计为实现不同的反射和/或传输带宽,并可以以特定波长为中心。

除了布拉格光栅,或者作为布拉格光栅的替代,桥接结构可以包括其他类型的结构,例如一个或多个集成的自由形式光学耦合器。

在一个实施例中,在输出光的总光谱将由激光器增益光谱确定的情况下,集成激光器和调制器器件的桥接结构可以实施为激光器部件和调制器部件之间的间隙。图4C示出了集成激光器和调制器器件的侧视图,其包括激光器部件402C、调制器部件406C和桥接结构404C,桥接结构以蚀刻凹口的形式实现在激光器部件402C和调制器部件406C之间,从而在它们之间提供间隙。

可以有利地容易地制造激光器部件402C和调制器部件406C之间的蚀刻凹口。激光器部件402C和调制器部件406C之间的间隙可以设计为具有特定的功率反射和透射,并且具有宽的光谱带宽,使得输出光的总光谱能够主要由激光增益光谱确定。

例如,由蚀刻的凹口形成的间隙的相对壁可以具有设置在其上的不同涂层,其中一侧包括至少部分反射的涂层,而另一侧包括设置在其上方的至少部分抗反射的涂层。

实现为间隙的桥接结构的3D结构可以引起从激光器部件到调制器部件的模式失配和/或耦合损耗。小的间隙尺寸可以减轻从激光器部件到调制器部件的耦合效率的降低。

然而,在激光器部件和调制器部件之间产生具有小间隙尺寸的间隙可能涉及具有挑战性的制造技术和/或可能给刻面涂层带来挑战。为了解决这些问题,调制器部件可以包括锥形波导,以减轻从激光器部件到调制器部件的间隙上的耦合损耗。

图4D示出了示例集成激光器和调制器装置的俯视图,集成激光器和调制装置包括激光器部件402D(具有波导408)、实现为形成间隙的蚀刻凹口的桥接结构404D、以及包括波导410的调制器部件406D。其中,波导410在调制器部件406D的输入侧上具有锥形区域412。调制器部件406D的不同程度的波导渐缩与从激光器部件402D到调制器部件406D的耦合效率的不同改进相关联。

在一个实施例中,与激光器部件相关联的透光率误差的计算不同于由调制器部件的信号引起的透光率错误。

图5示出了示例集成激光器和调制器器件的计算透光率误差,其中较暗区域对应于较低的透光率误差而较亮区域对应于较大的透光率错误。

利用两个单独控制的部件,即激光器部件和调制器部件,可以战略性地增加这两个部件的输入信号。信号控制路径可以定义激光器部件输入电流和调制器部件输入信号的不同组合,以满足不同的透光率需求/请求。不同的信号控制路线将导致集成激光器和调制器设备的不同功耗分布。因此,可以选择不同的信号控制路线以最佳地匹配功耗要求和透光率要求。

图5示出了三个示例路径(标记为“路径1”、“路径2”和“路径3”),其定义了如何选择激光器组件输入电流和调制器组件输入信号以满足不同的目标透光率。

图6A示出了描绘单个激光器和图5中所示的示例信号控制路线的透光率误差相对于目标透光率的示例曲线图。图6A示出了相对于由单个激光器可实现的动态范围,由不同的信号控制路线促进的动态范围改进。

可以基于所选择的误差要求来评估动态范围改进。如图6A中的箭头指示,对于30%的最大误差,路径1和2可以促进大约30×(例如对应于大约4.9比特)的动态范围的改进,而路径3可以促进大约200×(例如对应于大约7.6比特)的动态范围的改进。对于24%的最大误差,路径1和2提供了比路径3更大的动态范围改进。

图6B示出了路径1、2和3的功耗与目标透光率的关系。从图6B中可以明显看出,路径3是控制激光器和调制器组件输入信号的最节能的方法(相对于路径1和2)。注意,图6B中使用的功耗是峰值功耗,而不是脉冲条件下的平均功率。

鉴于以上讨论,可以选择不同的信号控制路线来增加输入信号和透光率。可以基于透光率误差减少和功耗来选择路径。如上所述,在控制提供给一个或多个激光器部件和/或调制器部件的输入信号波形时,所选择的信号控制路径可以由控制器系统220来实现。

例如,控制器系统220可以获得或接收透光率需求或请求,其可以与用于形成图像的像素值相关联。控制器系统220然后可以基于信号控制路径来确定激光部件输入电流波形和调制器分量输入信号波形。

然后,控制器系统220可以将激光部件输入电流波形施加到激光部件,并且可以将调制器部件输入信号波形施加到调制器部件,从而使得激光器和调制器部件根据像素值发射选择性调制的光以照射像素,而像素值可以用于形成图像。

随后,控制器系统220可以获得或接收第二透光率需求或请求,其可以与用于形成图像的第二像素值相关联。控制器系统220然后可以基于信号控制路线来确定第二激光元件输入电流波形和第二调制器元件输入电压波形。

控制器系统220然后可以将第二激光器部件输入电流波形施加到激光器部件,并且可以将第二调节器部件输入信号波形施加到调制器部件,从而使得激光器和调制器部件根据第二像素值发射选择性调制的光以照射第二像素,而第二像素可以用于形成图像。在这方面,可以通过在每个像素的基础上施加不同的激光电流和/或调制器信号来控制像素值。

在一个实施例中,第二激光器部件输入电流波形和/或第二调制器部件输入信号波形具有/具有分别与第一透光率需求相关联的激光器部件输入电压波形和/或者调制器部件输入信号波形不同的幅度(例如根据信号控制路径)。

在一个实施例中,第二激光器部件输入电流波形和/或第二调制器部件输入信号波形具有/具有分别与第一透光率需求相关联的激光器部件输入电压波形和/或者调制器部件输入信号波形相同的幅度(例如根据信号控制路径)。

透光率需求可以与用于形成图像的任意数量的像素值相关联。例如,透光率需求可以与多个像素值相关联。激光元件输入电流波形定义一组连续像素值(或整个图像帧)的单个特定输入电流幅度。特定的输入电流幅度可以被施加和保持以照射连续像素,或者可以被脉冲化以照射连续的像素。

在一个实施例中,调制器分量输入信号波形(根据基于透光率需求的信号控制路径选择)定义了一组连续像素值(或整个图像帧)的单个特定输入信号幅度。特定的输入信号幅度可以施加和保持以照射连续的像素,或者可以脉冲化以照射连续像素。

不同的信号控制路线可以用于不同的操作条件。另外,对于由控制器系统220控制的不同集成激光器和调制器设备,可以选择不同的信号控制路线。实现控制一个或多个(集成的)激光器和调制器设备的期望信号控制路径可以有助于减轻输出光的透光率误差(并且因此可以有助于改善动态范围)。

在传统的AR设备中,激光控制方案控制激光器在每个像素处的目标透光率的输出,以生成视频流的图像帧。对于利用一个或多个MEMS扫描激光器的基于激光器的AR显示器,存在许多激光器控制方案。然而,传统的激光器控制方案不一定适用于发明所述的集成激光器和调制器装置。

下面涉及可用于集成激光器和调制器装置的多种控制方案,它们可以提供不同水平的信号控制灵活性、光误差减少和/或动态范围改进。在一个实施例中,可以基于调制器响应时间、显示内容的动态范围要求等来选择不同的控制方案。

图7示出了逐像素控制方法,其中激光器部件和调制器部件都发送单独的脉冲,并且器件信号控制为匹配每个像素处的目标光电平。

如图7所示,激光电流和调制器信号的幅度可以从一个像素改变到下一个像素。逐像素控制方法可以在信号控制方面提供显著的灵活性。如上所述,可以选择任意的信号增加路径来满足透光率误差和功耗的特定要求。当调制器和激光器响应时间足够快以确保符号间干扰(ISI)效应足够小时,可以使用逐像素控制方案。

有时候,调制器组件的响应时间不够快,无法实现逐像素控制方案。这可能是由于相邻调制器脉冲的距离小于调制器组件的响应时间,导致调制器工作在瞬态而不是稳态。因此,调制器脉冲将具有强烈依赖于其先前脉冲的参数的放大/衰减数。为了解决这种影响,可以使用策略性地将调制器设置为稳定状态的控制方案。

图8示出了“智能开关”控制方法,其中一致的调制器信号幅度应用于多个连续像素,并且其中调制器信号的幅度仅在比调制器组件的响应时间长的“空”间隔期间而调整。空间隔包括一系列连续的空像素(其中没有显示虚拟图像)。AR显示器通常具有稀疏的内容密度,使得空间隔在AR内容呈现中经常出现。可以在发送脉冲之前检测空间隔,并且可以在这种空间隔期间调整调制器的信号。

根据图8所示的智能开关控制方案,当发射激光脉冲时,调制器将处于稳定状态,从而消除了对调制器的放大/衰减效果的ISI校正的需要。然而,即使激光器处于“关闭”状态,调制器组件都将处于“打开”状态,这可能导致更高的功耗,甚至可能导致图像质量受到影响(由于相邻像素之间的额外光输出)。

图9示出了可替换的智能开关控制方案,其中调制器信号的幅度以与激光分量相同的速率被脉冲化,同时依然仅在空间隔期间切换调制器信号的振幅。

根据图9所示的智能开关控制方案,如果调制器组件的响应时间长于相邻像素之间的时间间隔,则调制器组件将在激光脉冲期间处于瞬态。然而,由于先前的调制器脉冲(没有中间的空间隔)将具有与当前脉冲相同的信号电平,因此可以容易地实现ISE效应校正以解决瞬态。

如果调制器信号幅度是从几个预先选择的信号幅度中选择的,则可以进一步简化ISI校正。当调制器组件响应时间不够快以实现逐像素控制方案时,智能开关控制方案可适用于有源像素块。

图10示出了逐帧控制方案,其类似于上面参考图8和图9描述的智能开关控制方案。在逐帧控制方案中,空间隔包括所呈现的视频流的连续图像帧之间的时间段。连续图像帧之间的时间段通常足够长,以使得能够改变调制器输入信号幅度,并允许调制器在发射激光脉冲时处于稳定状态。

在调制器响应时间太慢而无法实现逐像素控制方案或智能开关控制方案的情况下,可以实现逐帧控制方案。

图11示出了调制器部件可以在一帧的过程中以该帧的选定调制器输入信号幅度被脉冲化(类似于图9的智能开关控制方案)。逐帧控制方案可以有助于增强帧间动态范围。

在调制器组件响应足够快以解析纳秒级脉冲的实现中,可以采用以调制器为中心的控制方案来帮助最小化激光电流控制误差。半导体光放大器(SOA)通常具有快速响应时间,使其成为以调制器为中心的控制方案的优秀候选者。

在调制器同心控制方案中,激光电流幅度在空间隔期间(或在连续帧之间)修改,并且激光电流幅度可以在没有脉冲的情况下被施加在几个连续像素,或者可以用调制器部件进行脉冲。激光电流幅度可以从多个预先选择的电流幅度中选择。


相关专利


Microsoft Patent | Integrated laser and modulator systems

名为“Integrated laser and modulator systems”的
微软专利
申请最初在2022年10月提交,并在日前由美国专利商标局公布。