(
映维网Nweon
2024年04月01日
)在头显中使用基于波导的光学系统可能导致设备体积相对较大。另外,尽管这种基于波导的方法通常会产生相对较大的“视窗”,但用户的瞳孔通常比视窗的尺寸小得多,这意味着在任何给定的时刻,只有一小部分视窗用来浏览显示图像。这可能会导致相对大量的显示光浪费,并可能对设备功耗产生负面影响。
在名为“Optical array panel translation”的专利申请,
微软
提出了一种光学系统的设计。其中,所述光学系统可以有益地产生相对较小的,能够动态地跟随用户瞳孔位置的视窗,从而令设备尺寸和功耗总体减小。
具体地,头显设备包括发出显示光以呈现显示图像的显示面板。沿所述显示光的光路定位的光学阵列面板将所述显示光重定向至视窗以供查看。显示光从用户眼睛发射出去,并通过光学阵列面板反射回用户眼睛。
头戴式显示设备同时包括
眼动追踪
系统,后者用于估计用户眼睛相对于头戴式显示设备的当前瞳孔位置。基于当前瞳孔位置,使用致动器来平移光学阵列面板相对于显示面板的位置。这样做的效果是将视窗的位置移向用户眼睛的当前瞳孔位置,以便视窗动态地跟随用户的眼球运动。
图3示出用于头戴式显示设备的示例方法300。
在302,任选地包括呈现显示图像,以便通过头戴式显示设备呈现给用户眼睛。图像源在各种示例中实现为任何合适的计算机逻辑组件,例如合适的处理器或专用集成电路ASIC。
在304,在头戴式显示设备的显示面板处,向光学阵列面板发射显示光。所述光学阵列面板配置为将所述显示光重定向到用户眼睛可在其上看到所述显示图像的视窗。
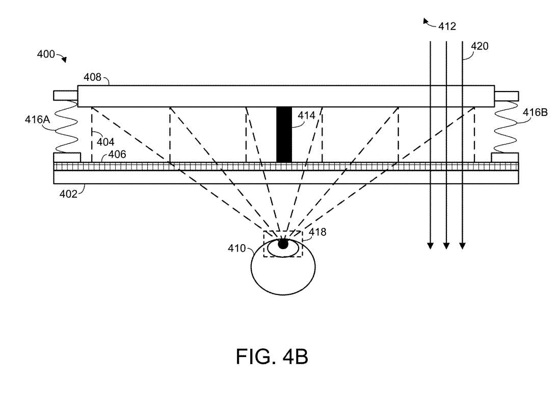
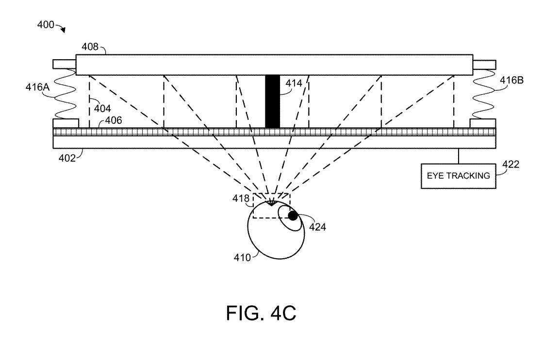
图4A图解说明了这一点。具体地,图4A示意性地示出了头戴式显示设备的示例显示组件400。显示组件包括显示面板402,用于发射显示光404并因此呈现显示图像。
所述显示面板可包括用于提供空间调制显示光的任何合适的图像形成技术。在一个实施例中,所述显示面板包括多个发射显示像素以发射所述显示光。
在图4中,显示面板402包括多个发射显示像素406。作为一个示例,多个显示像素作为μ
OLED
的一部分实现。与其他显示技术相比,使用这种发射显示技术提供了高对比度和清晰度的技术优势,同时可以降低总体功耗。
在图4A中,向光学阵列面板408发射显示光。光学阵列面板将显示光重定向到视窗以供用户眼睛410查看。在本例中,显示面板将显示光发射离用户眼睛并朝向周围的真实世界环境412。换句话说,所述显示面板位于用户眼睛和所述光学阵列面板之间。
在图4A中,显示组件同时包括设置在显示面板和光学阵列面板之间的间隔器414。所述间隔器以预定的分离距离将所述显示面板和所述光学阵列面板分开。
图4A另外示意性地示出两个致动器416A和416B。可以使用致动器来转换光学阵列面板相对于显示面板的位置。
如上所述,显示面板向所述光学阵列面板发射显示光。换句话说,光学阵列面板408沿着显示面板发出的显示光的光路定位。光学阵列面板然后将显示光重定向到用户眼睛可以看到的视窗。
图4B的图解再次显示显示组件400。在图4B中,由光学阵列面板将显示光重定向到视窗418。换句话说,所述显示光由所述光学阵列面板向用户眼睛反射,所述显示光经所述光学阵列面板反射后在到达用户眼睛的途中穿过所述显示面板。
光学阵列面板通常采用任何合适的光学元件或光学元件阵列的形式,并可用于将入站显示光重定向到特定方向。在一个实施例中,光学阵列面板配置为将显示光聚焦或对准远离光学阵列面板位置的目标位置,从而形成用户眼睛可在其上看到显示光的视窗。
这样,视窗的位置将取决于光学阵列面板相对于显示面板的位置。所以,视窗的位置可以通过一个或多个驱动器进行移动。。
在图4B的实施例中,视窗418的位置与用户眼睛410的瞳孔位置基本对齐。这样,由显示面板402发出的显示光404可被用户眼睛视为显示图像。但在典型使用过程中,眼睛瞳孔相对于头戴式显示设备的位置可能会改变。
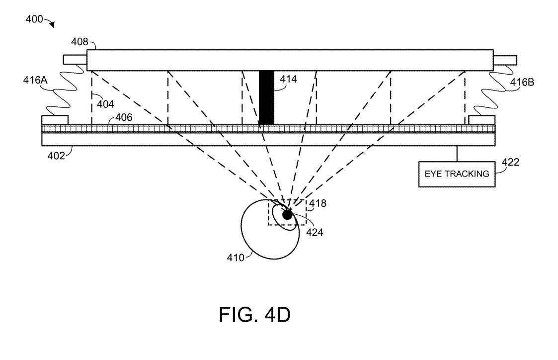
简单地回到图3,在306,方法300包括估计用户眼睛的当前瞳孔位置。参考图4C,在这个例子中,用户的眼睛已经旋转到不同的主食方向,改变了瞳孔相对于视窗的位置。头戴式显示设备可以包括眼动追踪系统422,用于估计用户眼睛相对于头戴式显示设备的当前瞳孔位置。在图4C中,当前瞳孔位置424位于视窗418的外侧。
简单地回到图3,在308,方法300包括平移光学阵列面板相对于显示面板的位置。这将致使视窗的位置向用户眼睛的当前瞳孔位置移动。所述过程通过图4D进行示意性说明。
在图4D中,使用致动器416A和416B平移光学阵列面板的位置,引起视窗418的相应运动。如图所示,视窗的位置发生了变化,使得其再次包括用户眼睛的当前瞳孔位置424,从而使用户能够查看与所发射的显示光相对应的显示图像。
在图4D的示例中,光学阵列面板的位置仅相对一维移动。但可以理解的是,光学阵列面板可以有任何合适的运动范围,这取决于显示组件的特定结构和所使用的致动器的类型。
在各种实施例中,光学阵列面板在一个、两个或三个空间维度可移动,从而使视窗的动态运动能够跟随眼球瞳孔位置的各种变化。另外,可以理解的是,在移动显示面板时,光学阵列面板在某些情况下可保持静止,和/或显示面板和光阵列面板各自可同时移动。
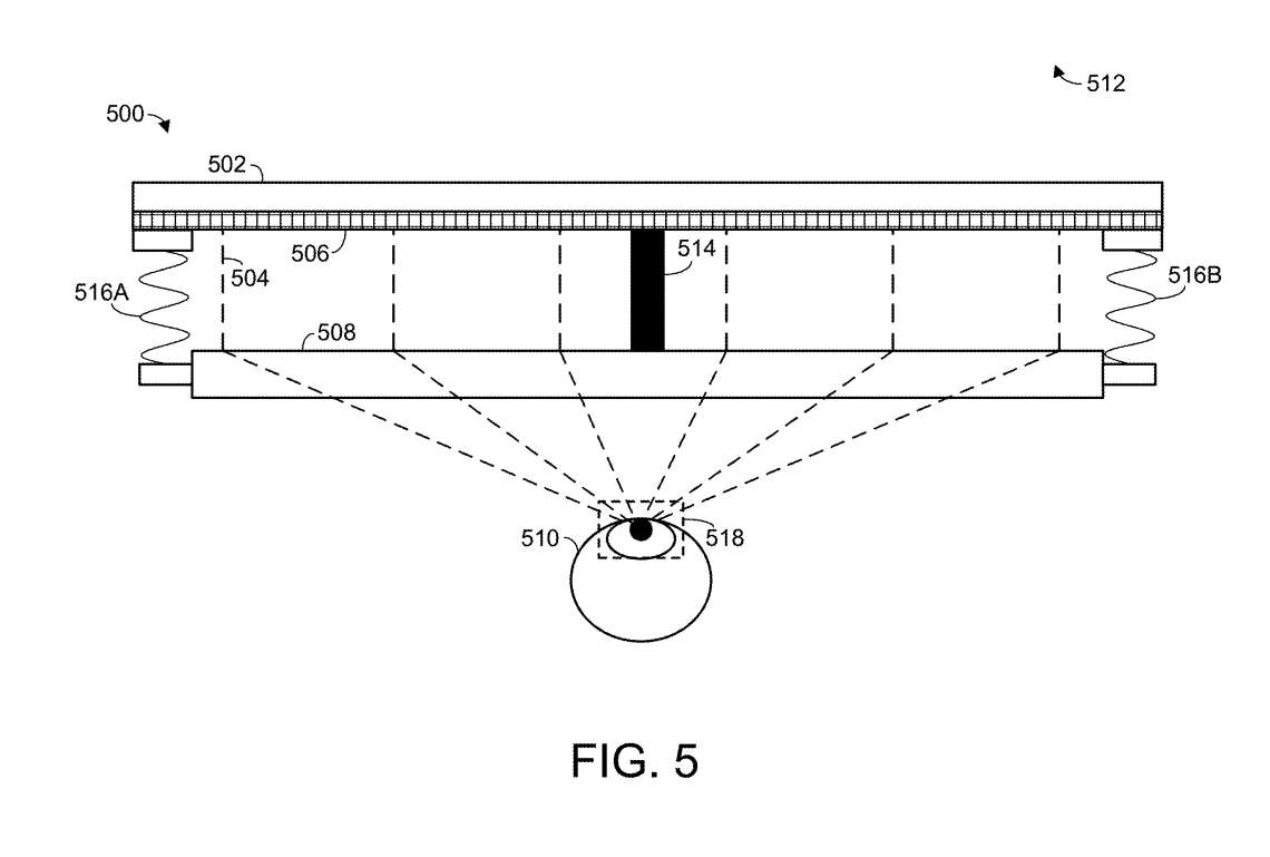
图5示出不同的示例显示组件500,其可提供类似于上述显示组件400的功能。然而,在这种情况下,光学面板位于显示面板和用户眼睛之间,并且显示面板向用户眼睛发射显示光,使得显示光在到达用户眼睛的途中穿过光学阵列面板。
更具体地说,显示组件500包括发出显示光504的显示面板502。这可以通过如上所述的多个发射显示像素506来完成。所述显示光通过光学阵列面板508,所述光学阵列面板将所述显示光重定向至用户眼睛510。在本例中,显示光向用户眼睛发射并远离周围的真实世界环境512,与上述显示组件400形成对比。
显示组件500另外包括间隔器514和致动器516A和516B,其每个都可以基本上如上所述起作用。例如,所述致动器用于平移所述光学阵列面板的位置并改变视窗518的位置,以动态追踪眼动追踪系统检测到的眼球运动。这有利于实现更小的视窗,更有效地利用显示光,节省电力,同时与基于波导的光学解决方案相比,使得头戴式显示设备的整体物理尺寸减小。
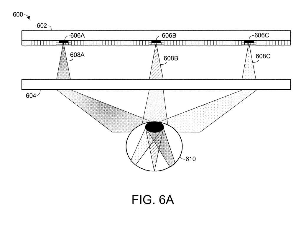
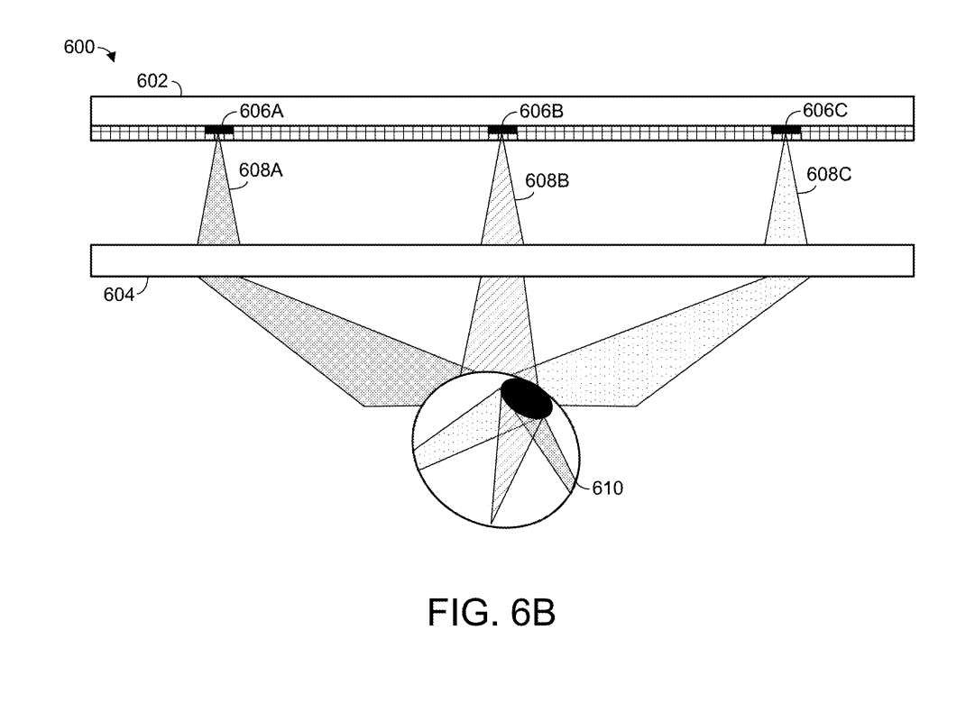
图6A-6C图解说明了使用光学阵列面板来重定向显示光的更多细节。具体地,图6A示意性地示出了另一个示例显示组件600,包括显示面板602和光学阵列面板604。所述显示面板包括配置为发出显示光的多个像素。
在图6A中,像素606A-606C分别发射各自的显示光608A-608C。为了清晰起见,使用不同的填充模式将图6A中不同像素所发射的不同组显示光彼此区分。
所述显示光608A-608C组通过所述光学阵列面板604,所述光学阵列面板将所述显示光重定向到用户眼睛610。
在一个实施例中,所述显示面板的每个像素与所述光学阵列面板的相应光学元件配对。光学阵列面板的光学元件根据所使用的特定光学阵列技术采取各种合适的形式。
图6B示意性地示出在其中用户眼睛已旋转以具有不同主食矢量的场景中的显示面板600。这影响显示面板发出的显示光如何进入用户眼睛并在眼睛视网膜形成图像。这反过来又会给用户带来不受欢迎的视觉体验。由显示组件呈现的显示图像可能具有模糊的外观。
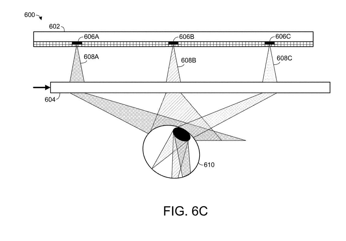
如上所述,头戴式显示设备包括用于估计用户眼睛当前瞳孔位置的眼动追踪系统,以及用于至少部分地基于当前瞳孔位置转换光学阵列面板位置的一个或多个致动器。
因此在图6C中,光学阵列面板的位置以影响其向用户眼睛的显示光重定向的方式移位。
具体而言,在图6C中,显示光608C现在已经完全准直,并在眼睛视网膜形成聚焦图像。换句话说,所述光学阵列面板的显示像素606C及其对应的光学元件设计为当用户眼睛具有图6C所示的位置/主食矢量时,将显示光完全准直至瞳孔和眼睛中心。
相关专利
:
Microsoft Patent | Optical array panel translation
名为“Optical array panel translation”的
微软专利
申请最初在2022年9月提交,并在日前由美国专利商标局公布。