/ Nweon / 0浏览

2024年03月30日美国专利局新申请AR/VR专利摘选



映维网Nweon
2024年03月30日

)近期美国专利及商标局公布了一批全新的AR/VR专利,以下是映维网的整理(详情请点击专利标题),一共91篇。更多专利披露请访问映维网专利板块
https://patent.nweon.com/
进行检索,你同时可以加入映维网AR/VR专利交流微信群(详见文末)。


1. 《
Meta Patent | Hybrid electrically and thermally switchable system using heat source(Meta专利:使用热源的混合电动和热切换系统)

在一个实施例中,专利描述的光学装置包括第一光学可调光开关,其用于在第一光学可变光开关处于第一状态时提供第一透射率,并且在第一光学可变光开关处于不同于第一状态的第二状态时提供不同于第一透射率的第二透射率。光学装置同时包括与第一光学可调光开关热耦合的动态热源。动态热源在第一时间处于第一温度,并且在与第一时间互斥的第二时间处于与第一温度不同的第二温度。光学装置可以作为光学调光设备操作,并可以用于头戴式显示设备或作为可调光的窗口或快门。


2. 《
Meta Patent | Adaptive anc based on environmental triggers(Meta专利:基于环境触发器的自适应ANC)

在一个实施例中,专利描述的方法可以包括经由声音再现系统应用减少各种声音信号的幅度的声音消除;在声音信号中识别其幅度将通过声音消除而减小的外部声音;然后,分析所识别的外部声音,以确定是否将使所识别的内部声音对用户可听,并且在确定将使外部声音对用户可听时,修改声音消除,以使所识别外部声音对用户可听。


3. 《
Meta Patent | Ar interactions and experiences(Meta专利:AR交互与体验)

在一个实施例中,专利描述的方法可以检测关于一组虚拟对象的交互,所述交互可以从特定的手势开始,并且基于进一步的交互针对一个或多个虚拟对象采取动作。系统可以自动审查3D视频以确定所描绘的用户或化身运动模式。


4. 《
Meta Patent | Haptic ring(Meta专利:触觉环)

在一个实施例中,可佩戴触觉指环可设计为使用与环无缝集成的触摸板围绕佩戴者的人类手指弯曲。例如,无缝集成的接触板可由佩戴者的另一根手指操作。另外,触觉环可以包括触觉反馈单元,触觉反馈单元设计为响应于来自佩戴者的输入而提供触觉反馈。


5. 《
Meta Patent | Compact display engine with arrayed illumination source(Meta专利:具有阵列照明源的紧凑型显示引擎)

在一个实施例中,专利描述的显示引擎包括阵列光源面板,阵列光源面板包括可单独寻址的光源的光源阵列,每个光源配置为发射与第一波长带相关联的第一光束。显示引擎同时包括光束成型模块。光束成型模块包括光束整形元件,每个光束成型元件配置为成型第一光束的第一光束轮廓并输出具有第二光束轮廓的第二光束。所述显示引擎同时包括透射式显示驱动器面板,所述透射式显示驱动面板包括与像素化颜色转换模块集成的显示驱动器模块,所述像素化颜色转换器模块包括配置为将所述第二光束至少部分地转换成与第二波长带相关联的第三光束的多个颜色转换单元。显示引擎同时包括有源光调制介质,其配置为调制用于显示图像的第三光束。


6. 《
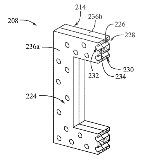
Apple Patent | Cushion assembly for wearable devices(苹果专利:可穿戴设备的垫件)

在一个实施例中,用于可穿戴电子设备的垫件包括聚合物结构和泡沫。聚合物结构可以包括限定第一孔隙和第二孔隙的层状部分、从第一孔隙的外围边缘延伸的第一管结构和从第二孔隙外围边缘延伸出的第二管结构。泡沫可以设置在第一管结构和第二管结构之间。


7. 《
Apple Patent | Panel cleaning system(苹果专利:面板清洁系统)

在一个实施例中,专利描述的头戴式设备包括面向外部的传感器,传感器配置为产生与外部环境的特性相对应的信号。控制器配置为确定信号的质量低于阈值,并作为响应采取行动。另一实施例包括用于存储头戴式设备的壳体,头戴式设备包括与壳体的基座或盖联接的清洁器。清洁器配置为当头戴式设备插入到壳体中和/或从壳体移除时清洁头戴式设备的一部分。


8. 《
Apple Patent | Frame-based channel access using fixed frame period(苹果专利:使用固定帧周期的基于帧的信道访问)

在一个实施例中,专利描述了接收帧的第二电子设备。所述第二电子设备包括:通信地耦合到天线的天线节点;以及通信地耦合到天线节点,与电子设备通信的第二接口电路。在操作期间,第二接口电路接收与电子设备相关联的帧,其中帧包括电子设备使用基于帧的设备(FBE)信道接入技术的指示和FBE信道接入技术属性。属性包括:FBE信道接入技术的持续时间,以及FBE信道访问技术期间用于通信的固定帧周期(FFP)。另外,这个框架与电气和电子工程师协会802.11标准兼容。


9 《
Apple Patent | Frame-based channel access technique(苹果专利:基于帧的信道访问技术)

在一个实施例中,专利描述了一种提供帧的电子设备(例如接入点)。所述电子设备包括:通信地耦合到天线的天线节点;以及通信地耦合到天线节点,与第二电子设备通信的接口电路。在操作期间,接口电路可以提供寻址到第二电子设备的帧,其中帧包括电子设备使用基于帧的设备(FBE)信道接入技术的指示和FBE信道接入技术属性。属性可以包括:FBE信道接入技术的持续时间,以及在FBE信道访问技术期间用于通信的固定帧周期(FFP)。另外,这个框架与电气和电子工程师协会802.11标准兼容。


10. 《
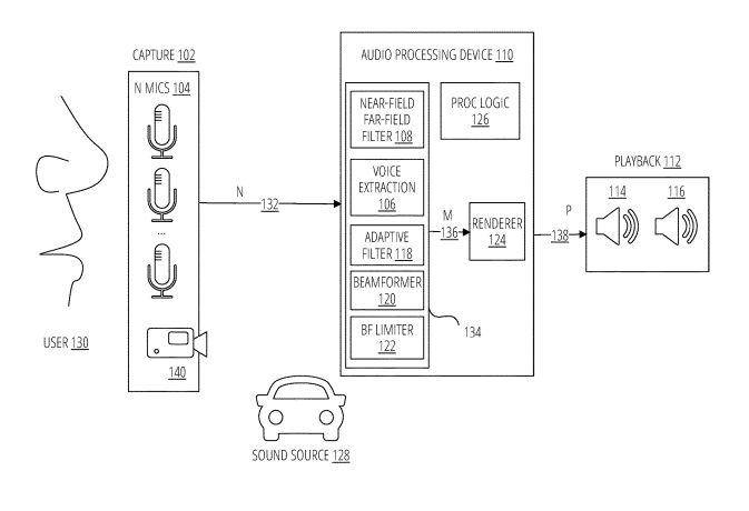
Apple Patent | Spatial capture with noise mitigation(苹果专利:具有降噪功能的空间捕获)

在一个实施例中,专利描述的设备可以包括佩戴在用户头部的麦克风。设备可以包括处理器,处理器配置为从多个麦克风获得麦克风信号。处理器可以通过处理麦克风信号来衰减来自用户的呼吸声,从而产生衰减的麦克风信号。处理器可以基于多个衰减的麦克风信号来呈现一个或多个输出音频通道。


11. 《
Apple Patent | Relocation of sound components in spatial audio content(苹果专利:空间音频内容中声音分量的迁移)

在一个实施例中,用于重新定位空间音频内容的声场中的声音分量的方法可以包括识别用于重新定位的声音分量。识别用于重新定位的声音分量可以包括确定声音分量位于声场中的中心区域内。声音分量可以与空间音频内容中的一个或多个非中心声音分量分离。声音分量可以重新定位到声场中的中心区域之外的声场中的位置。重新定位的声音分量可以与一个或多个非中心声音分量集成,以提供集成的空间音频内容。


12. 《
Apple Patent | Synchronization circuitry for reducing latency associated with image passthrough(苹果专利:用于减少与图像透视相关的延迟的同步电路)

在一个实施例中,专利描述了一种同步内容生成和传递架构以减少与图像透视相关联的延迟的方法。所述方法包括:确定与内容生成和传递架构相关联的时间偏移,以减少内容生成和交付架构的光子到光子延迟;获得与所述内容生成和递送架构的一部分相关联的第一参考速率;经由同步电路至少部分地基于所述第一参考速率来生成用于所述内容生成和递送架构的同步信号;以及根据同步信号和时间偏移来操作内容生成和传送架构。


13. 《
Apple Patent | Parameter selection for media playback(苹果专利:媒体播放参数选择)

在一个实施例中,专利描述的方法包括使用基于一个或多个情景因素选择的参数在3D环境内提供视频内容。可以基于内容的属性、用户、3D环境或其他情景属性来确定这样的情景因素。


14. 《
Apple Patent | Stereoscopic floating window metadata(苹果专利:立体浮动窗口元数据)

在一个实施例中,专利描述了用于解决立体多媒体内容中的“立体窗口违规”的技术。立体窗口违规导致观看者的立体效果变得“破碎”,并且可能发生,例如当立体内容中的左右立体眼视图不匹配时。立体失配经常发生在左眼视频图像帧和右眼视频图像帧的边缘处。根据发明,不是永久地屏蔽或以其他方式编辑立体视频内容以解决任何窗口违规,而是为立体视频生成伴随的立体窗口违规元数据信息,其可以用于定义每个左眼和右眼视频图像帧对的特定几何形状,并且在播放时用于裁剪、屏蔽或以其它方式修改视频图像帧。


15. 《
Apple Patent | Method and system for generating at least one image of a real environment(苹果专利:用于生成真实环境的至少一个图像的方法和系统)

在一个实施例中,专利描述的方法包括提供与所述真实环境的所述至少一部分相关的至少一种环境特性,提供与虚拟对象相关的至少1个虚拟对象特性,根据所述至少1个提供的虚拟对象特性和所述至少2个提供的环境特性来确定至少一个成像参数,以及根据所确定的至少1种成像参数来生成表示关于离开所述现实环境的光的信息的所述真实环境的至少一幅图像。


16. 《
Apple Patent | Method and system for encoding loudness metadata of audio components(苹果专利:用于对音频组件的响度元数据进行编码的方法和系统)

在一个实施例中,专利描述的方法包括接收与音频场景相关联的音频分量,其中音频分量包括音频信号;基于音频信号确定该音频分量的响度级别,接收音频分量目标响度级别,并通过对该音频信号进行编码并包括具有该响度级别和该目标响度水平的元数据来产生具有该音频分量比特流,以及将比特流发送到电子设备。


17. 《
Apple Patent | Method and system for deferring loudness adjustments of audio components(苹果专利:推迟音频组件响度调整的方法和系统)

在一个实施例中,专利描述了一种包括接收比特流的方法,所述比特流包括:与音频场景相关联的第一音频分量的第一信号、由编码器侧基于所述第一信号确定的第一目标响度和第一源响度,以及与所述场景相关联的第二音频分量的第二信号、由所述编码器侧基于第二信号确定的第二目标响度、和第二源响度;基于所述第一源响度和目标响度来确定第一增益;基于所述第二源响度和目标响度来确定第二增益;通过将第一增益应用于第一信号来产生第一增益调整信号;通过将第二增益应用于第二信号来产生第二增益调整信号;以及通过将增益调整后的音频信号组合成一组信号来产生包括第一和第二音频分量的场景。


18. 《
Apple Patent | Interactive reading assistant(苹果专利:交互式阅读助手)

在一个实施例中,专利描述的方法包括获得指示与电子设备的用户相关联的语音熟练度值的语音熟练程度值指示符;响应于确定语音熟练度值满足阈值熟练度值,经由显示设备显示训练文本;从所述音频传感器获得与所述训练文本相关联的语音数据,其中所述语音数据由所述语音熟练度值表征;使用语音分类器,基于语音数据内的语言特征来确定语音数据的一个或多个语音特征向量;以及基于所述一个或多个语音特征向量和所述语音熟练度值来调整所述语音分类器的一个或更多个运算值。


19. 《
Apple Patent | Lens distance test for head-mounted display devices(苹果专利:头戴式显示设备的透镜距离测试)

在一个实施例中,头显配置为基于一系列捕获的眼睛图像来确定眼睛的当前姿势。姿势信息用于确定从角膜顶点到晶状体上最近点的距离。如果确定的距离太小或太大,则生成警报或通知,指示调整头显或改变光封以实现更好的距离,从而降低眼睛受伤的风险和/或改善用户体验。在实施例中,可以在用户会话期间重复透镜距离测试,以重新评估和/或监测透镜距离。


20. 《
Apple Patent | Synthetic gaze enrollment(苹果专利:合成注视配准)

在一个实施例中,使用个性化的眼睛模型来生成真实眼睛姿态Gg的合成注视特征。使用平均眼睛模型从合成注视特征中估计相应的合成注视姿态Gs。在Gg和Gs之间应用线性回归以生成注视校正函数。注视校正函数表示对象眼睛在显示器处的合成注视Gs与平均眼睛模型Gg在显示器的合成注视之间的差异,但不包含安全或隐私敏感信息。另外,个性化的眼睛模型不能从注视校正功能中恢复,因此注视校正功能可以未加密地存储,并且可在登录之前的设备冷启动期间使用。在设备的冷启动时,可以访问注视校正功能,并将其与平均眼睛模型一起使用,以改进基于注视的交互。


21. 《
Apple Patent | User eye model match detection(苹果专利:用户眼睛模型匹配检测)

在一个实施例中,当用户激活设备并且检测到用户眼睛的存在时,捕获用户眼睛的图像。然后实现眼睛模型匹配过程以确定与所捕获的图像中的眼睛最匹配的存储的眼睛模型。最佳匹配的眼睛模型的确定可以基于所捕获的图像中的用户眼睛的特性与由眼睛模型确定的用户眼睛特性之间的匹配。然后可以在例如眼睛注视追踪过程中实现最佳匹配的眼睛模型。


22. 《
Apple Patent | On head detection based on simulated proximity sensor using ir cameras(苹果专利:基于红外摄像头模拟接近传感器的头部检测)

在一个实施例中,用于检测邻近对象的系统包括一个或多个摄像头和一个或更多个照明器。通过获得由所述一个或多个摄像头捕获的图像数据来检测所述邻近对象,其中当所述一种或多种照明器中的至少一种被照明时捕获所述图像数据,然后从所述图像中确定亮度统计,以及确定所述亮度统计是否满足预定阈值。根据亮度统计满足预定阈值的确定来确定检测邻近对象。


23. 《
Apple Patent | Methods for time of day adjustments for environments and environment presentation during communication sessions(苹果专利:一天中调整环境时间的方法和沟通过程中的环境展示)

在一个实施例中,计算机系统将一天中的时间设置应用于虚拟环境。在一个实施例中,基于事件来更新一天中的时间设置。在一个实施例中,计算机系统以扩展显示模式显示内容。在一个实施例中,计算机系统加入通信会话,同时保持各个环境的显示。在一个实施例中,计算机系统共享虚拟环境。计算机系统可以显示具有模拟照明的媒体。计算机系统可以共享一个环境。在一个实施例中,计算机系统选择相对于内容的位置。计算机系统可以基于内容来呈现通信会话参与者的表示。计算机系统可以呈现用户界面以控制包括媒体的环境的视觉外观。计算机系统可以基于环境模式来改变环境的外观。


24. 《》

在一个实施例中,可以向用户呈现三维计算机生成的环境。用户可以通过将输入设备指向真实世界对象并追踪真实世界对象的轮廓来在计算机生成的环境内创建真实世界对象中的虚拟表示。虚拟表示可以包括体素。用户可以基于输入设备检测到的选择输入、释放输入和可选的移动输入,通过在计算机生成的环境内的虚拟位置处沉积或移除体素来编辑虚拟表示或创建由体素形成的新虚拟对象。


25. 《》

在一个实施例中,可以向用户呈现三维计算机生成的环境。用户可以通过将输入设备指向真实世界对象并追踪真实世界对象的轮廓来在计算机生成的环境内创建真实世界对象中的虚拟表示。虚拟表示可以包括体素。用户可以基于输入设备检测到的选择输入、释放输入和可选的移动输入,通过在计算机生成的环境内的虚拟位置处沉积或移除体素来编辑虚拟表示或创建由体素形成的新虚拟对象。


26. 《
Apple Patent | Devices, methods, and graphical user interfaces for interacting with window controls in three-dimensional environments(苹果专利:用于在三维环境中与窗口控件交互的设备、方法和图形用户界面)

在一个实施例中,当在三维环境的第一视图中的第一位置处显示第一对象时,计算机系统显示一个或多个控制对象的第一集合,其中一个或更多个控制对象中的第一集合的相应控制对象对应于可应用于第一对象的相应操作。响应于检测到与在三维环境中移动第一对象的请求相对应的第一用户输入,计算机系统:将第一对象从第一位置移动到第二位置,并且在将第一对象自第一位置移动至第二位置的同时,在视觉上相对于第一对象减弱与可应用于第一对象的相应操作相对应的一个或多个控制对象的第一集合中的至少一个。


27. 《
Apple Patent | Visual techniques for 3d content(苹果专利:三维内容的视觉技术)

在一个实施例中,专利描述的方法提供3D环境的视图,然后基于立体项目的一个或多个部分的纹理来提供一种或多种视觉效果。


28. 《
Apple Patent | User interfaces for capturing media and manipulating virtual objects(苹果专利:用于捕获媒体和操纵虚拟对象的用户界面)

在一个实施例中,专利描述的电子设备提供扩展的现实体验。在一个实施例中,显示包括捕获指南的媒体捕获用户界面。在一个实施例中,注视信息用于定位。在一个实施例中,可以操纵虚拟对象。


29. 《
Apple Patent | Dynamically adjustable distraction reduction in extended reality environments(苹果专利:可在扩展现实环境中动态调整分心减少)

在一个实施,扩展现实环境可以由扩展现实系统生成,扩展现实系统包括头戴式显示器、一组传感器和配置为进入聚焦模式的处理器。其中,聚焦模式可以减少扩展现实环境中的分心。当处于聚焦模式时,相关过程可以使用该组传感器接收用户周围的物理环境的成像数据,并生成扩展现实环境。


30. 《
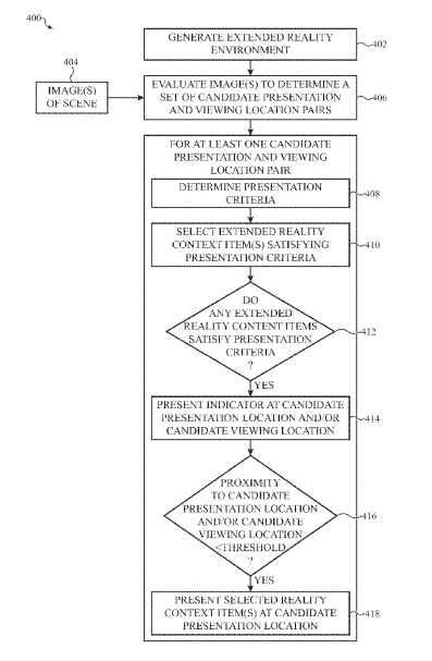
Apple Patent | Contextual presentation of extended reality content(苹果专利|扩展现实内容的上下文呈现)

对物理环境的图像进行评估,以确定扩展现实环境中扩展现实内容项目的候选呈现位置,每个项目都具有相关的呈现标准。满足相关呈现标准的扩展现实内容项在扩展现实环境的候选呈现位置处呈现。


31. 《
Apple Patent | Spatially aware playback for extended reality content(苹果专利:扩展现实内容的空间感知播放)

在一个实施例中,以空间感知的方式在扩展现实环境中呈现视频,使得视频的每一帧在扩展真实环境中的位置基于捕捉视频的摄像头的位置、定向和视场中的一个或多个。


32. 《
Apple Patent | Devices, methods, and graphical user interfaces for interacting with three-dimensional environments(苹果专利:用于与三维环境交互的设备、方法和图形用户界面)

在一个实施例中,在显示应用程序用户界面时,响应于检测到对输入设备的第一输入,计算机系统根据所述应用程序用户接口处于第一显示模式的确定,其中所述第一显示模式包括其中仅显示所述应用程序用户界面的内容的沉浸式模式,经由所述显示生成组件以第二显示模式显示所述应用程序用户界面,其中,所述第二显示方式包括其中同时显示所述应该用程序用户接口的相应内容和其他内容的非沉浸式模式,并且根据所述应程序用户接口位于所述第三显示模式的判断,所述计算机系统通过显示主菜单用户界面来替换所述应用软件用户界面的至少一部分的显示。经由显示生成组件。


33. 《
Apple Patent | Devices, methods, and graphical user interfaces for interacting with three-dimensional environments(苹果专利:用于与三维环境交互的设备、方法和图形用户界面)

在一个实施例中,专利描述的计算机系统响应于检测到可旋转输入机制的第一输入,根据第一输入是第一类型输入的确定:将与由显示生成组件生成的XR环境的显示相关联的沉浸水平改变为第一沉浸水平,在第一沉浸水平中,XR环境的显示同时包括来自应用程序的虚拟内容和计算机系统的物理环境的透视部分。根据第一输入是第二类型输入的确定:计算机系统执行不同于改变与XR环境的显示相关联的沉浸水平的操作。


34. 《
Apple Patent | User interfaces for managing live communication sessions(苹果专利:用于管理实时通信会话的用户界面)

在一个实施例中,计算机系统可选地显示邀请相应用户加入正在进行的通信会话的选项。计算机系统可选地一个或多个选项来修改代表计算机系统的用户的化身的外观。计算机系统可选地将通信会话从空间通信会话转换为非空间通信会话。计算机系统可选地显示关于通信会话中的参与者的信息。


35. 《
Apple Patent | User interfaces that include representations of the environment(苹果专利:包含环境表示的用户界面)

在一个实施例中,专利描述了用于在扩展现实环境中与虚拟对象交互的技术和用户界面。所述用户界面用于在扩展现实环境中与虚拟对象交互,包括相对于环境重新定位虚拟对象。在一个实施例中,所述技术和用户界面用于与扩展现实环境中的虚拟对象交互,所述虚拟对象包括提供对环境的不同视角的虚拟对象。


36. 《
Apple Patent | Methods for depth conflict mitigation in a three-dimensional environment(苹果专利:在三维环境中缓解深度冲突的方法)

在一个实施例中,计算机系统通过减少虚拟对象的一个或多个部分的视觉突出度来促进与三维环境中的一个或者多个物理对象接触的虚拟对象的深度冲突减轻。在一个实施例中,计算机系统通过响应于检测到用户的一个或多个部分而将视觉效果应用于一个或更多个虚拟对象来调整三维环境中一个或更少个虚拟对象的可见性。在一个实施例中,计算机系统根据与虚拟对象的参与程度来修改视觉突出度。


37. 《
Apple Patent | Devices and methods for generating virtual objects(苹果专利:生成虚拟对象的设备和方法)

在一个实施例中,电子设备呈现用于生成与电子设备检测到的真实世界对象相对应的虚拟对象的用户界面,其中用户界面包括与真实世界对象的各个部分相对应的可选选项。响应于接收到对真实世界对象的第一部分的选择,电子设备根据真实世界对象第一部分更新用户界面和相应的可选选项。


38. 《
Apple Patent | Methods for generating virtual objects and sound(苹果专利:生成虚拟对象和声音的方法)

在一个实施例中,电子设备可以用于生成虚拟对象。为了减少在虚拟对象中发生的不期望的伪影,虚拟指针元素从输入设备的一部分偏移,并且用于在三维环境中生成虚拟对象。在一个示例中,为了改善生成的虚拟对象的视觉特性,可以应用包括各种物理模式的弹性模型。在一个示例中,声音是响应于虚拟指针元素的移动而产生。


39. 《
Apple Patent | Object replacement for reducing distractions in extended reality environments(苹果专利:在扩展现实环境中减少分心的对象替换)

在一个实施例中,扩展现实环境可以由扩展现实系统生成,扩展现实系统包括头戴式显示器、一组传感器和配置为进入聚焦模式的处理器,其中聚焦模式减少扩展现实环境中的分心。当处于聚焦模式时,可以使用该组传感器接收用户周围的物理环境的成像数据,并生成扩展现实环境。


40. 《
Apple Patent | Methods for time of day adjustments for environments and environment presentation during communication sessions(苹果专利:一天中调整环境时间的方法和通心过程中的环境展示)

在一个实施例中,计算机系统将一天中的时间设置应用于虚拟环境。在一个实施例中,基于事件来更新一天中的时间设置。在一个实施例中,计算机系统以扩展显示模式显示内容。在一个实施例中,计算机系统加入通信会话,同时保持各个环境的显示。在一个实施例中,计算机系统共享虚拟环境。计算机系统可以显示具有模拟照明的媒体。计算机系统可以共享一个环境。在一个实施例中,计算机系统选择相对于内容的位置。计算机系统可以基于内容来呈现通信会话参与者的表示。计算机系统可以呈现用户界面以控制包括媒体的环境的视觉外观。计算机系统可以基于环境模式来改变环境的外观。


41. 《
Apple Patent | Representations of participants in real-time communication sessions(苹果专利:实时通信会议参与者的表示)

在一个实施例中,专利描述的计算机系统可选地基于与参与者相关联的活动来修改参与者的表示。计算机系统可选地显示计算机系统的用户的化身的自视表示。计算机系统可选地在实时通信会话中更新化身的视图。计算机系统可选地显示实时通信会话中的参与者的表示。


42. 《
Apple Patent | Rigging an object(苹果专利:操纵一个对象)

在一个实施例中,专利描述的方法包括确定一组一个或多个视觉外观值,所述视觉外观值指示要放置在环境中的对象的视觉外观;基于一个或多个视觉外观值的集合来选择Rig,从而允许对象被操纵以在环境中表现出运动;通过将Rig的关节与对象的各个部分相关联来将Rig应用于对象;通过操纵与对象相关联的装备的关节,在环境中设置对象的动画。


43. 《
Apple Patent | Techniques for enabling drawing in a computer-generated reality environment(苹果专利:在计算机生成现实环境中实现绘图的技术)


44. 《
Apple Patent | Operating modes for reducing distraction in extended reality environments(苹果专利:在扩展现实环境中减少分心的操作模式)

在一个实施例中,扩展现实环境可以由扩展现实系统生成,扩展现实系统包括头戴式显示器、一组传感器和配置为进入聚焦模式的处理器,其中聚焦模式减少扩展现实环境中的分心。当处于聚焦模式时,可以使用该组传感器接收用户周围的物理环境的成像数据,并生成扩展现实环境。


45. 《
Apple Patent | Methods for camera calibration via bundle adjustment(苹果专利:通过束调整校准摄像头的方法)

在一个实施例中,使用具有重叠视场的摄像头,可以使用优化技术来确定摄像头相对于彼此的相对旋转参数。然后可以对针对多个时刻确定的摄像头的相对旋转参数进行统计分析,以提供更新的相对旋转参数,并用于摄像头的重新校准。


46. 《
Apple Patent | Method and device for generating metadata estimations based on metadata subdivisions(苹果专利:基于元数据细分生成元数据估计的方法和设备)

在一个实施例中,专利描述的方法包括:获取输入图像;获得与所述输入图像相关联的元数据;将所述元数据细分为多个元数据细分;基于头部姿态信息和
眼动追踪
信息中的至少一个来确定相对于输入图像的视口;通过基于所述视口对所述多个元数据细分的至少一部分执行估计算法来生成一个或多个元数据估计;以及通过基于所述一个或多个元数据估计对所述输入图像执行图像处理算法来生成输出图像。


47. 《
Apple Patent | Deep learning based causal image reprojection for temporal supersampling in ar/vr systems(苹果专利:用于AR/VR系统中的时间超采样的基于深度学习的因果图像重投影)

在一个实施例中,生成合成数据包括由可穿戴设备的一个或多个摄像头以第一帧速率捕获场景的一个或者多个帧,确定这些帧的身体位置参数,以及根据一个或者更多个帧获得场景的几何数据。将帧、身体位置参数和几何数据应用于训练的网络。关于虚拟数据,生成合成帧包括根据所述一个或多个帧确定当前身体位置参数,基于所述当前身体位置参量预测未来注视位置,以及根据所述未来注视位置以第一分辨率渲染帧的注视区域。以第二分辨率为帧预测外围区域,并且组合的区域形成用于驱动显示器的帧。


48. 《
Apple Patent | Low-latency video matting(苹果专利:低延迟视频matting)

在一个实施例中,专利描述的设备可以包括:存储器;一个或多个图像捕获设备;显示屏;以及可操作地耦合到所述存储器的一个或多个处理器,其中所述一个或一个以上处理器经配置以执行指令,所述指令致使所述一者或一个多个处理器:获得用于场景的第一所捕获图像的二元分割掩码,其中,所述二元分割掩码具有第一分辨率且经配置以从图像中分割出至少第一类型的对象;获得所述场景的第二捕获图像,其中所述第二捕获的图像具有大于所述第一分辨率的第二分辨率;以及将所述二进制分割掩码和缩小到所述第一分辨率的所述第二捕获图像的版本作为输入馈送到第一训练的ML模型。其中,所述第一训练的ML-模型的输出包括为所述场景的第二捕获的图像生成的阿尔法matte,其中,生成的阿尔法matte具有所述第一解析度,并且其中,所生成的阿尔法matte中的值指示所述第一培训的ML模型对所述第三捕获的图像的对应部分是否包括所述第一类型的对象的置信水平。最后,设备然后可以根据生成的阿尔法matte对第二捕获图像执行第一阿尔法感知图形处理操作。


49. 《
Apple Patent | Methods for interacting with user interfaces based on attention(苹果专利:基于注意力与用户界面交互)

在一个实施例中,显示基于对注视虚拟对象的关注可选择的注视虚拟对象,以执行与可选择虚拟对象相关联的操作。显示用户的注意力的指示。显示用户界面的区域的放大视图。基于用户的注意力来调整滑块元素的值。基于用户的注意力以相应的速率移动用户界面元素。响应于语音输入,文本被输入到文本输入字段中。基于用户的注意力来更新值选择用户界面对象的值。基于直接触碰交互来促进虚拟对象的移动。便于用户输入以显示选择细化用户界面对象。当满足标准时,显示指示选择虚拟对象的进度的视觉指示器。


50. 《
Apple Patent | Methods for interacting with user interfaces based on attention(苹果专利:基于注意力与用户界面交互)

在一个实施例中,显示基于对注视虚拟对象的关注可选择的注视虚拟对象,以执行与可选择虚拟对象相关联的操作。显示用户的注意力的指示。显示用户界面的区域的放大视图。基于用户的注意力来调整滑块元素的值。基于用户的注意力以相应的速率移动用户界面元素。响应于语音输入,文本被输入到文本输入字段中。基于用户的注意力来更新值选择用户界面对象的值。基于直接触碰交互来促进虚拟对象的移动。便于用户输入以显示选择细化用户界面对象。当满足标准时,显示指示选择虚拟对象的进度的视觉指示器。


51. 《
Apple Patent | Devices, methods, and graphical user interfaces for interacting with three-dimensional environments(苹果专利:用于与三维环境交互的设备、方法和图形用户界面)

在一个实施例中,计算机系统检测指向环境中的区域的注视输入,并且在检测注视输入的同时检测触碰输入。作为响应,计算机系统在与该区域相对应的位置处显示焦点指示符。计算机系统检测触碰输入的延续,该延续包括触碰输入在保持在输入表面上的同时沿着输入表面的移动。作为响应,计算机系统根据触碰输入的移动来移动焦点指示器:在应用程序的用户界面内,如果移动对应于在用户界面内移动焦点指示器的请求;并且如果移动对应于将焦点指示器移动到用户界面的边界之外的请求,则在用户界面内而不将焦点指示器移到用户界面边界之外。


52. 《
Apple Patent | Methods for time of day adjustments for environments and environment presentation during communication sessions(苹果专利:一天中调整环境时间的方法和通心过程中的环境展示)

在一个实施例中,计算机系统将一天中的时间设置应用于虚拟环境。在一个实施例中,基于事件来更新一天中的时间设置。在一个实施例中,计算机系统以扩展显示模式显示内容。在一个实施例中,计算机系统加入通信会话,同时保持各个环境的显示。在一个实施例中,计算机系统共享虚拟环境。计算机系统可以显示具有模拟照明的媒体。计算机系统可以共享一个环境。在一个实施例中,计算机系统选择相对于内容的位置。计算机系统可以基于内容来呈现通信会话参与者的表示。计算机系统可以呈现用户界面以控制包括媒体的环境的视觉外观。计算机系统可以基于环境模式来改变环境的外观。


53. 《
Apple Patent | Convergence during 3d gesture-based user interface element movement(苹果专利:基于三维手势的用户界面元素移动过程中的会聚)

在一个实施例中,在3D环境中,以用户界面元素看起来落后于或跟随用户的一部分的方式来移动用户界面元素。用户界面元素可以以其会聚并因此赶上用户的部分的方式移动。这种会聚可以基于用户的该部分的移动速度。当用户的部分没有移动或移动到阈值速度以下时,可能不会发生会聚。当该部分用户正在移动时,用户接口组件可以与该部分用户会聚,并且会聚速率可以以更快的速度增加。


54. 《
Apple Patent | Methods for interacting with user interfaces based on attention(苹果专利:基于注意力与用户界面交互)

在一个实施例中,显示基于对注视虚拟对象的关注可选择的注视虚拟对象,以执行与可选择虚拟对象相关联的操作。显示用户的注意力的指示。显示用户界面的区域的放大视图。基于用户的注意力来调整滑块元素的值。基于用户的注意力以相应的速率移动用户界面元素。响应于语音输入,文本被输入到文本输入字段中。基于用户的注意力来更新值选择用户界面对象的值。基于直接触碰交互来促进虚拟对象的移动。便于用户输入以显示选择细化用户界面对象。当满足标准时,显示指示选择虚拟对象的进度的视觉指示器。


55. 《
Apple Patent | Methods for interacting with user interfaces based on attention(苹果专利:基于注意力与用户界面交互)

在一个实施例中,显示基于对注视虚拟对象的关注可选择的注视虚拟对象,以执行与可选择虚拟对象相关联的操作。显示用户的注意力的指示。显示用户界面的区域的放大视图。基于用户的注意力来调整滑块元素的值。基于用户的注意力以相应的速率移动用户界面元素。响应于语音输入,文本被输入到文本输入字段中。基于用户的注意力来更新值选择用户界面对象的值。基于直接触碰交互来促进虚拟对象的移动。便于用户输入以显示选择细化用户界面对象。当满足标准时,显示指示选择虚拟对象的进度的视觉指示器。


56. 《
Apple Patent | Methods for interacting with user interfaces based on attention(苹果专利:基于注意力与用户界面交互)

在一个实施例中,显示基于对注视虚拟对象的关注可选择的注视虚拟对象,以执行与可选择虚拟对象相关联的操作。显示用户的注意力的指示。显示用户界面的区域的放大视图。基于用户的注意力来调整滑块元素的值。基于用户的注意力以相应的速率移动用户界面元素。响应于语音输入,文本被输入到文本输入字段中。基于用户的注意力来更新值选择用户界面对象的值。基于直接触碰交互来促进虚拟对象的移动。便于用户输入以显示选择细化用户界面对象。当满足标准时,显示指示选择虚拟对象的进度的视觉指示器。


57. 《
Apple Patent | Methods for controlling and interacting with a three-dimensional environment(苹果专利:控制三维环境并与之交互的方法)

在一个实施例中,计算机系统显示浸入控制、音量控制、配置为允许或限制在计算机系统的不同操作模式中突破的元件、和/或可选择为经由计算机系统的显示生成组件引起对来自第二计算机系统的内容表示的显示的启动的选项。当第二计算机系统正在显示内容时,第一计算机系统经由第一计算机系统的显示生成组件检测与来自第二计算机体系的显示内容的表示的请求相对应的输入,并且作为响应,启动显示内容的表示和去强调由第二计算机系统显示的内容的过程。第一计算机系统便于从多个计算机系统中消除第二计算机系统的歧义,以显示来自第二计算机体系的内容的表示。


58. 《
Apple Patent | Methods for controlling and interacting with a three-dimensional environment(苹果专利:控制三维环境并与之交互的方法)

在一个实施例中,计算机系统显示浸入控制、音量控制、配置为允许或限制在计算机系统的不同操作模式中突破的元件、和/或可选择为经由计算机系统的显示生成组件引起对来自第二计算机系统的内容表示的显示的启动的选项。当第二计算机系统正在显示内容时,第一计算机系统经由第一计算机系统的显示生成组件检测与来自第二计算机体系的显示内容的表示的请求相对应的输入,并且作为响应,启动显示内容的表示和去强调由第二计算机系统显示的内容的过程。第一计算机系统便于从多个计算机系统中消除第二计算机系统的歧义,以显示来自第二计算机体系的内容的表示。


59. 《
Apple Patent | Methods for displaying objects relative to virtual surfaces(苹果专利:显示相对于虚拟表面的对象的方法)

在一个实施例中,计算机系统显示用于在三维环境中包含一个或多个虚拟对象的虚拟表面。在一个实施例中,计算机系统自动调整包含对象的虚拟表面的大小。在一个实施例中,计算机系统显示与将对象移除和/或添加到虚拟表面有关的反馈。


60. 《
Apple Patent | Devices and methods for generating virtual objects(苹果专利:生成虚拟对象的设备和方法)

在一个实施例中,电子设备呈现用于生成与电子设备检测到的真实世界对象相对应的虚拟对象的用户界面,其中用户界面包括与真实世界对象的各个部分相对应的可选选项。在一个示例中,响应于接收到对真实世界对象的第一部分的选择,电子设备根据真实世界对象第一部分更新用户界面和相应的可选选项。


61. 《
Apple Patent | Devices, methods, and graphical user interfaces for interacting with window controls in three-dimensional environments(苹果专利:用于在三维环境中与窗口控件交互的设备、方法和图形用户界面)

在一个实施例中,计算机系统在三维环境的第一视图中显示第一用户界面对象和具有第一外观的第一控制元件。计算机系统检测指向第一控制元件的第一注视输入,并且作为响应,将第一控制元件从外观更新为不同于第一外观的第二外观。当显示具有第二外观的第一控制元件时,计算机系统检测指向第一控制元件的第一用户输入,并且根据第一用户输入满足第一标准的确定,将第一控制元件从第二外观更新为与第一外观和第二外观不同的第三外观。


62. 《
Apple Patent | Devices, methods, and graphical user interfaces for interacting with three-dimensional environments(苹果专利:用于与三维环境交互的设备、方法和图形用户界面)

在一个实施例中,计算机系统显示用户界面,并在第一区域内显示焦点指示符。响应于检测到相对于用户界面移动焦点指示器的输入,如果输入满足基于与该输入相关联的移动的相应标准,则计算机系统根据与该输入相关联的移动将焦点指示器从第一区域移动到第二区域,而不在第三区域中显示焦点指示器;并且,如果所述输入不满足相应的标准,则所述计算机系统根据与所述输入相关联的移动来改变所述聚焦指示器的外观,同时继续在所述第一区域内显示所述聚焦指示符的至少一部分。


63. 《
Apple Patent | Devices, methods, and graphical user interfaces for interacting with three-dimensional environments(苹果专利:用于与三维环境交互的设备、方法和图形用户界面)

在一个实施例中,计算机系统显示用户界面,并在第一区域内显示焦点指示符。响应于检测到相对于用户界面移动焦点指示器的输入,如果输入满足基于与该输入相关联的移动的相应标准,则计算机系统根据与该输入相关联的移动将焦点指示器从第一区域移动到第二区域,而不在第三区域中显示焦点指示器;并且,如果所述输入不满足相应的标准,则所述计算机系统根据与所述输入相关联的移动来改变所述聚焦指示器的外观,同时继续在所述第一区域内显示所述聚焦指示符的至少一部分。


64. 《
Apple Patent | Devices, methods, and graphical user interfaces for interacting with extended reality experiences(苹果专利:用于与扩展现实体验交互的设备、方法和图形用户界面)

在一个实施例中,专利描述的方法包括:在与一个或多个显示生成组件和一个或更多个输入设备通信的计算机系统处:经由一个或一个以上显示生成组件在三维环境中同时显示多个增强现实体验的表示;以及与第一增强现实体验不同的第二增强现实体验的第二表示;同时在三维环境中同时显示多个增强现实体验的表示;经由一个或多个输入设备接收第一用户输入;以及响应于接收到所述第一用户输入:停止显示所述多个增强现实体验中的一个或多个的表示;以及根据所述第一用户输入对应于对所述第一增强现实体验的所述第一表示的选择的确定,经由所述一个或多个显示生成组件在所述三维环境中显示所述第一加强现实体验。


65. 《
Apple Patent | User interfaces for managing sharing of content in three-dimensional environments(苹果专利:用于管理三维环境中内容共享的用户界面)

在一个实施例中,计算机系统可选地显示用户界面对象,用户界面对象基于内容是私有的还是共享的来揭示内容。计算机系统可选地基于参与者是否有权访问共享内容来显示包括共享内容的用户界面对象。计算机系统可选地显示共享指示符,该共享指示符指示各个内容与一个或多个其他参与者共享。


66. 《
Apple Patent | Methods for interacting with user interfaces based on attention(苹果专利:基于注意力与用户界面交互)

在一个实施例中,显示基于对注视虚拟对象的关注可选择的注视虚拟对象,以执行与可选择虚拟对象相关联的操作。显示用户的注意力的指示。显示用户界面的区域的放大视图。基于用户的注意力来调整滑块元素的值。基于用户的注意力以相应的速率移动用户界面元素。响应于语音输入,文本被输入到文本输入字段中。基于用户的注意力来更新值选择用户界面对象的值。基于直接触碰交互来促进虚拟对象的移动。便于用户输入以显示选择细化用户界面对象。当满足标准时,显示指示选择虚拟对象的进度的视觉指示器。


67. 《
Apple Patent | User interfaces for gaze tracking enrollment(苹果专利:用于注视追踪配准的用户界面)

在一个实施例中,注视配准包括显示登记进度用户指示符、动画化用户界面元素的移动、改变用户界面元素外观和/或随着时间推移移动用户界面元素,从而使得计算机系统能够更准确地追踪计算机系统的用户的注视。


68. 《
Apple Patent | User interfaces for gaze tracking enrollment(苹果专利:用于注视追踪配准的用户界面)

在一个实施例中,注视配准包括显示登记进度用户指示符、动画化用户界面元素的移动、改变用户界面元素外观和/或随着时间推移移动用户界面元素,从而使得计算机系统能够更准确地追踪计算机系统的用户的注视。


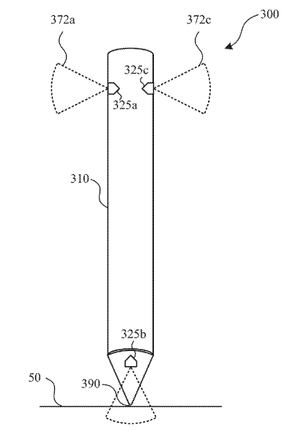
69. 《
Apple Patent | Stylus-based input system for a head-mounted device(苹果专利:基于触控笔的头戴式设备输入系统)

在一个实施例中,专利描述的追踪系统包括包括光发射器的触笔、包括配置为检测光发射器的光学传感器的头戴式设备、以及通信地耦合到光学传感器并且配置为基于光发射器的检测来确定触控笔的位置的处理器。


70. 《
Apple Patent | Input device for three-dimensional control(苹果专利:用于三维控制的输入设备)

在一个实施例中,专利描述的三维控制系统包括输入设备、计算设备和追踪组件。输入设备可以包括输入传感器、惯性测量单元传感器和超声波扬声器。追踪组件可以包括多个超声波麦克风和设置在计算设备上或与计算设备一起的惯性测量单元。多个超声麦克风可以包括第一平面中的三个麦克风和设置在第一平面外的至少一个其它超声麦克风。超声波麦克风可以配置为检测由输入设备的扬声器输出的超声波,并且计算设备可以在空间中对输入设备相对于计算设备的位置进行三角测量。


71. 《
Apple Patent | Corrected gaze direction and origin(苹果专利:修正视线方向和原点)

在一个实施例中,用于在注视追踪系统中校正注视方向和原点(入射瞳孔)的方法和装置。在获得眼睛模型之后的配准期间,确定眼睛在观看目标提示时的姿势。相关信息用于估计眼睛的真实视轴。视觉轴然后可以用于在使用期间校正相对于显示器的视点。如果