/ Nweon / 0浏览

2024年03月23日美国专利局新申请AR/VR专利摘选



映维网Nweon
2024年03月23日

)近期美国专利及商标局公布了一批全新的AR/VR专利,以下是映维网的整理(详情请点击专利标题),一共94篇。更多专利披露请访问映维网专利板块
https://patent.nweon.com/
进行检索,你同时可以加入映维网AR/VR专利交流微信群(详见文末)。


1. 《
Meta Patent | Systems and methods of coordinated service periods for wifi(Meta专利:WiFi协同服务周期的系统和方法)

在一个实施例中,专利描述的无线通信设备可以包括一个或多个处理器。一个或多个处理器可以向无线通信节点和无线用户设备发送一个或更多个第一请求帧。一个或多个第一请求帧可以向无线通信节点指示在第一服务时段期间执行到无线通信设备的第一传输。一个或多个第一请求帧可以向无线用户设备指示在第一服务时段期间执行到无线通信设备的第二传输。一个或更多个处理器可以在第一服务时段过程中根据一个或一个以上第一请求帧接收来自无线通信节点的第一传输和来自无线用户设备的第二传输。


2. 《
Meta Patent | Systems and methods of using restricted target wake time in wireless communication(Meta专利:在无线通信中使用受限目标唤醒时间的系统和方法)

在一个实施例中,专利描述了在无线通信中使用受限目标唤醒时间有关的方法。在一个方面,第一无线通信设备可以配置第一字段,所述第一字段指示对延迟敏感的一个或多个traffic stream,以及所述一个或更多个traffic stream中的每个traffic stream在所述第一无线通信设备和第二无线通信设备之间的方向。一个或多个traffic stream中的每一个将在受限目标唤醒时间调度的相应服务时段期间进行通信。第一无线通信设备可以向第二无线通信设备发送包括第一字段的消息。


3. 《
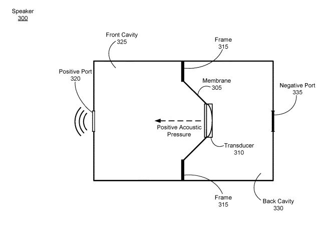
Meta Patent | Speaker assembly for mitigation of leakage(Meta专利:用于缓解泄漏的扬声器组件)

在一个实施例中,专利描述的扬声器组件将音频内容呈现给用户的耳道。扬声器组件的扬声器产生正的和负的声压波。扬声器组件的第一通气组件将正声压波端口到用户耳道的入口,而第二通气组件将负声压波端口端口到用户耳廓后面的区域。第一和第二通风口组件配置为向用户提供改进的音频内容回放。


4. 《
Meta Patent | Second degree of freedom speaker for cavity resonance cancellation(Meta专利:用于腔谐振消除的二自由度扬声器)

在一个实施例中,扬声器在外壳内产生声学频率,并将声学频率输出到端口。产生的频率通过空腔传播到端口。端口可能具有空腔谐振并放大特定频率,从而影响扬声器的频率灵敏度。为了减轻空腔谐振,扬声器包括具有拥有不同破裂频率的区域的膜。一个区域调谐为在扬声器的期望带宽处破裂,而另一区域调谐至在腔谐振处破裂,从而减轻由于腔谐振引起的频率响应失真。


5. 《
Meta Patent | Camera module on flexible interconnect tape(Meta专利:柔性互连带上的摄像头模块)

在一个实施例中,摄像头模块包括图像传感器管芯、高密度互连(HDI)带和无源电子元件。图像传感器管芯具有第一侧面和第二侧面。第一侧包括像素阵列,第二侧包括多个接合焊盘。HDI带是耦合到图像传感器的柔性基板。HDI带包括位于第一侧和第二侧之间的多个迹线。HDI带的第一侧耦合到图像传感器管芯的第二侧。无源电子元件耦合到HDI带的第二侧,并为摄像头模块提供刚性。


6. 《
Meta Patent | User-centric ranking algorithm for recommending content items(Meta专利:以用户为中心的内容项目推荐排名算法)

在一个实施例中,专利描述的方法包括从推荐系统中提取用户属性,基于用户属性识别与用户偏好匹配的多个内容项目,基于用户属性和内容项目属性之间的亲和性来确定用户对每个内容项目的兴趣值,以及向用户提供根据用户的兴趣值排序的内容项目的列表。


7. 《
Meta Patent | Systems and methods of qos management of wlan devices(Meta专利:无线局域网设备qos管理的系统和方法)

在一个实施例中,专利描述的设备可以是一个或多个处理器。所述一个或多个处理器可以配置为经由收发器从第一设备接收第一设备与接入点(AP)之间的traffic的服务质量(QoS)信息。一个或多个处理器可以配置为经由收发器向AP无线地发送包括第一设备的地址信息和QoS信息的帧。


8. 《
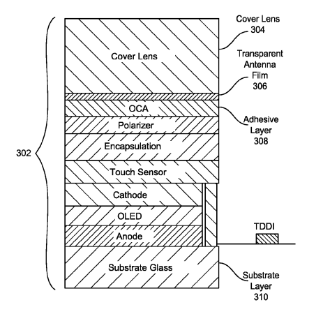
Meta Patent | Transparent antenna and touch display on a wearable device(Meta专利:可穿戴设备的透明天线和触控显示器)

在一个实施例中,专利描述的系统可以包括透明天线和触控显示器。示例性可穿戴设备可以包括显示模块,所述显示模块包括显示堆叠,显示堆叠包括显示覆盖层、天线层和显示层,其中天线层位于显示覆盖层与显示层之间,并且包括至少一个天线元件。


9. 《
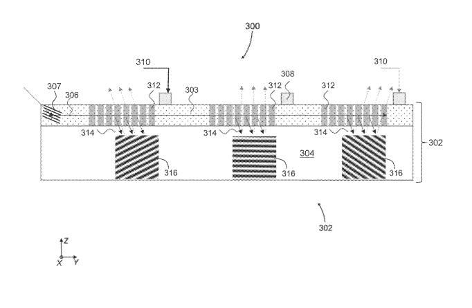
Meta Patent | Touch sensor and antenna integrated film(Meta专利:触控传感器和天线集成膜)

在一个实施例中,专利描述的设备可以包括至少一个触控传感器和包括至少一根天线的集成膜。其中,所述集成膜至少部分地设置在所述至少一个接触传感器上,使得所述至少1个接触传感器作为所述至少2根天线的辐射元件工作。


10. 《
Meta Patent | Antenna for wearable electronic devices(Meta专利:可穿戴电子设备天线)

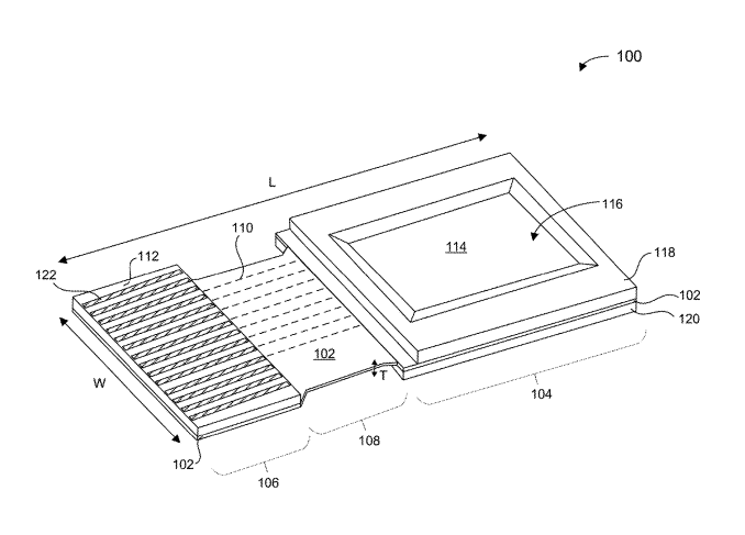
在一个实施例中,专利描述的系统可以包括具有顶部和第一底部的支撑结构。系统同时可以包括定位在支撑结构的顶部上的至少一个无线通信设备,以及定位在支撑结构的第一底部中的至少一个天线。支撑结构的第一底部中的天线可以电连接到定位在支撑结构的顶部上的无线通信设备。


11. 《
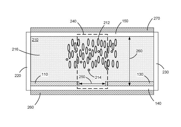
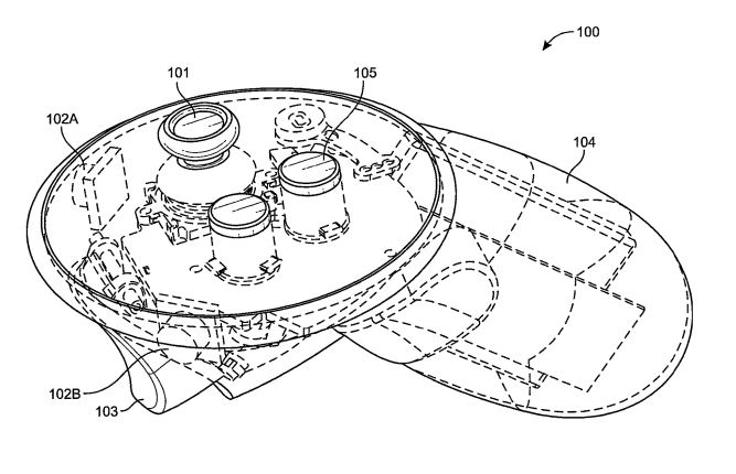
Meta Patent | Curved battery-pack devices and accessories(Meta专利:曲面电池组设备及配件)

在一个实施例中,专利描述得曲面电池单元可以包括正极端子,负极端子,一个或多个弯曲电极和外壳,外壳包住一个或更多个曲面电极并且包括至少一个具有非均匀曲率半径的弯曲表面。曲面电池组可以包括具有具有第一非均匀曲率的第一外表面的第一曲面电池单元和具有具有第二非均匀弯曲的第二外表面的第二曲面电池单元。


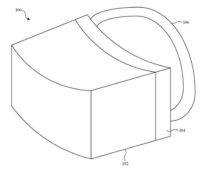
12. 《
Meta Patent | Detection and suppression of howl speech signal(Meta专利:啸叫语音信号的检测与抑制)

在一个实施例中,专利描述的系统可以抑制包括麦克风和扬声器的设备中的啸叫。设备的扬声器呈现音频内容。扬声器呈现的音频内容由设备的麦克风接收,从而在某些情况下产生啸声。系统使用自适应陷波滤波器来检测音频内容的区域中的啸声的存在。系统通过降低音频内容的一个或多个频率的增益来抑制啸叫。系统可以通过监测信号的平坦性来检测啸声的存在,并可以基于基于线性预测的音调检测来检测啸声的存在。


13. 《
Meta Patent | Technology for creating, replicating and/or controlling avatars in extended reality(Meta专利:用于在扩展现实中创建、复制和/或控制Avatar的技术)

在一个实施例中,专利描述的扩展现实兼容系统配置为例如经由ER兼容设备生成ER环境中的用户表示的副本,以根据模式启动对用户或对象的图形表示的记录;在ER环境中产生用户的图形表示的记录的副本作为用户的新图形表示,例如新Avatar;以及在ER环境中的第一位置控制用户的新图形表示。在示例中,所述技术使得能够在ER环境周围移动用户的图形表示,同时用户的新图形表示执行动作和/或从记录的副本产生声音。


14. 《
Meta Patent | Technology for replicating and/or controlling objects in extended reality(Meta专利:用于在扩展现实中复制和/或控制对象的技术)

在一个实施例中,专利描述的系统配置为例如经由扩展现实兼容的设备生成扩展现实环境下的对象的表示的副本,以根据模式启动对对象的表示副本的控制;以及在扩展现实环境中的第一位置控制对象的表示的拷贝,例如,第一位置包括与扩展现实环境的第二位置相距一臂之遥的位置,第二位置是用户和/或扩展现实兼容设备的控制器的Avatar或表示的位置。


15. 《
Meta Patent | Self-tracked controller(Meta专利:自追踪控制器)

在一个实施例中,系统可以包括安装到外壳的摄像头,以及具有计算机可执行指令的物理存储器,当由物理处理器执行时,物理存储器使得物理处理器:使用安装到外壳的摄像头获取周围环境的图像,从所获取的图像识别周围环境的特征,使用从所获取图像识别的特征生成地图,访问由传感器生成的传感器数据,并且基于生成的地图中的特征和访问的传感器数据来确定系统在周围环境中的当前姿势。


16. 《
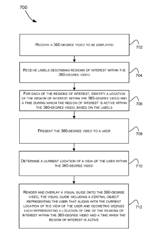
Meta Patent | System and method for providing spatiotemporal visual guidance within 360-degree video(Meta专利:用于在360度视频内提供时空视觉引导的系统和方法)

在一个实施例中,专利描述的方法用于在360度视频内提供时空引导。特别地,当向用户显示360度视频时,确定用户的视图在360度视频内的当前位置。另外,可以在360度视频内识别感兴趣区域,以及它们的位置和感兴趣区域在360度的视频内活动的时间。然后将视觉引导叠加到360度视频,其中视觉引导指示用户视图的当前位置、一个或多个感兴趣区域的位置以及每个感兴趣区域在360度视频内活动的时间。通过查看视觉指南,用户能够预测360度视频内感兴趣区域的位置和时间,并在正确的时间将他们的视线调整到正确的位置以查看感兴趣区域。


17. 《
Meta Patent | Helper data integrity check and tamper detection using sram-based physically unclonable function(Meta专利:使用基于SRAM物理不可克隆功能进行Helper数据完整性检查和篡改检测)

在一个实施例中,专利描述的方法包括通过处理电路识别从SoC的SRAM设备中选择的PUF阵列;由所述处理电路从存储器读取与所述PUF阵列相关联并且可用于基于所述PUF阵列生成密码密钥的Helper数据;由所述处理电路确定与所述PUF阵列相关联的所述Helper数据在其初始生成之后是否已被测试系统改变;以及响应于确定与PUF阵列相关联的Helper数据已被改变,禁止访问由基于PUF阵列生成的密码密钥保护的数据、软件或功能。


18. 《
Meta Patent | Biometric monitoring wrist device(Meta专利:生物识别监测手腕设备)

在一个实施例中,手腕设备可以包括低功率显示器、基本电池和传感器。基本模块可以配置为在低功率模式下作为独立模块操作。基本模块可以配置为通过传感器收集数据。计算模块可以与基础模块可移除地耦合。计算模块可以包括高清晰度显示器和计算电池。计算模块可以配置为在耦合到基础模块时分析数据。计算模块的计算电池可以配置为当计算模块耦合到基础模块时对基础模块的基础电池充电。


19. 《
Meta Patent | Artificial reality system having multi-bank, multi-port distributed shared memory(Meta专利:具有多库、多端口分布式共享存储器的人工现实系统)

在一个实施例中,共享存储器系统可以在人工现实系统的情景中具有特定的适用性,并且可以设计为对于片上系统内的一个或多个存储器组和/或一个或更多个组件或子系统具有分布式或变化的等待时间。所描述的共享存储器系统在逻辑上可以是单个实体,但在物理上可以具有多个存储器组,每个存储器组可由多个组件或子系统中的任何一个访问。


20. 《
Meta Patent | Lossless compression of large data sets for systems on a chip(Meta专利:片上系统的大数据集无损压缩)

在一个实施例中,专利描述的片上系统包括第一子系统、第二子系统和连接到第一子系统和第二子系统的压缩块,其中压缩块包括解码器和编码器。压缩块接收由第一和第二子系统之一中的计算元件生成的溢出数据,使用编码器压缩溢出数据,并将压缩的溢出数据存储在计算元件之一的本地存储器中的数据块中。


21. 《
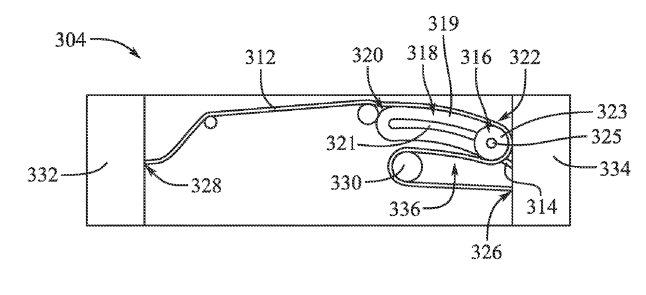
Meta Patent | Optical modulator and image projector based on leaky-mode waveguide with spatial multiplexing(Meta专利:基于空间复用漏模波导的光调制器和图像投影仪)

在一个实施例中,漏模声光调制器可以用于生成适合于直接观看的视觉图像,而不需要图像形成光学器件。为了将调制器的视场扩展到适合于视觉显示的极限,泄模声光调制器可以配备有可切换光束重定向器,例如可切换角反射器,并以时间顺序的方式一个接一个地提供视场部分。视场部分合并成适用于广角视觉显示应用的连续合成视场。


22. 《
Meta Patent | Systems and methods for assembling a head-mounted display(Meta专利:用于组装头戴式显示器的系统和方法)

在一个实施例中,组装头戴式显示器的方法可以包括将第一数字投影仪组件耦合到头戴式显示框架,将第二数字投影仪组件连接到头戴式显示框架,然后扭曲框架以将第一数字投影组件与第二数字投影组件光学对准。扭曲的框架可以固定,使得第一数字投影仪组件和第二数字投影仪组件光学对准到预定阈值内。


23. 《
Meta Patent | Geometrical waveguide with partial-coverage beam splitters(Meta专利:带部分覆盖分束器的几何波导)

在一个实施例中,专利描述了带部分覆盖分束器的几何波导。其中,波导可以包括衬底和嵌入在衬底内的分束器阵列,而分束器的阵列内的每个分束器不完全横切衬底。


24. 《
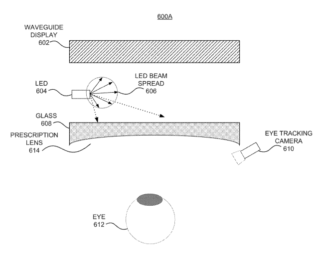
Meta Patent | Eye tracking system with in- plane illumination(Meta专利:具有平面内照明的眼动追踪系统)

在一个实施例中,与近眼显示设备的光学组件的平面对准的LED用于照射用户的眼睛并产生可由
眼动追踪
摄像头检测到的闪烁。当光学组件中包括可能使来LED的照明光束失真的校正光学透镜或类似元件时,通过使用提供成角度光束的封装内或外部修改的LED来减轻失真。除了诸如反射器或标签之类的封装级缓解措施之外,扭曲光学元件的边缘部分可以成形或用折射元件补充,以将光束重定向到眼睛。


25. 《
Meta Patent | Optical modulator and image projector based on leaky-mode waveguide with temporal multiplexing(Meta专利:基于时间复用漏模波导的光调制器和图像投影仪)

在一个实施例中,漏模声光调制器可以用于生成适合于直接观看的视觉图像,而不需要图像形成光学器件。为了将调制器的视场扩展到适合于视觉显示的极限,泄模声光调制器可以配备有可切换光束重定向器,例如可切换角反射器,并以时间顺序的方式一个接一个地提供视场部分。视场部分合并成适用于广角视觉显示应用的连续合成视场。


26. 《
Meta Patent | Gradient-index liquid crystal lens having a plurality of independently-operable driving zones(Meta专利:具有多个可独立操作的驱动区的梯度折射率液晶透镜)

在一个实施例中,透镜系统可以包括具有液晶层的透镜和设置在液晶层的第一侧上的驱动电极阵列,驱动电极阵列包括可独立操作的多个驱动区。多个驱动区中的每一个可以包括沿着从透镜的中心区域延伸的径向方向连续布置的多个驱动电极。透镜系统可以包括控制器,控制器配置为经由耦合到多个驱动区中的每一个的单独的多条总线独立地操作多个驱动区时的每一个中。控制器可以配置为基于用户的注视方向来操作驾驶区域中的至少一个。


27. 《
Meta Patent | Optical dimming devices with chiral ferroelectric nematic liquid crystal(Meta专利:具有手性铁电向列相液晶的光学调光器件)

在一个实施例中,专利描述的光学器件包括第一电极和包括铁电液晶和手性掺杂剂的介质。所述介质位于与所述第一电极相邻的位置。光学器件同时可以包括与第一电极不同且分离的第二电极。光学设备可以用作光学调光设备,基于提供给光学设备的电压梯度来控制通过光学设备的光量。


28. 《
Meta Patent | Fringe projector for depth sensing(Meta专利:用于深度传感的边缘投影仪)

在一个实施例中,专利描述的光学系统配置为支持头戴式设备中的眼动追踪操作。光学系统包括透明层、激光器以及第一和第二耦出器。激光器配置为将光发射到透明层中。第一耦出器配置为耦出来自透明层的第一位置的光的第一部分。第二耦出器配置为耦出来自透明层的第二位置的光的第二部分。第一和第二耦出器在用户的视场中。从第一耦出器和第二耦出器耦出的光的第一部分和光的第二部分的组合配置为生成条纹图案。


29. 《
Meta Patent | Optically powered lens assembly for head-mounted devices(Meta专利:用于头戴式设备的光学供电透镜组件)

在一个实施例中,用于头戴式设备的透镜组件的设备包括框架和透镜组件。透镜组件配置为由框架承载。透镜组件包括透镜体、边缘厚度和焦度层。边缘厚度包括配置为与框架兼容的预定厚度值。功率层配置为被设置为多个预定功率电平中的一个,同时将边缘厚度保持在预定厚度值内。焦度层配置为定义透镜组件的过程焦度水平。


30. 《
Meta Patent | Bi-cylindrical piezoelectric actuated optical lens(Meta专利:双圆柱压电致动光学透镜)

在一个实施例中,在流体两侧具有柔性透明活性层的液体透镜沿着两个不同的变形轴变换。柔性透明有源层包括响应于施加的电压致动透镜的压电材料。透明层的压电特性和致动机制设置为使透镜沿着不同的轴圆柱形地变形,从而致使净球形变形或球形和圆柱形变形的组合。压电活性层可以是具有各向同性或各向异性机械刚度的聚合物或陶瓷。或者,一对透明的内层位于前表面和后表面之间。


31. 《
Meta Patent | Indirect time of flight sensor with parallel pixel architecture(Meta专利:采用平行像素架构的间接飞行时间传感器)

在一个实施例中,专利描述的传感器包括多个像素,每个像素在计算层内具有专用计算电路。所述多个像素包括第一组像素和第二组像素。第一组像素配置为检测来自具有第一调制频率的局部区域的光。第二组像素配置为检测来自局部区域的具有第二调制频率的光。计算层位于多个像素下方,并且包括用于多个像素中的每个像素的计算电路。计算层配置为使用间接飞行时间技术以及具有第一调制频率的检测到的光和具有第二调制频率的探测到的光中的一个或两者来确定局部区域的深度信息。


32. 《
Apple Patent | Wearable electronic devices for cooperative use(苹果专利:合作用例的可穿戴电子设备)

在一个实施例中,由一个头戴式设备提供的输出可以在另一个头佩戴式设备进行指示,使得用户知道彼此的体验的特征。在不同的头戴式设备提供不同的感测能力的情况下,一个头戴式设备的传感器可以有助于检测另一个,以提供更准确和详细的输出。


33. 《
Apple Patent | Devices, methods, and user interfaces for gesture-based interactions(苹果专利:用于基于手势的交互的设备、方法和用户界面)

在一个实施例中,专利描述了用于使用悬空手势执行操作的技术和用户界面;用于使用手势进行音频回放调整的技术和用户界面;用于有条件地响应输入的技术和用户界面。


34. 《
Apple Patent | Method and device for debugging program execution and content playback(苹果专利:调试程序执行和内容播放的方法和设备)

在一个实施例中,专利描述的方法包括:通过显示设备呈现具有一个或多个虚拟代理的图形环境;经由所述一个或多个输入设备检测用户输入;以及响应于检测到用户输入,记录与图形环境相关联的多个数据流。


35. 《
Apple Patent | Devices, methods, and graphical user interfaces for displaying applications in three-dimensional environments(苹果专利:用于在三维环境中显示应用程序的设备、方法和图形用户界面)

在一个实施例中,计算机系统在与手掌的至少一部分的位置相对应的第一位置处显示具有第一尺寸的第一应用程序的用户界面的第一视图。在显示第一视图时,计算机系统检测第一输入,第一输入对应于将第一应用程序的显示从手掌转移到视点的第一接近度内的第一表面的请求。响应于检测到第一输入,计算机系统在由第一表面定义的第二位置处显示具有第二尺寸和方向的第一应用程序的用户界面的第二视图,所述第二大小和方向对应于第一表面。


36. 《
Apple Patent | System and method of application-based three-dimensional refinement in multi-user communication sessions(苹果专利:多用户通信会话中基于应用程序的三维细化系统和方法)

在一个实施例中,当第一电子设备呈现三维环境时,第一电子设备接收与在三维环境中移动共享对象的请求相对应的输入。根据共享对象是第一类型的对象的确定,第一电子设备根据输入在三维环境中移动共享对象和用户的化身。根据确定共享对象是不同于第一类型的第二类型的对象,并且输入是第一类型的输入,第一电子设备根据输入在三维环境中移动共享对象,而不移动化身。


37. 《
Apple Patent | Devices, methods, and graphical user interfaces for displaying shadow and light effects in three-dimensional environments(苹果专利:用于在三维环境中显示阴影和照明效果的设备、方法和图形用户界面)

在一个实施例中,计算机系统在三维环境中显示计算机生成的对象;检测到用户的注意力被引导到对象上;作为响应,显示具有第一外观的对象的虚拟阴影,包括显示具有第一视觉特性的第一值的阴影,同时保持对象相对于三维环境的姿势。当继续在三维环境中显示对象时,计算机系统检测到用户的注意力已经停止指向对象;并且作为响应,以不同于第一外观的第二外观显示对象的阴影,同时保持对象相对于三维环境的姿势。显示具有第二外观的对象的阴影包括显示具有第一视觉特性的第二值的阴影。第二个值与第一个值不同。


38. 《
Apple Patent | Touch sensitive input surface(苹果专利:触敏输入表面)

在一个实施例中,专利描述的头戴式设备包括显示器、至少部分地围绕显示器的框架、附接到框架的面部接口、设置在面部接口周围的盖、以及结合到盖中以接收来自用户的用于头戴式设备的输入的触敏表面。


39. 《
Apple Patent | Systems with transparent layers(苹果专利:包含透明层的系统)

诸如电子设备系统之类的系统可以设置有诸如安装在外壳的内部区域中的显示器和相机之类的部件。透明层可以安装到外壳上,并且可以与部件重叠。透明层可以具有玻璃层和附着到玻璃层的聚合物层。


40. 《
Apple Patent | Cushioned head-mountable device(苹果专利:可缓冲头戴式设备)

在一个实施例中,专利描述的设备可以包括可头戴式显示器、面部接口、头戴式显示器和面部接口之间的连接器、定位在连接器附近的衬垫、以及连接到头戴式显示器或面部接口中的至少一个的可佩戴带。


41. 《
Apple Patent | Electronic devices with drop protection(苹果专利:具有跌落保护功能的电子设备)

在一个实施例中,专利描述的头戴式设备可以包括用于向用户呈现图像的光学组件。致动器可用于调节光学组件之间的间距,以适应不同的瞳孔间距离。在检测到断电事件或跌落事件时,可以将设备置于冲击安全模式。在安全模式期间,光学组件可以移动到预定的冲击安全位置,诸如光学导轨制动器的制动器可以进行调节,缓冲弹簧可以展开,离合器可以调节和/或其他安全机制可以激活,以帮助保护光学组件或其他敏感部件免受损坏。


42. 《
Apple Patent | Electronic devices with movable optical assemblies(苹果专利:具有可移动光学组件的电子设备)

在一个实施例中,头戴式设备可以包括用于向用户呈现图像的光学组件。电机可用于调整光学组件之间的间距,以适应不同的瞳孔间距离。注视追踪器可以用于眼睛测量,并通过马达来对光学组件的位置进行调整。


43. 《
Apple Patent | Active cooling for head-mounted display(苹果专利:头戴式显示器主动散热)

在一个实施例中,专利描述的头戴式显示器包括壳体、联接到壳体的后部并配置为与面部接合的面部接口、限定在壳体中的部件室、以及位于部件室中并配置成产生从面部通过面部接口和部件室的气流的风扇。


44. 《
Apple Patent | Display systems having imaging capabilities(苹果专利:具有成像功能的显示系统)

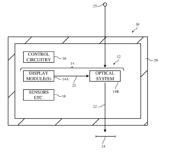
在一个实施例中,专利描述的显示器可以包括反射显示面板、红外图像传感器和波导。面板可以在第一操作模式和第二操作模式下操作,在第一操作方式中面板朝向波导反射图像光,在第二操作方式中面板朝向红外图像传感器反射来自波导的红外光。面板同时可以将来自红外发射器的红外光反射向波导。


45. 《
Apple Patent | Wave plate arrangements for an optical system(苹果专利:光学系统的波片布置)

在一个实施例中,专利描述的电子设备可以包括由外壳支撑的显示系统和光学系统。光学系统可以是具有一个或多个透镜元件的折反射光学系统。光学系统可以包括具有一个或多个波片的波片堆叠。显示系统可以包括具有线性偏振器和一个或多个波片的偏振器堆叠。光学系统和显示系统可以各自包括负色散四分之一波片。正C形板可以定位为与每个四分之一波片相邻。光学系统可以包括具有正双折射的四分之一波片,而显示系统可以包括带有负双折射的五分之一波片。光学系统和显示系统可以各自包括四分之一波片和半波片。


46. 《
Apple Patent | Health sensing retention band(苹果专利:健康感应保持带)

在一个实施例中,专利描述的头戴式设备包括外壳、位于外壳中的显示器、位于外壳内的处理器以及连接到外壳的保持带。其中,所述保持带包括配置为监测用户大脑活动的传感器。


47. 《
Apple Patent | Facial interface having integrated health sensors(苹果专利:具有集成健康传感器的面部接口)

在一个实施例中,一种头戴式设备可以包括显示器、附接到显示器以接触用户面部的面部接口、以及附接到面部接口的传感器单元。传感器单元可以包括接触用户的鼻腔区域的可变形垫、限定内部容积的通道、以及通过内部容积与可变形垫流体连通的压力传感器。


48. 《
Apple Patent | Shared point of view(苹果专利:共享视点)

在一个实施例中,声源可以在设置中进行空间渲染并通过显示器显示。响应于基于声源和听者的位置之间的相对距离而满足的阈值标准,可以调整声源的呈现以保持声源的空间完整性。可以执行调整以防止声源中的一个声源比另一声源更早到达听者。


49. 《
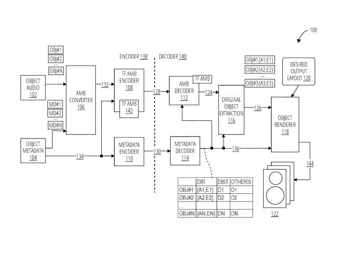
Apple Patent | Object audio coding(苹果专利:对象音频编码)

在一个实施例中,专利描述的计算机实现方法包括获得对象音频和在空间上描述对象音频的元数据,基于元数据将对象音频转换为Ambisonics音频,在第一比特流中编码Ambisonic音频,以及在第二比特流中编码元数据的至少子集。


50. 《
Apple Patent | Spatial blending of audio(苹果专利:音频的空间融合)

在一个实施例中,音频处理系统可以获得呈现给显示器的视觉对象的大小。音频处理系统可以至少基于视觉对象的大小来确定多个虚拟扬声器中的每一个的虚拟放置。多个虚拟扬声器中的每一个可以通过双耳音频在每个虚拟位置处进行空间渲染,并用于通过头戴式扬声器进行回放。


51. 《
Apple Patent | Predictive perspective correction(苹果专利:预测视角修正)

在一个实施例中,通过包括图像传感器、显示器、一个或多个处理器和非瞬态存储器的设备来执行扭曲图像的方法。所述方法包括在捕捉时间预测设备在物理环境中的捕捉姿态,以及在显示时间预测设备的显示姿态;使用图像传感器在包括捕获时间的捕获时间段期间捕获物理环境的图像;基于预测的捕捉姿势和预测的显示姿势生成扭曲定义;使用一个或多个处理器基于扭曲定义来扭曲物理环境的图像;在包括显示时间的显示时间段期间在显示器上显示物理环境的扭曲图像。


52. 《
Apple Patent | Head-mounted electronic device with reliable passthrough video fallback capability(苹果专利:具有可靠透视视频回退功能的头戴式电子设备)

在一个实施例中,专利描述的头戴式设备包括配置为获取原始视频馈送的一个或多个摄像头和配置为向用户呈现透视视频馈送的多个显示器。透视视频馈送的生成可以涉及使用图像信号处理器和辅助计算块来处理原始视频馈送。可以响应于检测到与辅助计算块相关联的一个或多个故障而绕过辅助计算块中的一个或者多个。以这种方式配置和操作,头戴式设备可以恢复到更可靠的透视视频馈送,而无需在发生故障时对头戴式设备进行电源循环。


53. 《
Apple Patent | Partial perspective correction with mitigation of vertical disparity(苹果专利:减少垂直视差的部分透视校正)

在一个实施例中,通过具有三维设备坐标系并且包括第一图像传感器、第一显示器、一个或多个处理器和非瞬态存储器的设备来执行透视校正的方法。所述方法包括使用第一图像传感器捕获物理环境的第一图像;基于第一视角和第二视角之间的差异将第一图像从第一图像传感器的第一视角转换为第二视角,其中第二视角是与对应于用户的第一只眼睛的位置相距的第一距离小于第一视角与对应于用户的第一只眼的位置之间的第二距离;在第一显示器上显示物理环境的变换后的第一图像。


54. 《
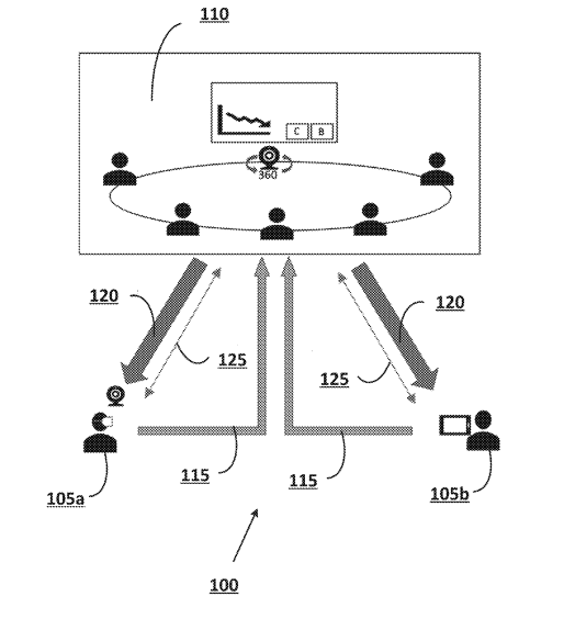
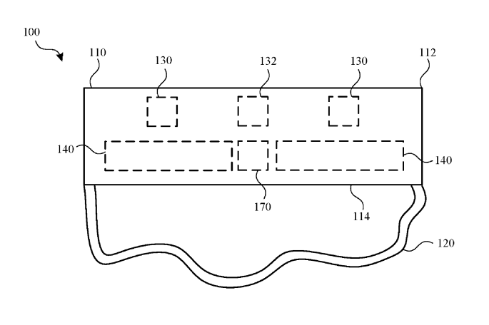
Apple Patent | Immersive teleconferencing and telepresence(苹果专利:沉浸式电话会议和远程呈现)

在一个实施例中,专利描述了配置为确定实时传输协议(RTP)媒体流的用户设备(UE)。所述实时传输协议媒体流包括与同时拍摄的位置的多个图像相关的视觉数据和将用于显示视觉数据的至少一部分的补充信息增强(SEI)消息。UE同时配置为基于视觉数据和SEI消息向用户设备的用户可视地显示视觉数据的所述部分。


55. 《
Apple Patent | Adjustment mechanism for wearable devices(苹果专利:可穿戴设备的调节机制)

在一个实施例中,专利描述得可穿戴电子设备包括第一部分、固定带和电缆。固定带包括具有第一末端和第二末端的轨道、可平移地固定到轨道的滑轮、以及具有固定到固定带的第一端和固定到滑轮的第二端的弹性构件。电缆具有连接到第一部分的第一端和连接到固定带的第二端,电缆至少部分地围绕滑轮布线。


56. 《
Apple Patent | Object audio coding(苹果专利:对象音频编码)

在一个实施例中,专利描述的计算机实现方法包括获得对象音频和在空间上描述对象音频的元数据,基于元数据将对象音频转换为Ambisonics音频,在第一比特流中编码Ambisonic音频,以及在第二比特流中编码元数据的至少子集。


57. 《
Apple Patent | System and method of spatial groups in multi-user communication sessions(苹果专利:多用户通信会话中空间组的系统和方法)

在一个实施例中,第一电子设备和第二电子设备在多用户通信会话中通信地链接,其中第一电子设备与第二电子设备配置为分别显示三维环境。第一电子设备和第二电子设备分组在多用户通信会话内的第一空间组中。如果第二电子设备确定第一电子设备改变状态(和/或反之亦然),则第一电子设备的用户和第二电子设备的用户不再分组到多用户通信会话内的相同空间组中。


58. 《
Apple Patent | Methods for infield camera calibrations(苹果专利:内场摄像头校准方法)

在一个实施例中,首先使用校准过程的输入来估计摄像头的外部参数。然后,在优化问题中同时确定外在参数和内在参数,使得所述参数的更新值可以存储并由使用摄像头的应用程序使用。校准过程可以扩展为至少部分地基于来自摄像头本地的惯性测量单元的信息同时校准多个摄像头。


59. 《
Apple Patent | Image generation with resolution constraints(苹果专利:具有分辨率限制的图像生成)

在一个实施例中,专利描述的方法包括基于具有具有第一组值的一组变量的公式来生成第一分辨率函数;基于第一内容和第一分辨率函数生成第一图像;检测分辨率约束;基于公式生成第二分辨率函数,其中该组变量具有第二组值;基于第二内容和第二分辨率函数生成第二图像。


60. 《
Apple Patent | Gestures for selection refinement in a three-dimensional environment(苹果专利:三维环境下的手势选择精细化)

在一个实施例中,计算机系统便于用户输入用于在三维环境内的对象中显示选择细化用户界面对象,其中选择细化用户接口对象指示对象中计算机系统响应于进一步的用户输入执行选择操作的位置。计算机系统便于用户输入以激活三维环境中的选择细化模式,在三维环境中,用于选择操作的交互点可基于计算机系统的用户的手的移动而移动。


61. 《
Apple Patent | Tracking devices for handheld controllers(苹果专利:用于手持控制器的追踪设备)

在一个实施例中,系统可以包括诸如头戴式设备的电子设备和用于控制电子设备的手持式输入设备。追踪设备可以可移除地耦合到手持输入设备,以提高头戴式设备追踪手持输入设备的精度。追踪设备可以具有比手持输入设备更大的尺寸和/或可以具有膨胀和收缩的可膨胀外壳。追踪设备上的视觉标记可以包括红外发光二极管、几何表面特征或其他光学追踪特征。当追踪设备与输入设备解耦时,追踪设备可以用作头戴式设备的辅助输入设备。


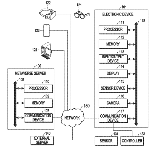
62. 《
Microsoft Patent | Sharing neighboring map data across devices(微软专利:跨设备共享相邻地图数据)

在一个实施例中,专利描述的方法用于传输被称为邻域的地图数据的相关子集,以使得多个显示设备能够在目标虚拟位置周围进行相互空间理解,从而在同一时刻在物理环境中的同一精确位置显示共享全息图。


63. 《
Qualcomm Patent | Exposure control based on scene depth(高通专利:基于场景深度的曝光控制)

在一个实施例中,专利描述了处理图像数据的方法,所述方法包括在成像设备处从成像设备的图像传感器获得环境的第一图像;基于所述第一图像中描绘的特征来确定所述第一影像的感兴趣区域;基于第一图像的感兴趣区域中的图像数据来确定与第一图像相关联的代表性亮度值;基于所述代表性亮度值来确定一个或多个曝光控制参数;以及在成像设备处获得基于一个或多个曝光控制参数捕获的第二图像。


64. 《
Qualcomm Patent | Automatic generation of video content in response to network interruption(高通专利:网络中断时自动生成视频内容)

在一个实施例中,用于呈现媒体数据的示例设备包括:配置为存储媒体数据的存储器;以及一个或多个处理器。处理器在电路中实现并且配置为:接收媒体比特流的第一组媒体数据;响应于确定在一段时间内将不会接收到所述第一组媒体数据之后的所述媒体比特流的第二组媒体数据,使用所述第一集媒体数据的至少一个子集来预测性地生成用于所述第二组媒体数据的替换媒体数据;并且呈现第一组媒体数据和替换媒体数据。


65. 《
Qualcomm Patent | Systems and methods of image reprojection(高通专利:图像再投影的系统和方法)

在一个实施例中,成像系统根据第一视角接收环境的图像数据。成像系统检测图像数据中的对象。成像系统基于图像数据,根据不同于第一视角的第二视角,生成环境的至少一部分的再投影图像数据。成像系统基于重新投影的图像数据生成并输出对象的状态的指示符。对象的状态的指示符可以指示对象的状态变化,例如光源的照明特性的变化、显示在显示屏上的内容的变化、对象的移动的变化等。


66. 《
Valve Patent | Active reduction of fan noise in a head-mounted display(V社专利:主动降低头戴式显示器中的风扇噪音)

在一个实施例中,示例过程可以包括接收指示风扇正在产生的噪声的数据,至少部分地基于所述数据并使用模型来确定一个或多个音频参数值,以及经由头显的一个或更多个耳外扬声器输出具有至少部分地基于该一个或更多个音频参数值的一个或者多个音频特性的声音,从而减少风扇在用户耳朵位置处产生的噪声。


67. 《
Valve Patent | Position tracking systems and methods for head-mounted display systems(V社专利:头戴式显示系统的位置追踪系统和方法)

在一个实施例中,一个或多个物体可以携带多个角度敏感光学检测器。每个光学检测器可以包括光学子系统,光学子系统配置为改变施加在光学检测器上的光的相位或强度中的至少一个。光学子系统可以包括衍射光学元件、透镜阵列、强度掩模、相位掩模等中的一个或多个。光学检测器可以包括包括多个光学活性区域的光电检测器,例如象限单元光电检测器、具有光电二极管阵列的图像传感器等。控制电路可以使光源发光,并且可以从多个光学检测器接收传感器数据。控制电路可以处理传感器数据以跟踪一个或多个物体的位置。


68. 《
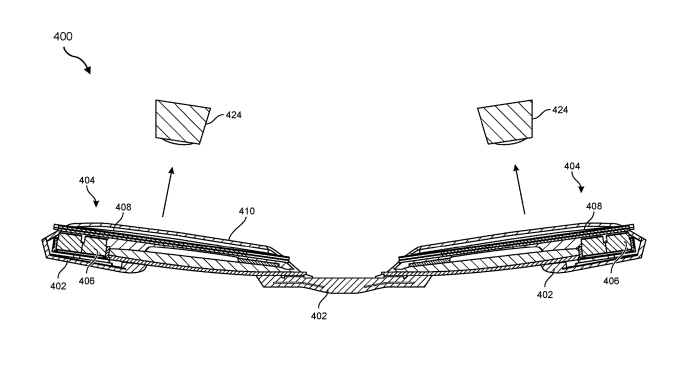
Google Patent | Polymer aerogel optical waveguide(谷歌专利:聚合物气凝胶光波导)

在一个实施例中,诸如在智能眼镜中的平视显示器可以包括配置为投射用于显示的光的光源。平视显示器可以包括聚合物气凝胶光波导。聚合物气凝胶光波导配置为接收来自光源的光,将接收到的光引导到用户眼睛前方的区域,并将光投射到用户的眼睛。聚合物气凝胶光波导可以包括由具有相对高折射率的玻璃制成的芯部和由具有相对低折射率的聚合物气凝胶制成的包层部分,使得光通过芯部和包层部分之间的界面处的全内反射在芯部中实现引导。


69. 《
Google Patent | Head-worn computing device with microphone beam steering(谷歌专利:带麦克风波束成形的头戴式计算设备)

在一个实施例中,麦克风阵列可以是头戴式计算设备的一部分,并可以配置为基于与参与者的对话的计算机辅助识别来自动检测波束成形的方向。在识别出参与者之后,波束成形可以自动地将麦克风阵列的灵敏度朝向参与者,而不管头部用户的位置如何,从而在不约束用户移动的情况下提高所捕获音频的质量。改进的音频可以用于帮助用户听到对话,帮助与对话相对应的增强现实应用,和/或通过限制对对话参与者的敏感度来提供一定程度的隐私。


70. 《
Sony Patent | Information processing apparatus and user guide presentation method(索尼专利:信息处理设备和用户指南呈现方法)

在一个实施例中,专利描述的方法包括:使用关于所述头戴式显示器的位置信息来执行信息处理;生成并输出作为所述信息处理的结果而要显示的图像的数据;以及使用关于头戴式显示器的位置信息来生成和输出指示关于用户在真实空间中的位置信息的用户指南的图像的数据。


71. 《
Sony Patent | Multi-order optimized ambisonics encoding(索尼专利:多阶优化Ambisonics编码)

在一个实施例中,专利描述了一种用于对Ambisonics音频进行编码的方法,所述方法包括将音频输入到产生相应Ambisonic声场的多个Ambisonic编码器。在混合声场之前,对每个声场进行加权,以减轻顺序截断造成的伪影。加权后,声场混合以产生Ambisonics音频。


72. 《
Sony Patent | Multi-order optimized ambisonics decoding(索尼专利:多阶优化Ambisonics解码)

在一个实施例中,可用于计算机模拟的Ambisonics音频通过使用多阶优化来改进。多阶优化框定了优化问题,优化问题最小化了所选Ambisonic阶数“N”的Ambisomics阶数子集的成本函数。在一个简单的形式中,成本函数最小化所有Order(0<=n<=n)的误差,并应用额外的加权来强调或淡化特定Order。成本函数和优化标准对于双耳输出和扬声器输出可能不同。


73. 《
Sony Patent | Display control apparatus, display control method, and program(索尼专利:显示控制装置、显示控制方法和程序)

在一个实施例中,专利描述的显示控制设备包括状态检测单元和显示控制单元,状态检测单元配置为检测观察图像的用户的状态,显示控制单元配置成使显示器显示其中多个显示内容项目叠加在拍摄图像上的图像,并且根据用户的状态控制每个显示内容项目的行为。


74. 《
Sony Patent | Interactive augmented reality trophy system(索尼专利:交互式AR将奖杯系统)

在一个实施例中,虚拟奖杯的交互式显示包括扫描表面以寻找一个或多个位置锚点。奖杯架的位置是使用位置锚点来确定。使用所确定的奖杯架位置将奖杯架网格应用于表面的图像帧上。一个或多个奖杯模型通过显示设备显示在奖杯架网格。根据一个或多个奖杯模型和奖杯架网格生成奖杯架布局信息,并且最终存储或传输奖杯架布局信息。


75. 《
Samsung Patent | Wearable device for providing information about an application through an external display and method of controlling the wearable device(三星专利:用于通过外部显示器提供关于应用程序的信息的可穿戴设备和控制可穿戴设备的方法)

在一个实施例中,专利描述的可穿戴设备包括:设置在可穿戴设备的第一表面上的第一显示器,以及设置在可佩戴设备的第二表面上的第二显示器。可穿戴设备可以配置为在用户佩戴可穿戴设备的同时在第一显示器上显示第一应用程序的第一执行屏幕,在第一显示器上将第一执行屏幕显示的同时确定要在第二显示器上显示的信息的显示类型,并基于显示类型在第二显示屏上显示与第一执行屏幕相关的信息。


76. 《
Samsung Patent | Method and apparatus for transmitting 3d xr media data(三星专利:传输3D XR媒体数据的方法和装置)

在一个实施例中,专利描述的方法包括识别连接到至少一个组成设备的第一终端的能力,基于第一终端的功能经由服务器建立与增强现实服务相关联的会话,对由至少一个构成设备获取的3D媒体数据执行预处理,以及将预处理的3D媒体数据发送到第二终端。


77. 《
Samsung Patent | Electronic device transmitting and receiving data with metaverse server and method for operating thereof(三星专利:利用元宇宙服务器发送和接收数据的电子设备及其操作方法)

在一个实施例中,专利描述的电子设备包括支持至少一个短程通信的至少一个第一通信设备、支持蜂窝通信的至少第二通信设备以及至少一个处理器。所述至少一个处理器可以配置为基于所述第一应用程序的执行命令,通过至少一个第一通信设备向支持短距离通信的外部电子设备发送用于请求第一信息的第一消息,接收包括第一信息的第二消息,比较第一信息和第二信息,基于所述电子设备确定为主要设备,基于第一信息和所述第二信息的比较结果,通过所述至少二通信设备的一部分向服务器发送和/或从服务器接收与所述第一应用程序相对应的数据。


78. 《
Samsung Patent | Wearable device for adjusting size of effective display area according to external illuminance and control method thereof(三星专利:根据