/ Nweon / 0浏览

2024年03月02日美国专利局新申请AR/VR专利摘选



映维网Nweon
2024年03月02日

)近期美国专利及商标局公布了一批全新的AR/VR专利,以下是映维网的整理(详情请点击专利标题),一共86篇。更多专利披露请访问映维网专利板块
https://patent.nweon.com/
进行检索,你同时可以加入映维网AR/VR专利交流微信群(详见文末)。


1. 《
Meta Patent | Systems and methods of control of quality-of-service of data units via multiple communication layers(Meta专利:通过多个通信层控制数据单元的服务质量的系统和方法)

在一个实施例中,专利描述的方法包括由无线通信设备识别多个数据单元中的各个数据单元,每个数据单元分别对应于各种类型的通信,由无线通信装置并根据多个数据单位中的各个确定,根据所述各种类型的通信,每个参数指示所述多个数据单元中的相应数据单元的重要性,由所述无线通信设备根据满足指示所述通信类型中的通信类型的第一启发式的各种参数来选择,所述多个数据单元中的与满足与所述通信类型的服务质量(QoS)水平相对应的第二启发式的参数相对应的各种数据单元,以及由所述无线通信设备根据所述第二启发式来发送各种所选数据单元。


2. 《
Meta Patent | Force-cancelling audio system including an isobaric speaker configuration with speaker membranes moving in opposite directions(Meta专利:包括等压扬声器配置的力消除音频系统,扬声器膜沿相反方向移动)

在一个实施例中,专利描述的音频设备包括第一扬声器和第二扬声器。第二扬声器的膜片的前表面面向第一扬声器的膜片后表面。当音频设备输出音频内容时,第一扬声器的膜在与第二扬声器的膜相反的方向移动。这种配置为第一扬声器和第二扬声器之间共享的后音量保持等压,从而在输出音频内容时减少音频设备的振动。


3. 《
Meta Patent | Region of interest sampling and retrieval for artificial reality systems(Meta专利:人工现实系统的感兴趣区域采样和检索)

在一个实施例中,专利描述的成像设备配置为执行
眼动追踪
。成像设备包括图像传感器和图像控制器。图像传感器配置为捕获用户面部的一部分的图像。图像控制器配置为:在第一访问步骤中,从图像传感器向主存储器读出一组样本像素;从所述样本像素集合中识别感兴趣像素以及所述感兴趣像素的位置;在第二存取步骤中,从图像传感器向主存储器读出与感兴趣像素的位置相对应的感兴趣光电检测器组中的剩余像素;通过组合所述感兴趣像素和所述光电检测器组中的剩余像素来生成高分辨率感兴趣区域;并且使用感兴趣的全分辨率区域来执行注视点估计。


4. 《
Meta Patent | Mesh network for propagating multi-dimensional world state data(Meta专利:用于传播多维世界状态数据的网状网络)

在一个实施例中,通过应用多级过滤器在网状网络的节点之间以及从网状网络向客户端系统传播多维世界状态数据。世界状态数据可以表示共享软件应用程序环境中的实体的状态数据。网状网络的实现可以通过对网状网络的服务器节点应用一级服务器节点过滤,并对连接到网状网络的客户端系统应用二级客户端特定过滤来传播世界状态数据。


5. 《
Meta Patent | Authentic eye region capture through artificial reality headset(Meta专利:通过人工现实头显实现真实的眼部捕捉)

在全息通话中,由于人工现实头显的照明效果,很难捕捉来电者的眼睛。然而,在呈现呼叫者时捕捉他们的眼睛可能很重要,因为他们可以表现出有助于自然交流的情绪、注视、身体特征等。因此,通过短暂关闭XR头显的照明效果,实现可以使用外部图像捕获设备捕获呼叫者的眼睛。


6. 《
Meta Patent | Systems and methods of configuring reduced repetitions for uwb physical layer headers(Meta专利:为UWB物理层报头配置减少重复的系统和方法)

在一个实施例中,用于配置超宽带(UWB)物理层报头的减少重复的系统可以包括生成包括第一报头和第二报头的分组的第一UWB设备。第一报头可以包括指示分组的有效载荷的数据速率和编码方案的多个比特。第一UWB设备可以将分组发送到第二UWB设备。第二UWB设备可以根据编码方案和数据速率来接收和解码分组。


7. 《
Meta Patent | Transparent combination antenna system(Meta专利:透明组合天线系统)

在一个实施例中,专利描述的透明组合天线提供低于6GHz和高于24GHz频谱的带宽。例如,透明组合天线可以包括第一层透明导电材料和第二层透明导电物质。在一个实施例中,第一层和第二层都可以具有不同的节距。另外,衬底可以定位在第一层和第二层之间。


8. 《
Meta Patent | Authoring context aware policies through natural language and demonstrations(Meta专利:通过自然语言和演示编写情景感知策略)

在一个实施例中,专利描述的方法涉及在扩展现实环境中定义和修改行为。所述系统包括使用所述一个或多个音频传感器捕获来自所述用户的规则或策略的自然语言解释,从所述规则或政策的所述自然语言解释提取特征,基于所提取的特征和从历史规则或策略学习的模型参数来预测包括一个或多个条件语句的控制结构,并基于所述控制结构生成所述规则或策略,其中所述规则或策略包括用于基于对所述一个或多个条件的评估来执行所述一种或多种动作的所述一条或多条条件语句。


9. 《
Meta Patent | Predicting context aware policies based on shared or similar interactions(Meta专利:基于共享或类似交互预测情景感知策略)

在一个实施例中,专利描述的方法基于共享或类似交互利用人工智能平台预测策略。特别地,收集包括关于用户的信息和策略语料库的数据,为所收集的数据生成嵌入,并且基于嵌入来预测策略。可以基于基于内容的过滤、协作过滤和/或博弈论方法来预测策略。


10. 《》

在一个实施例中,专利描述的方法包括接收建立或修改给定用户或活动的规则或策略的请求,基于该用户或该活动获得模板,显示该模板和用于编辑该模板的工具,经由与用户界面的工具交互的用户接收对该模板的修改,以及基于所述修改来修改所述模板以生成所述规则或策略。


11. 《
Meta Patent | Vr venue separate spaces(Meta专利:VR场馆分离空间)

在一个实施例中,专利描述的方法可以提供关于托管虚VR体验(例如音乐会、体育游戏、会议等)的虚拟场所的虚拟分离空间。可以通过提供安静的、精心策划的空间来为观看VR体验的用户创建更亲密的体验。


12. 《
Meta Patent | Artificial reality browser configured to trigger an immersive experience(元专利:配置为触发沉浸式体验的人工现实浏览器)

在一个实施例中,当加载沉浸式体验时,实现在XR浏览器的浏览器chrome处显示元素。例如,XR浏览器可以包括应用编程接口API。API调用可以引起浏览器chrome元素的显示、改变浏览器chrome元件的显示属性、或者以任何其他合适的方式配置浏览器chrome元件。


13. 《
Meta Patent | Refining context aware policies in extended reality systems(Meta专利:完善扩展现实系统中的情景感知策略)

在一个实施例中,专利描述的方法用于在扩展现实系统中改进情景感知策略。相关操作包括:访问从用户交互中收集的数据,同时在扩展现实环境中使用情景感知策略,基于数据确定情景感知策略的支持集和置信度得分,生成情景感知政策的替换策略,基于所述数据确定所述替换策略中的每一个的支持集和置信度得分,基于所述支持集和置信度得分从所述替换政策中识别替换策略作为所述情景感知策略的替换,以及用所述一个或多个条件或由所述替换策略定义的动作的修改版本来更新由所述情景感知策略定义的一个或更多个条件或动作,以生成更新的情景感知策略。


14. 《
Meta Patent | Authoring context aware policies with intelligent suggestions(Meta专利:编写具有智能建议的情景感知策略)

在一个实施例中,专利描述的方法涉及基于用户活动利用人工智能平台生成和修改策略。特别地,收集包括用户在真实世界和虚拟环境中执行的活动的特征的数据,基于从历史策略中学习的数据和模型参数来预测控制结构,并且基于控制结构来生成新策略或修改预先存在的策略。


15. 《
Meta Patent | Enhanced grin lc lens response time using temperature control(Meta专利:使用温度控制增强GRIN LC透镜响应时间)

在一个实施例中,专利描述的系统包括具有GRIN LC透镜的光学器件;配置为评估液晶层的属性的传感器;热源;以及控制器。控制器被配置为基于传感器提供的信号介导热源和液晶层之间的热流。


16. 《
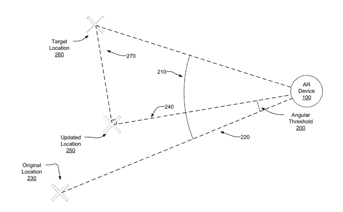
Meta Patent | Spherically-shaped mechanical interface used in a head-wearable device to accomodate a variety of wearers, and head-wearable devices using the spherically-shaped mechanical interface(Meta专利:球形机械界面用于头戴设备以容纳各种佩戴者,以及使用球形机械界面的头戴装置)

在一个实施例中,球形机械界面配置用于将眼镜臂与框架耦合。球形机械界面包括具有大致球形曲率的表面和延伸穿过该表面的至少两个孔。所述表面配置为通过紧固件固定到眼镜臂的一部分。所述表面配置为通过另一紧固件固定到眼镜臂的所述部分。


17. 《
Meta Patent | System and method using eye tracking illumination(Meta专利:使用眼动追踪照明的系统和方法)

在一个实施例中,专利描述的眼动追踪系统包括眼动追踪摄像头和一个或多个照明器组件。照明器组件包括光源并提供红外或近红外(NIR)光。来自光源的辐射光被光束成形元件接收并作为光束成形光提供到视窗。光束成形元件控制光束整形光的方向和/或扩展。准直器可以在光源和光束成形元件之间使用,以将辐射的光准直到光束成形元件以提高效率。光束成形元件可以是衍射光学元件(DOE),其具有基于指定方向和光束成形光的扩展来选择的衍射器的角度和形状。


18. 《
Meta Patent | Multi-laser illuminated mixed waveguide display with volume bragg grating (vbg) and mirror(Meta专利:带体积布拉格光栅和反射镜的多激光照明混合波导显示器)

在一个实施例中,显示系统包括具有用于传播与图像相关联的显示光的投影仪和用于将显示光传播到视窗的波导的可佩戴眼镜装置。波导包括体积布拉格光栅(VBG),其可以以具有相同水平周期的三个或更多个光栅为一组,允许每种颜色通过相同类型的光栅从波导耦出。100%反射镜或反射镜阵列用于宽光谱反射到用于光输入的波导中。


19. 《
Meta Patent | Fiber illuminated backlight and monitor(Meta专利:光纤照明背光和显示器)

在一个实施例中,专利描述了用于头显显示面板的技术。背光可以包括导光板,导光板经由耦合到光源的光传输元件被照明。导光板依次照亮显示面板。光源位于你tou’xi内,但远离显示面板设置。光电二极管耦合到光透射元件的表面,并且配置为检测由光透射元件透射的光的特性。


20. 《
Meta Patent | Photodiode monitor for fiber illuminated backlight(Meta专利:用于光纤照明背光的光电二极管监视器)

在一个实施例中,专利描述的方法可以包括从光源发射光。光可以经由光传输元件从光源传输,以照射位于远离光源的导光板。导光板可以照明位于远离光源的显示面板。光电二极管可以在靠近显示面板并且远离光源的位置处检测由光透射元件透射的光的特性。一个或多个处理器可以至少部分地基于光电二极管检测到的特性来确定光源的功率电平。


21. 《
Meta Patent | Reflective polarizer with integrated anti-reflective coating(Meta专利:集成防反射涂层的反射型偏振器)

在一个实施例中,专利描述的多层聚合物薄膜包括直接覆盖在反射型偏振器叠层上的抗反射涂层。反射型偏振器叠层包括交替的第一和第二聚合物层,其中第一层包括各向同性聚合物薄膜,第二层包括各向异性聚合物薄膜。抗反射涂层(ARC)包括交替的第三层和第四层,其中第三层包括各向同性聚合物薄膜或各向异性聚合物薄膜,第四层包括各向异性聚合物膜。多层聚合物薄膜可以通过共挤出形成,其中反射偏振器堆叠和抗反射涂层同时形成。


22. 《
Microsoft Patent | Systems and methods for generating depth information from low-resolution images(微软专利:用于从低分辨率图像生成深度信息的系统和方法)

在一个实施例中,用于从低分辨率图像生成深度信息的系统配置为访问捕捉环境的多个图像帧,从多个图像框中识别第一组图像框,并且使用第一组图像帧作为输入来生成包括环境的第一合成图像的第一图像。第一合成图像具有比第一组图像帧的图像帧的分辨率高的图像分辨率。系统同时配置为获得环境的第二图像,其中在与第一图像相关联的捕捉视角和与第二图像相关联地捕捉视角之间存在视差。系统同时配置为基于第一图像和第二图像生成环境的深度信息。


23. 《
Apple Patent | Method and device for presenting a cgr environment based on audio data and lyric data(苹果专利:基于音频数据和歌词数据呈现CGR环境的方法和设备)

在一个实施例中,由包括处理器、非瞬态存储器、扬声器和显示器的设备执行基于音频数据和歌词数据的语义分析来生成
CG
R内容以伴随音频文件的方法;获得包括音频数据和与音频数据相关联的歌词数据的音频文件;对歌词数据的至少一部分进行自然语言分析,以确定歌词数据的该部分的多个候选含义;对歌词数据的该部分执行语义分析,以通过基于音频数据的对应部分选择多个候选含义中的一个作为歌词数据的这部分的含义来确定歌词数据的那部分的含义;基于歌词数据的该部分的含义生成与该部分相关联的CGR内容。


24. 《
Apple Patent | Scene classification(苹果专利:场景分类)

在一个实施例中,专利描述了一种用于在多种类型的物理环境中识别物理环境的类型的示例性过程。所述过程包括使用一个或多个摄像头获得与物理环境相对应的图像数据;基于图像数据识别物理环境中的实体的至少一个部分;基于所识别的所述实体的至少一个部分,确定所述实体是否是第一类型的实体;如果所述实体是所述第一类型的实体,则确定所述物理环境的类型;以及呈现一个或多个虚拟对象和实体的表示。


25. 《
Apple Patent | Presenting content based on a point of interest(苹果专利:基于兴趣点呈现内容)

在一个实施例中,电子设备可以使用一个或多个传感器来检测用户对与用户的物理环境中的兴趣点相关联的内容的意图。响应于用户对内容的意图,电子设备可以向外部服务器发送与兴趣点相关联的信息。发送的信息可以包括深度信息、颜色信息、特征点信息、位置信息等。外部服务器可以将接收到的信息与兴趣点数据库进行比较,并在数据库中识别匹配的兴趣点。外部服务器然后向电子设备发送与匹配兴趣点相关联的附加情景信息和/或应用信息。电子设备可以基于接收到的与匹配兴趣点相关联的信息来运行应用和/或呈现内容。


26. 《
Apple Patent | Tracking systems with electronic devices and tags(苹果专利:带有电子设备和标签的追踪系统)

在一个实施例中,专利描述的电子设备可以包括无线通信电路,其从耦合到不同物品的标签接收位置信息。电子设备可以使用标签来保持对不同项目的跟踪。电子设备可以包括控制电路,控制电路分析来自标签的历史跟踪数据以识别标签之间的模式和关系。基于历史跟踪数据,控制电路可以将标记的物品分类为其他标记的物品的袋子,并且可以在标记的物品从其袋子中丢失时自动提醒用户。控制电路可以基于历史跟踪数据生成规则,例如关于标记项目之间的可接受范围和标记项目与电子设备之间的可接收范围的规则。控制电路可以基于历史跟踪数据来确定何时提供标记项目的实时位置信息和其他通知。


27. 《
Apple Patent | Presenting content based on a state change(苹果专利:根据状态变化呈现内容)

在一个实施例中,专利描述的电子设备可以维护电子设备的可能位置的列表和所述电子设备可能活动的列表。电子设备可以收集传感器数据并基于传感器数据确定电子设备的位置和活动。响应于检测到位置和/或活动的变化,电子设备可以使用至少一个先前关闭的传感器来获得额外的传感器数据。使用额外的传感器信息,电子设备可确定向用户呈现内容。响应于检测到位置和/或活动的变化,电子设备可以增加至少一个传感器的采样率(和功耗)。


28. 《
Apple Patent | Head-mounted electronic device with magnification tool(苹果专利:带放大工具的头戴式电子设备)

在一个实施例中,专利描述的头戴式设备包括配置为显示图像并同时显示呈现图像的放大部分的放大窗口的显示器。放大窗口位于相对于用户头部固定的放大平面中。头戴式设备中的一个或多个处理器可用于执行第一射线投射操作,以识别检测到的用户输入与放大窗相交的输入点,从输入点获得重映射点,基于重映射点和与用户头部相关联的参考点来计算方向矢量,通过将重新映射的点从放大平面移位到平行于放大平面的另一平面来获得移位点,并且使用移位点和方向矢量来执行第二射线投射操作。


29. 《
Apple Patent | Interactive motion-based eye tracking calibration(苹果专利:基于交互式运动的眼动追踪校准)

在一个实施例中,专利描述了一种用于执行用于校准眼动追踪设备的校准过程的方法,其中刺激对象显示在特定显示区域内,使得刺激对象至少暂时地沿着定义的轨迹移动,并且至少一个用户的至少一只眼睛的图像在刺激对象的显示期间被捕获。基于所捕获的图像,提供注视数据,并根据注视数据确定用户的至少一只眼睛相对于显示区域的注视点。


30. 《
Apple Patent | Electronic devices with sweat mitigation structures(苹果专利:具有防汗结构的电子设备)

在一个实施例中,专利描述的头戴式设备可以包括主壳体部分和在主壳体部分中的显示器。光密封件可以耦合到主壳体部分并且可以至少部分地围绕视窗。头戴式装置可以包括汗液缓解结构,例如光密封中的导湿通道,以引导汗液和其他湿气离开。导湿通道可以由凹槽或吸湿织物形成。控制电路可以基于传感器检测到的湿度、温度或雾来调节风扇。光密封件可以包括凹槽的定向图案,湿气通过该定向图案被引导离开。防潮层可以介于内部泡沫层和外部遮光织物之间,以防止汗液渗透到泡沫中。


31. 《
Apple Patent | Handheld controllers with charging and storage systems(苹果专利:带充电和存储系统的手持控制器)

在一个实施例中,专利描述的系统可以包括诸如头戴式设备的电子设备和用于控制电子设备的手持控制器。手持控制器可以具有外壳,所述外壳具有在第一和第二尖端部分之间延伸的细长轴。手持控制器可以具有配置为从电源接收电力的电力接收电路。电源可以并入电子设备中,例如无线充电座或充电棒、电池壳或头戴式设备。电源可以通过与手指装置中的配合端子形成欧姆接触的端子来供电,或者可以使用电容耦合或电感充电布置来无线地传输电力。磁体可用于将手持控制器的细长轴固定并对准在电源。


32. 《
Apple Patent | Fan with debris mitigation(苹果专利:具有碎屑吹散功能的风扇)

在一个实施例中,头戴式设备可以包括一个风扇,所述风扇可以有效地管理热量,同时可以减少颗粒和其他碎屑的侵入。风扇可以包括一种突起,突起可以形成一条曲折的路径,将进入的颗粒引导远离敏感区域。风扇可以包括允许颗粒离开风扇外壳并避免与叶轮相互作用的开口。风扇可以在叶轮和基板之间包括可变的间距,以避免颗粒的聚集。风扇可以包括粘合垫,粘合垫将颗粒收集并保持在不干扰叶轮旋转的位置。


33. 《
Google Patent | Generating microphone arrays from user devices(谷歌专利:从用户设备生成麦克风阵列)

在一个实施例中,专利描述了一种根据以下内容生成虚拟麦克风阵列的方法:识别多个麦克风,识别所述多个麦克风中的每一个的空间中的相对位置,基于所述多个子麦克风和所述多个头麦克风中的每个麦克风的空间中相对位置生成虚拟麦克风数组,感测所述多多个麦克风的每个麦克风处的音频,以及基于感测到的音频生成虚拟麦克风阵列的音频信号。


34. 《
Google Patent | Methods, systems, and media for generating compressed images(谷歌专利:生成压缩图像的方法、系统和媒体)

在一个实施例中,专利描述了用于生成压缩图像的方法。所述方法包括:识别表示三维图像的多平面图像MPI,其中MPI包括多个前向平行平面;将所述MPI分割成多个子体三维,其中所述多个子体三维中的每个子体三维包括所述多个前向平行平面的子集;为MPI的每个子体三维计算深度映射;将每个深度映射转换为网格,其中每个网格对应于与要渲染的多深度图像MDI相关联的多个层中的一层;对于所述多个层中的每一层,计算图像;以及将与MDI的多个层相对应的网格和与MDI的多层相对应的图像存储为MDI。


35. 《
Sony Patent | Information processing apparatus and image generation method(索尼专利:信息处理设备和图像生成方法)

在一个实施例中,专利描述的信息处理设备包括至少一个具有硬件的处理器。所述至少一个处理器在三维虚拟现实空间中生成要在头戴式显示器显示的第一内容图像,生成要在平板显示器显示第二内容图像,并且从所述第一内容图像和/或所述第二内容图像生成第三内容图像。


36. 《
Sony Patent | Non-fungible tokens (nfts) for management of virtual assets(索尼专利:用于管理虚拟资产的NFT)

在一个实施例中,电子设备在虚拟现实平台跟踪与用户相关联的虚拟资产,并接收与该虚拟资产相关联的元数据。基于元数据到与虚拟现实平台相关联的分布式账本的存储,创建与虚拟资产相关联的第一NFT。第一个NFT拆分为一组NFT。每个NFT与对应于第一用户的虚拟资产的用户权限相关联。NFT集合存储在分布式账本。基于用户输入,从NFT集合中检索与第一虚拟资产相关联的第二NFT。基于第二NFT在虚拟现实平台上控制虚拟资产的所有权或使用。


37. 《
Sony Patent | Information processing device, information processing method, and program(索尼专利:信息处理设备、信息处理方法和程序)

在一个实施例中,专利描述的信息处理设备包括获取由头戴式显示器摄像头拍摄的拍摄图像和使用摄像头根据亮度调整的拍摄参数的拍摄图像获取部分,以及播放区域控制部分。播放区域控制部分通过在根据基于拍摄参数的估计亮度改变分析条件的同时分析拍摄图像,然后获取关于真实对象的3D信息,以检测用于定义用户的可移动范围的播放区域。


38. 《
Sony Patent | Dual camera tracking system(索尼专利:双摄像头追踪系统)

在一个实施例中,双摄像头追踪系统包括主成像器和辅助成像器,辅助成像器的输出用于改变主成像器的目标和/或焦点。两个成像器都可以安装在共同的外壳之上。公共外壳可以是头戴式显示器。


39. 《
Sony Patent | Information processing apparatus and information processing method(索尼专利:信息处理设备和信息处理方法)

在一个实施例中,专利描述的信息处理设备包括校正由头戴式显示器的摄像头拍摄的摄像头图像的图像校正部分、使用校正后的摄像头图像估计实际身体的状态的状态估计部分、校正后的状态估计部分、以及校准部分,所述校准部分使得所述头戴式显示器显示引导图像。另外,校正部分收集所述特征点的数据,执行校正,并且更新由所述图像校正部分使用的校正参数。


40. 《
Sony Patent | Information processing apparatus, information processing method, and program(索尼专利:信息处理设备、信息处理方法和程序)

在一个实施例中,专利描述的信息处理设备包括显示控制器。显示控制器基于用户的视点的位置和显示在根据用户的视点执行立体显示的显示器上的至少一个对象的位置来检测干扰对象;并且控制在显示器执行的干涉对象的显示,使得抑制与干涉对象相关的立体视觉矛盾。


41. 《
Sony Patent | Hologram recording medium, hologram optical element, optical device, optical component, and method for forming hologram diffraction grating(索尼专利:全息图记录介质、全息图光学元件、光学器件、光学元件和形成全息图衍射光栅的方法)

在一个实施例中,专利描述了一种全息图记录介质,其能够抑制未曝光状态下的存储稳定性的劣化。全息图记录介质包括基材和感光层。在23°C和0%RH的环境中测量的基材的透氧性大于0.1 cm3·(m2·day·atm)−1和10000 cm3·(m2.day·atm)-1或更小。感光层包含可聚合化合物,可聚合化合物包含由特定通式表示的化合物。


42. 《
Sony Patent | Object recognition method and time-of-flight object recognition circuitry(索尼专利:对象识别方法和飞行时间对象识别电路)

在一个实施例中,专利描述了一种飞行时间摄像头数据的对象识别方法,所述方法包括:基于预训练算法识别真实对象,其中基于飞行时间训练数据训练预训练算法,其中基于指示背景的真实飞行时间数据的组合生成飞行时间训练数据,以及通过在表示模拟对象的合成覆盖图像数据上应用掩模而生成的模拟飞行时间数据,从而生成掩模模拟对象。


43. 《
Sony Patent | Information processing apparatus and information processing method(索尼专利:信息处理设备和信息处理方法)

在一个实施例中,专利描述了一种信息处理设备和信息处理方法,包括获取内容的数据,并且基于内容的数据从内容图像中切出与第一用户的视野相对应的第一视场图像。另外,获取表示观看内容图像的第二用户的视野的视场信息。在显示设备中,显示第一视场图像,并且基于第二用户的视场信息显示第二用户。


44. 《
Sony Patent | Augmented reality system with tangible recognizable user-configured substrates(索尼专利:具有有形可识别用户配置基板的增强现实系统)

在一个实施例中,提供诸如纸之类的有形基底供最终用户配置到例如楼梯、跑道等中。机器视觉处理基底的图像以生成电子地图。使用所述地图,生成虚拟对象的图像并在AR显示器呈现为在基板移动。基板通过显示器可见,其中虚拟对象看起来叠加在有形基板之上。


45. 《
Samsung Patent | Method and apparatus for performing radio access network function by using dynamic scaling(三星专利:通过使用动态缩放来执行无线电接入网络功能的方法和装置)

在一个实施例中,专利描述了一种在无线通信系统中由第一分布式单元(DU)执行通信的方法,所述方法可以包括:基于第一DU的资源使用量信息来识别是否请求到至少一个第二DU的连接;基于识别的结果来获得用于连接到所述至少一个所二DU的DU间接口设置信息;以及基于所获得的DU间接口设置信息来确定到所述至少一个第二DU的连接以用于分组的发送和接收。


46. 《
Samsung Patent | Wearable electronic device for controlling camera module and method for operating thereof(三星专利:用于控制摄像头模块的可穿戴电子设备及其操作方法)

在一个实施例中,专利描述的可穿戴电子设备可以包括外壳、包括在外壳中的至少一个处理器、配置为捕获第一视场的图像的至少一种第一摄像头模块、以及配置为捕捉不同于第一视场的第二视场的图像的至少一种第二摄像头模块。


47. 《
Samsung Patent | Video encoding method and device and video decoding method and device(三星专利:视频编码方法及设备和视频解码方法及设备)

在一个实施例中,专利描述了用于基于当前块的宽度和高度来确定当前块的帧内预测模式的视频编码/解码方法和设备。当当前块具有宽度和高度相等的正方形形状时,从包括多个预定帧内预测方向的第一帧内预测模式候选者中确定当前块的帧内预测模型,并且当当前块是宽度和高度不相等的非正方形形状时时,从基于所述非正方形形状配置的第二帧内预测模块候选者中确定该当前块的帧内预测模型。


48. 《
Samsung Patent | Micro-light emitting diode display and methods of manufacturing and operating the same(三星专利:Micro LED显示器及其制造和操作方法)

在一个实施例中,专利描述了一种超高像素每英寸Micro LED显示器,它包括包括多个Micro LED的Micro LED层、包括连接到Micro LED层的开关器件的背板层、以及设置在多个Micro LEDs和开关器件之间的场屏蔽构件。场屏蔽构件配置为在Micro LED显示器的操作期间屏蔽开关器件免受从多个Micro LED管施加到开关器件的场的影响,其中Micro LED层和背板层以顺序堆叠的结构形成一体。


49. 《
Samsung Patent | Display device and driving method thereof(三星专利:显示设备及其驱动方法)

在一个实施例中,专利描述的显示设备包括像素电路层,其中像素电路层包括基底层和在该基底层上的电路元件;以及在像素电路层上的显示层,其中显示层包括在像素电路层上的第一电极;在所述第一电极上的绝缘层;在所述绝缘层上的第二电极;发光堆叠结构,其中发光堆叠结构在所述第二电极上并且包括第一绝缘层、第二绝缘层以及在所述第一绝缘层和所述第二电绝缘层之间的发光层;以及在发光堆叠结构上的第三电极。发光层包括二维材料,通过第一绝缘层与第二电极分离,并且通过第二绝缘层与第一电极分离。


50. 《
Samsung Patent | Head-mounted electronic device for converting a screen of an electronic device into extended reality and electronic device connected thereto(三星专利:用于将电子设备的屏幕转换为扩展现实的头戴式电子设备及其连接的电子设备)

在一个实施例中,专利描述的电子设备包括处理器,所述处理器进一步配置为将对象转换成多个虚拟对象以在由所述头戴式电子设备的显示器输出的视觉图像中显示所述对象。处理器进一步配置为验证关于与应用程序的执行屏幕的颜色相对应的主题的信息,以及关于由头戴式电子设备的显示器输出的视觉图像的信息。处理器进一步配置为基于关于主题的信息和关于视觉图像的信息中的至少一个来控制虚拟对象的亮度和饱和度中的至少之一。


51. 《
Samsung Patent | Augmented reality device for obtaining depth information of object and operating method thereof(三星专利:用于获取对象深度信息的增强现实设备及其操作方法)

在一个实施例中,专利描述了一种用于获得现实世界中物体的深度信息的增强现实设备,包括:视线追踪传感器;深度传感器;存储器;以及至少一个处理器。处理器配置为执行所述一个或多个指令以基于所述注视点的移动速度、加速度、注视时间、注视次数或位置中的至少一个来确定感兴趣区域(ROI)置信水平,所述感兴趣区域置信水平指示所述AR设备的视场(FOV)内的至少一部分区域被预测为ROI的程度;基于所述ROI置信水平来确定ROI;并且设置用于控制深度传感器的操作的参数以获得ROI内的对象的深度信息。


52. 《
Samsung Patent | Display apparatus providing image with immersive sense(三星专利:提供身临其境感图像的显示设备)

在一个实施例中,专利描述的显示设备包括配置为提供图像光的图像形成装置;配置为聚焦由所述图像形成装置提供的图像光的凹面镜;以及输送光学系统。所述输送光学系统配置为经由所述凹面镜将由所述图像形成装置提供的图像光输送到观察者的视场。


53. 《
Samsung Patent | Electronic device for controlling wearable device based on input of electronic device and method thereof(三星专利:用于基于电子设备的输入控制可穿戴设备的电子设备及其方法)

在一个实施例中,电子设备的处理器通过控制可穿戴设备,在可穿戴设备的视场中显示第一屏幕的一部分,并在电子设备的显示器的显示区域内显示第二屏幕。在基于从可穿戴设备接收的第一信息识别将在视场内显示的参考位置的第一状态中,并且为了识别指针在视场中的参考位置,处理器基于参考位置和第二屏幕上的触摸输入的接触点的位置来获得指针在视场中的位置。处理器基于接触点在第二状态内的位置获得指针在视场中的位置,并基于所获得的位置将用于在第一屏幕中显示指针的第二信息发送到可穿戴设备。


54. 《
Niantic Patent | Smooth object correction for augmented reality devices(Niantic专利:增强现实设备的平滑对象校正)

增强现实(“AR”)设备应用平滑校正方法来校正呈现给用户的虚拟对象的位置。AR设备可以应用角度阈值来确定虚拟对象是否可以从原始位置移动到目标位置。角度阈值是从AR设备到虚拟对象的线可以在时间步长内改变的最大角度。类似地,AR设备可以应用运动阈值,该运动阈值是基于虚拟对象的运动可以校正虚拟对象的位置的距离的最大值。此外,AR设备可以将像素阈值应用于虚拟对象的位置的校正。像素阈值是基于虚拟对象的位置变化,虚拟对象的像素投影可以改变的距离的最大值。


55. 《
HTC Patent | Virtual reality tracker and tracker correction position method(HTC专利:虚拟现实追踪器和追踪器校正位置方法)

在一个实施例中,专利描述的虚拟现实跟踪器,包括第一部分和第二部分。第一部分包括多个第一发光二极管和内部测量单元。惯性测量单元用于测量第一部分的加速度和三轴角速度。第二部分包括多个第二发光二极管。另外,第一部分和第二部分通过柔性部件连接。


56. 《
HTC Patent | Electronic system, control method and non-transitory computer readable storage medium(HTC专利:电子系统、控制方法和非瞬态计算机可读存储介质)

在一个实施例中,专利描述了一种应用于物理环境中的第一电子设备和第二电子设备的控制方法。第一电子设备和第二电子设备配置为通过在第一电子设备与第二电子设备之间建立的第一无线连接来相互通信。所述控制方法包括:通过第一电子设备和第二电子设备中的至少一个,确定是否更新物理环境的地图;以及响应于更新所述物理环境的地图的确定,在所述第一电子设备和所述第二电子设备之间建立不同于所述第一无线连接的第二无线连接,其中所述第二无线连接配置为发送地图更新数据,并且地图更新数据配置为更新物理环境的地图。


57. 《
HTC Patent | Computing apparatus, method, and non-transitory computer readable storage medium thereof(HTC专利:计算设备、方法及其非瞬态计算机可读存储介质)

在一个实施例中,专利描述的设备接收多个虚拟角色的多个角色运动数据。所述设备基于角色运动数据对虚拟角色进行分类,以生成多个帧更新组,并且每个帧更新组对应于运动计算时段。在每一帧,设备选择每一帧更新组的至少一个子集中的一个,以计算每一虚拟角色的运动合成。


58. 《
HTC Patent | Tracking device, control method, and non-transitory computer readable storage medium(HTC专利:追踪装置、控制方法和非瞬态计算机可读存储介质)

在一个实施例中,专利描述了一种包括摄像头和处理器的追踪设备。摄像头配置为依次捕获具有第一设置组的若干第一图片和具有第二设置组的多个第二图片。处理器与摄像头相连。处理器,用于根据当前时间点的跟踪设备的当前时间点速度,从多个第一图片或多个第二图片中选择当前时间点图片,并根据该当前时间点照片确定当前时间点追踪设备的目前姿态。


59. 《
Qualcomm Patent | Sphere pole projections for efficient compression of 360-degree video(高通专利:用于有效压缩360度视频的球极投影)

在一个实施例中,360度视频帧的球形表示可以分割成顶部区域、底部区域和中间区域。中间区域可以映射到输出视频帧的一个或多个矩形区域中。可以使用将正方形转换为圆形的映射将顶部区域映射到输出视频帧的第一矩形区域,使得圆形顶部区域中的像素扩展以填充第一矩形区域。底部区域可以映射到输出视频帧的第二矩形区域中,使得圆形底部区域中的像素扩展以填充第二矩形区。


60. 《
Magic Leap Patent | Eyepiece imaging assemblies for a head mounted display(Magic Leap专利:用于头戴式显示器的目镜成像组件)

头戴式显示器可以包括框架、目镜、图像注入装置、传感器阵列、反射器和离轴光学元件。该框架可以被配置为被支撑在用户的头部上。目镜可以连接到框架并且被配置为设置在用户的眼睛前面。目镜可以包括多个层。图像注入装置可以被配置为向目镜提供图像内容以供用户观看。传感器阵列可以集成在目镜中或者集成在目镜之一中。反射器可以设置在目镜中或目镜上,并被配置为反射从物体接收的光以供传感器阵列成像。离轴光学元件可以设置在目镜中或目镜之一中。离轴光学元件可以被配置为接收从反射器反射的光,并将至少一部分光引向传感器阵列。


61. 《
Magic Leap Patent | Rendering Location Specific Virtual Content In Any Location(Magic Leap专利:在任何地点渲染特定于位置的虚拟内容)

在一个实施例中,专利描述了用于在三维环境中创建、保存和渲染包括多个虚拟内容项目设计的方法。所述设计可以保存为场景,所述场景由用户从预建的子组件、已建的组件和/或先前保存的场景中构建。可以保存表示为保存的场景锚节点的位置信息,从而表示每个虚拟内容项目的位置信息。在打开场景时,保存的场景锚节点可以与用户在混合现实环境中的位置相关联。


62. 《
Magic Leap Patent | Display system with low-latency pupil tracker(Magic Leap专利:低延迟瞳孔追踪器显示系统)

在一个实施例中,通过改变输出光的光源部分的位置,显示系统将出瞳位置与用户瞳孔位置对齐。光源可以包括输出光的像素阵列。显示系统包括捕捉眼睛图像的摄像头,所述图像的阴像由所述光源显示。在阴像中,眼睛的暗瞳孔是一个亮点,当由光源显示时,它定义了显示系统的出瞳。可以通过捕获眼睛的图像来追踪眼睛瞳孔的位置,并且可以通过使用光源显示捕获的图像的阴像来调整显示系统的出瞳位置。


63. 《
Magic Leap Patent | Augmented reality system and method for spectroscopic analysis(Magic Leap专利:用于光谱分析的增强现实系统和方法)

在一个实施例中,专利描述了用于识别目标对象的一个或多个特征的可穿戴光谱系统和方法。光谱系统可包括配置成在辐照视场中发射光的光源,以及配置成接收来自目标对象的反射光的电磁辐射检测器。系统的一个或多个处理器可以基于目标对象的光吸收水平来识别目标对象的特征。所述系统和方法可包括对散射光和/或环境光的一个或多个校正,例如应用环境光校正。


64. 《
Snap Patent | Voice controlled uis for ar wearable devices(Snap专利:适用于AR可穿戴设备的声控UI)

在一个实施例中,用户能够在不使用物理用户接口设备的情况下与AR可穿戴设备交互。应用程序具有非语音控制的UI模式和语音控制的用户界面模式。用户选择UI的模式。在AR可穿戴设备的显示器显示UI元素。UI元素具有类型。预定的动作与每个UI元素类型相关联。预定动作与其他信息一起显示,并由用户用来调用相应的UI元素。


65. 《
Snap Patent | Touch-based augmented reality experience(Snap专利:基于触摸的增强现实体验)

在一个实施例中,第一用户可以抓握对象。可以记录在抓握中施加在物体上的力的强度和/或抓握的持续时间。可以捕捉持有对象的第一用户的体三维表示。在体验阶段期间,第二用户可以触摸对象,对象可以以与施加在对象上的力的强度和抓握对象的持续时间相对应的强度和持续时间向第二用户提供触觉反馈(例如,振动)。如果捕捉到第一用户握持该对象的体三维表示,则触摸该对象可以引起握持该物体的第一用户的体三维体的呈现。


66. 《
Snap Patent | Contextual memory experience triggers system(Snap专利:情景记忆体验触发系统)

在一个实施例中,系统通过计算设备中包含的一个或多个传感器监测环境,并根据监测结果应用触发器检测记忆体验是否存储在数据存储中。如果检测到记忆体验,则系统根据触发器创建增强现实记忆体验、虚拟现实记忆体验或其组合。系统同时经由计算设备投影增强现实记忆体验、虚拟现实记忆体验或其组合。


67. 《
Snap Patent | Timelapse re-experiencing system(Snap专利:延时再体验系统)

在一个实施例中,系统经由计算设备的一个或多个传感器捕获由该一个或更多个传感器在第一时隙观察到的环境的数据,并将该数据存储在数据存储器中作为延时记忆体验的第一部分。该系统还经由计算设备的一个或多个传感器捕获由一个或更多个传感器在第二时隙观察到的环境的数据,并将该数据存储在数据存储器中作为延时记忆体验的第二部分。系统同时将时间流逝记忆体验与记忆体验触发器相关联,其中记忆体验触发器可以启动时间流逝记忆经验的呈现。


68. 《》

在一个实施例中,专利描述的显示设备呈现包括体三维视频的体三维内容。体三维视频包括三维空间中的一个或多个元素的体三维表示。接收指示与体三维视频的呈现相关联的控制操作的输入。通过执行控制操作来控制显示设备对体三维视频的呈现。在执行控制操作的同时,基于用户的移动从多个视角显示三维空间的一个或多个元素的体三维表示。


69. 《
Snap Patent | Multi-perspective augmented reality experience(Snap专利:多视角增强现实体验)

在一个实施例中,专利描述了用于提供多视角增强现实体验的方法。捕捉三维空间的体三维视频。三维空间的体三维视频包括三维空间内的第一用户的体三维表示。体三维视频由第二用户佩戴的显示设备显示,并且第二用户在三维空间内看到第一用户的体三维表示。检测指示第二用户与第一用户的体三维表示的交互的输入。基于检测到指示交互的输入,显示设备切换到第一用户的记录视角的显示。因此,通过在体三维视频中与第一用户的体三维表示交互,第二用户观看第一用户对三维空间的视角。


70. 《
Snap Patent | Optical waveguide combiner systems and methods(Snap专利:光波导组合器系统和方法)

在一个实施例中,专利描述的光学显示系统具有光波导组合器和一个或多个照摄像头。一个或多个摄像头光学耦合到光波导组合器,并且具有可由光学显示系统显示的至少一个真实对象和至少一个虚拟对象的视场。一个或多个摄像头可以设置在耦出器的可用视场之外。可以使用由光学显示系统可显示的一个或多个虚拟对象的摄像头捕获的图像来电子地自校准一个或更多个摄像头。设备和/或显示的虚拟对象与真实对象的AR/VR/MR配准可以使用由显示的虚拟对象和真实世界物体的一个或多个摄像头捕获的图像来实现。可以根据所捕获的图像来确定或估计相对于光波导组合器的真实物体距离和/或空间位置。


71. 《
Snap Patent | Sharing social augmented reality experiences in video calls(Snap专利:在视频通话中分享社交增强现实体验)

在一个实施例中,专利描述的系统可以在通信平台的与第一用户相关联的第一设备和与第二用户相关联地第二设备之间建立视频呼叫。系统可以呈现用于视频呼叫的视频接口,视频接口包括由第一用户的第一设备生成的第一视频流和由与第二用户相关联的第二设备生成的第二视频流。系统可以在视频接口中呈现由通信平台选择的第一组图像增强,第一组视频增强可由第一用户选择用于增强由第一用户设备生成的第一视频流。系统可以识别由通信平台的另一组用户使用的第二组图像增强。


72. 《
Snap Patent | Interactive augmented reality content including facial synthesis(Snap专利:包括面部合成在内的交互式增强现实内容)

在一个实施