/ Nweon / 0浏览

2024年02月24日美国专利局新申请AR/VR专利摘选



映维网Nweon
2024年02月24日

)近期美国专利及商标局公布了一批全新的AR/VR专利,以下是映维网的整理(详情请点击专利标题),一共75篇。更多专利披露请访问映维网专利板块
https://patent.nweon.com/
进行检索,你同时可以加入映维网AR/VR专利交流微信群(详见文末)。


1. 《
Meta Patent | Comfortable multiplexed lighting for modeling relightable avatars(Meta专利:用于为可重新照明Avatar建模的舒适多路照明)

在一个实施例中,专利描述的方法包括选择用于收集被摄体的图片序列的照明配置,所述照明配置包括具有围绕被摄体多个光的空间模式和具有多个摄像头曝光窗口的时间流逝模式,基于提供给被摄体平均照明强度来修改空间模式和时间流逝模式,基于所述空间模式和所述时间流逝模式按顺序激活所述光,并且在每个所述摄像头曝光窗口处从围绕所述被摄体的多个摄像头收集多个图片。


2. 《
Meta Patent | Systems and methods of configuring uwb physical layer headers(Meta专利:配置UWB物理层报头的系统和方法)

在一个实施例中,用于配置超宽带(UWB)物理层报头的系统和方法可以包括第一UWB设备,其生成包括报头的分组。报头具有指示分组中包括的有效载荷的数据速率的信息。第一UWB设备可以将分组发送到第二UWB设备。


3. 《
Meta Patent | Configurable diplexer for dual band support(Meta专利:支持双频段的可配置双工器)

在一个实施例中,专利描述了用于双频通信的开关可配置双工器架构。第一双工器可以具有用于接入点和设备之间的互连连接的第一频带和用于设备和第二设备之间的链路内连接的第二频带。第二双工器可以具有用于第一互连的第三频带和用于内部链路的第四频带。第一频带和第三频带以及第二频带和第四频带可以部分重叠。处理器可以识别接入点已经为互连连接选择了与第二间隙相对应的第一信道,并且响应于该识别,确定将第二双工器用于链路内连接。


4. 《
Meta Patent | Sram power switching with reduced leakage, noise rejection, and supply fault tolerance(Meta专利:具有减少泄漏、噪声抑制和电源容错能力的SRAM电源开关)

在一个实施例中,专利描述了使用电源切换逻辑来产生SRAM阵列的电源电压的技术。电源切换逻辑可以在激活状态期间使用第一电源轨(提供较高电压)并且在深度保持状态期间使用第二电源轨(供应较低电压)来产生电源电压。在一个示例中,提供感测和恢复(SR)单元以感测第二电压的降低。SR单元可以生成附加电压,附加电压将电源电压修改为高于减小的第二电压,从而减小第二电源轨中的下垂和/或噪声。电源切换逻辑、SR单元和SRAM阵列可以在计算机系统中共存或分布。例如,电源切换逻辑、SR单元和SRAM阵列可以嵌入片上系统集成电路中。


5. 《
Meta Patent | Automatic ontology generation for world building in an extended reality environment(Meta专利:扩展现实环境下世界构建的本体自动生成)

在一个实施例中,专利描述的方法包括接收包括被编程用于在扩展现实环境中操纵对象的多个片段的代码;使用机器学习模型来学习从被编程用于操纵对象的多个片段中识别多个编码模式;基于所述多个编码模式,提取所述多段中使用的对象术语和所述对象术语之间的关系;基于所述对象术语和所述关系生成用于自然语言模型的本体,其中所述本体配置为由所述自然语言模型使用以将语音解析为意图和槽。


6. 《
Meta Patent | Auto-completion for gesture-input in assistant systems(Meta专利:辅助系统中手势输入的自动完成)

在一个实施例中,专利描述的方法包括在VR头显用户接收第一模态中的初始输入,通过意图理解模块确定与初始输入相对应的意图,基于意图生成各个候选模态中的候选连续输入,其中候选模态不同于第一模态,以及在VR头显处呈现与一个或多个候选连续输入相对应的建议输入。


7. 《
Meta Patent | Monochrome and color images fusion for artificial reality systems(Meta专利:用于人工现实系统的单色和彩色图像融合)

在一个实施例中,计算系统可以接收由彩色摄像头捕获的彩色图像和由单色摄像头捕获的单色图像。彩色摄像头和单色摄像头与人工现实系统相关联。计算系统可以针对彩色图像和单色图像中的每一个计算直方图统计,并且基于直方图统计执行色调图匹配以相对于彩色图像归一化单色图像。计算系统可以执行局部运动估计,以计算指示归一化的单色图像和彩色图像之间的像素对应关系的运动矢量。计算系统可以通过针对归一化单色图像中的每个像素添加使用运动矢量从彩色图像中的对应像素提取的颜色信息来生成单色合并图像以用于在人工现实系统上显示。


8. 《
Meta Patent | Self presence in artificial reality(Meta专利:人工现实中的自我存在)

在一个实施例中,专利描述的人工现实系统可以基于来自用户图像的自我部分在人工现实环境中提供用户自我表示。人工现实系统可以通过应用机器学习模型对图像的自我部分进行分类来生成自我表示。机器学习模型可以被训练为基于一组训练图像来识别图像中的自身部分,其中部分被标记为从自身角度描绘用户或不描绘用户。人工现实系统可以通过将自身部分相对于用户在人工现实环境中的视角定位在人工现实场景中,来将自身部分显示为人工现实环境下的自我表示。人工现实系统同时可以识别用户的运动,并可以调整自我表示以匹配用户的运动从而提供更准确的自我表示。


9. 《
Meta Patent | Method of generating a virtual environment by scanning a real-world environment with a first device and displaying the virtual environment on a second device(Meta专利:通过用第一设备扫描真实世界环境并在第二设备上显示虚拟环境来生成虚拟环境的方法)

在一个实施例中,专利描述的方法包括用与第一用户相关联的第一设备扫描真实世界环境;生成所述真实世界环境的三维模型,将所述三维模型传输到与所述第一用户相关联的头戴式设备,通过基于由所述头显的第二摄像头捕获的图像将所述头佩戴式装置定位在所述三维模型内来确定所述头显的姿势,在所述头显显示与从所述姿势观看时基于所述三维模式生成的所述扫描的真实世界环境相对应的虚拟空间,以及将与所述三维建模和所述头显姿势相对应的数据传输到第二用户的远程头戴式设备,所述数据配置用于由所述远程头显呈现具有与具有所述姿势的第一用户相对应的第一化身的虚拟空间。


10. 《
Meta Patent | Automatic colorization of grayscale stereo images(Meta专利:灰度立体图像的自动着色)

在一个实施例中,计算系统可以使用处于第一摄像头姿势的第一摄像头来捕获第一灰度图像,并且使用处于第二摄像头姿势的第二摄像头来捕获第二灰度图像。计算系统可以使用处于第三摄像头姿势的RGB摄像头来捕获参考彩色图像。计算系统可以使用彩色化机器学习模型,基于参考彩色图像和第一灰度图像,生成具有与第一摄像头姿势相同的摄像头姿势的第一彩色图像。计算系统可以使用彩色化机器学习模型,基于参考彩色图像、第二灰度图像和第一彩色图像,生成具有与第二摄像头姿势相同的摄像头姿势的第二彩色图像。


11. 《
Meta Patent | Techniques to provide user authentication for a near-eye display device(Meta专利:为近视显示设备提供用户身份验证的技术)

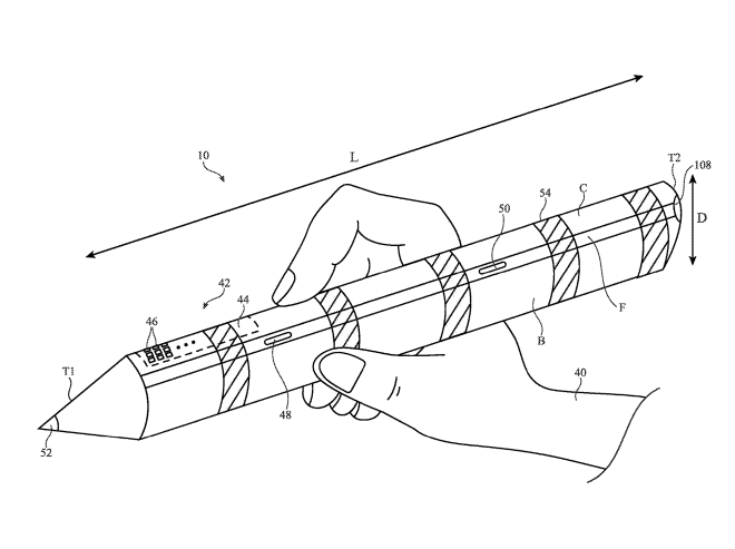
在一个实施例中,为参与多媒体内容和/或访问受限数据的近眼显示设备的佩戴者提供了基于用户生物特征信息的认证技术。与用户相关联的生物和/或行为生物特征信息可以通过集成或通信耦合到近眼显示设备的传感器和类似设备来捕获。生物生物特征信息可包括与用户的面部、指纹、掌纹、虹膜、视网膜、心脏电信号等相关联的数据。行为生物特征信息可以包括与用户运动、步态、手势、语音等相关联数据。可以基于环境条件自动选择一种认证技术。近眼显示设备可以检测用户的连续佩戴,并且在不使用一段时间之后或者在两个不同的认证会话之间刷新或继续认证。


12. 《
Meta Patent | Managing updates for an artificial reality system in cross-version and cross-platform environments(Meta专利:在跨版本和跨平台环境中管理人工现实系统的更新)

在一个实施例中,专利描述的方法提供XR运行时,其可以动态地执行运行时版本。实现可以提供XR运行时的多个版本,以允许在发生更新时保留旧版本的XR运行库。实现可以保持向后兼容性,并允许旧体验在应用程序中运行。实现可以访问与体验相关联的元数据,以确定体验可以在哪个运行时版本下执行,并且可以动态运行可以支持该体验的最新运行时版本。


13. 《
Meta Patent | Perspective sharing in an artificial reality environment between two-dimensional and artificial reality interfaces(Meta专利:人工现实环境下二维与人工现实界面的视角共享)

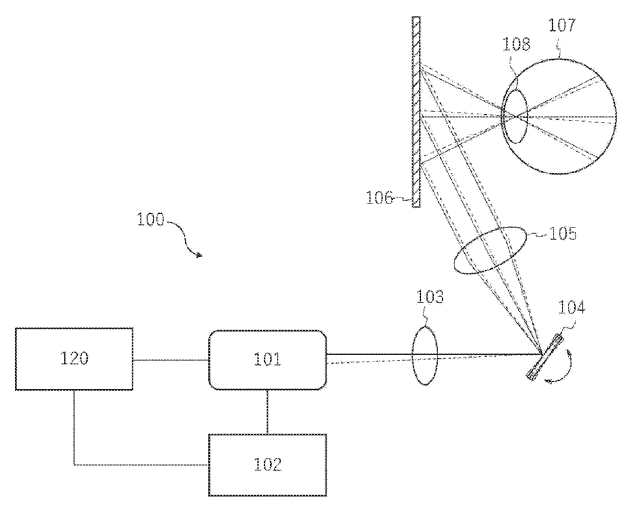
在一个实施例中,专利描述的方法可以允许2D界面上的第二用户在XR环境中使用XR界面跟随第一用户,并从XR环境下第一用户的表示的位置观看虚拟世界。实现可以给予第二用户与第一用户相同的视点,或者可围绕XR环境中第一用户的表示的位置枢转的不同视点。在任何时候,第二用户都可以“弹出气泡”,以重新启用第二用户的表示独立移动并与虚拟世界交互的能力,而不被锁定到第一用户的表示。


14. 《
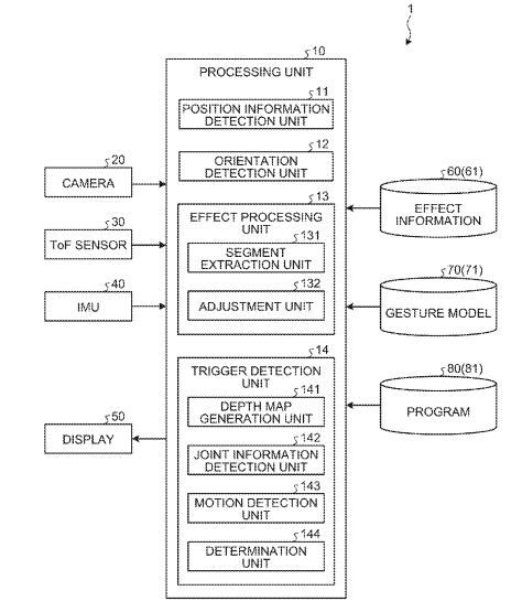
Meta Patent | Url access to assets within an artificial reality universe on both 2d and artificial reality interfaces(Meta专利:URL访问二维和人工现实界面上的人工现实世界中的asset)

在一个实施例中,实现是针对在2D和XR接口上对人工现实世界内的asset的URL访问。实现可以使用统一的URL模式来表示asset。从2D界面访问URL可以将用户引导到登录页,用户可以从该登录页选择继续并从2D界面浏览世界,或者改为从XR界面浏览世界。当从XR接口访问URL时,用户可以看到预取的关于目的地的信息。


15. 《
Meta Patent | Navigating a user interface using in-air gestures detected via neuromuscular-signal sensors of a wearable device, and systems and methods of use thereof(Meta专利:使用通过可穿戴设备的神经肌肉信号传感器检测到的悬空手势导航用户界面及其系统和使用方法)

在一个实施例中,专利描述的方法包括用于使用在可穿戴设备处检测到的手势来导航用户界面。示例方法包括经由用户佩戴的手腕可穿戴设备的一个或多个神经肌肉信号传感器接收在用户的手腕进行悬空手腕运动期间生成的数据;根据悬空手腕运动在用户界面上移动焦点;以及经由所述一个或多个神经肌肉信号传感器接收在用户执行悬空手势期间生成的附加数据。所述方法确定悬空手势是执行手势;以及执行与执行手势相对应的命令。


16. 《
Meta Patent | Multi-stage gestures detected based on neuromuscular-signal sensors of a wearable device to activate user-interface interactions with low-false positive rates, and systems and methods of use thereof(Meta专利:基于可穿戴设备的神经肌肉信号传感器检测到的多阶段手势来激活具有低假阳性率的用户界面交互,以及其系统和使用方法)

在一个实施例中,专利描述的方法包括,在保持手势的同时,接收针对与多个值相关联的用户界面对象的第一幅度的调整手势的性能的第一指示;响应于接收到第一指示,在基于第一幅度移动通过多个值中的一些值之后,将用户界面对象调整为具有第一状态;在接收到手势的释放的指示之后,响应于接收到调整手势的执行的第二指示,放弃调整用户界面对象,使得用户界面对象继续具有第一状态。


17. 《
Meta Patent | Look to pin on an artificial reality device(Meta专利:看着即固定的人工现实设备)

在一个实施例中,当要显示通知时,人工现实通知系统可以将该通知添加到用户视场中的预定义位置,直到用户的视线直接指向该通知。当用户的目光指向通知时,人工现实通知系统可以使通知世界锁定,允许用户移动头部以将通知带到视场中心,向通知靠近以使其更大,在通知周围移动以从不同角度看到各个方面等等。如果用户在第一阈值量的时间内从未将目光投向该通知,或者当用户在第二阈值量时间内将目光从锁定世界的版本移开时,可以取消该通知。


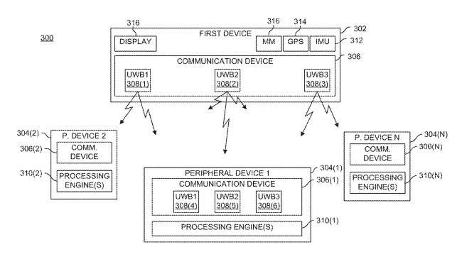
18. 《
Meta Patent | Absolute phase unwrapping for fringe analysis in an eye tracking application(Meta专利:用于眼动追踪应用中条纹分析的绝对相位展开)

在一个实施例中,专利描述了一种用于绝对相位展开的
眼动追踪
系统。所述系统包括条纹投影仪、摄像头和照明模块。投影仪在眼睛上提供周期性的条纹图案,摄像头捕捉条纹图案的反射。傅立叶变换、小波变换、相移和/或其变体可以用于确定条纹图案的相位并生成包裹的相位图。空间相位展开用于相位展开,从而产生相对展开的相位图。在条纹投影仪和摄像头之间具有已知相对位置的照明模块用于在眼睛上产生闪光。原始图像上检测到的闪烁用于将相对展开相位图转换为绝对展开相位图。


19. 《
Meta Patent | Gaze adjusted avatars for immersive reality applications(Meta专利:用于沉浸式现实应用程序的注视调整Avatar)

在一个实施例中,专利描述的方法包括在接收器设备中验证启动Avatar的视觉追踪是活动的,以及在接收器设备中将Avatar的注视方向调整到固定点。调整注视方向包括在稍后的时间估计接收器帧中的注视点的坐标,以及在接收器设备中将Avatar的两个眼球旋转到注视点的方向上的点。


20. 《
Meta Patent | Light field directional backlighting based three-dimensional (3d) pupil steering(Meta专利:基于光场定向背光的三维光瞳控制)

在一个实施例中,头戴式显示设备采用光场定向背光来提供3D光瞳操纵。示例光场定向背光单元包括两个基本平坦的组件:光源阵列和调制器阵列。通过数字地修改光源阵列上的照明图案并将光场定向背光单元与作为主显示面板的额外透射显示元件和一个或多个观看光学元件配对,由光场定向背光源单元创建的光场在三维中移动在不干扰显示内容的情况下对应于光瞳偏移的空间。


21. 《
Meta Patent | Optical combiner apparatus(Meta专利:光学组合器)

在一个实施例中,光学组合器可以具有透视光学透明基板和包括在光学透明基板中并沿着基板的波传播轴设置的图案化区域。图案化区域可以是部分光学反射的和部分光学透明的。图案化区域可以包括光学透明基板的多个光学透明区域和相对于光学透明基板波传播轴倾斜的多个光反射区域。


22. 《
Meta Patent | Photonic integrated circuits and low-coherence interferometry for in-field sensing(Meta专利:用于场内传感的光子集成电路和低相干干涉术)

在一个实施例中,光子集成电路可以包括光耦合器和波导,所述光耦合器具有对指定波长的光基本透明的衬底,所述波导配置为路由具有在指定波长的中心波长的光束。光耦合器包括以一定角度设置的反射镜,并且反射镜设置在衬底的成角度表面上。光耦合器同时包括光束形成元件,光束形成元件配置为收集从反射镜反射的光,并且波导和反射镜集成在衬底内。


23. 《
Microsoft Patent | Low motion to photon latency rapid target acquisition(微软专利:低运动到光子延迟快速目标捕获)

在一个实施例中,系统摄像头和外部摄像头生成图像。图像彼此重叠并对齐以形成重叠图像。来自外部摄像头图像的内容被覆盖图像中的边界元素包围。获得与系统摄像头和外部摄像头两者相关联的IMU数据。基于IMU数据,确定自图像最初生成以来系统摄像头和/或外部摄像头已经移动的移动量。基于该移动,边界元素移动到覆盖图像中的新位置。


24. 《
Microsoft Patent | Spatial localization design service(微软专利:空间定位设计服务)

在一个实施例中,合成世界界面可用于对数字环境、传感器和运动进行建模,以评估、开发和改进定位算法。具有传感器基元库、运动生成器和具有程序和游戏功能的环境的合成数据云服务,有助于具有定位功能的制造解决方案的工程设计。在一个实施例中,传感器平台模拟器与运动协调器、环境协调器、实验生成器和实验运行器一起操作,以在虚拟环境中测试各种候选硬件配置和定位算法。


25. 《
Apple Patent | Haptic output system(苹果专利:触觉输出系统)

在一个实施例中,专利描述的触觉输出提供方法包括检测条件;确定用户是否正在佩戴包括两个或多个触觉致动器阵列的头戴式触觉附件;确定所述触觉致动器阵列的致动模式;以及响应于检测到所述状况并确定所述头戴式触觉配件正被所述用户佩戴,启动所述致动模式以产生定向触觉输出,所述定向触觉输出被配置为将所述用户的注意力沿着方向引导。


26. 《
Apple Patent | Cameras for multiple views(苹果专利:多视图摄像头)

在一个实施例中,专利描述的头戴式设备可以具有多个摄像头,所述摄像头可以用于生成图形内容、提供环境的视频透视和/或感测环境中的对象、人或事件。头戴式设备的摄像头可以捕捉输出到显示器的视图。其他传感器和/或检测器可以检测对象和/或事件在用户的环境中的存在或运动,并且提供引起用户对这些对象和/或者事件的注意的输出。输出可以包括通知、视觉显示输出的可选特征和/或包括对象和/或事件的视图。


27. 《
Apple Patent | Optical assemblies for shared experience(苹果专利:共享体验的光学组件)

在一个实施例中,专利描述的头戴式设备可以与其一个或多个光学组件协同操作,以向多个用户提供共享体验和内容享受。这种操作可以通过头戴式设备与其光学组件中的一个或两个之间的连接来促进,以允许不同的用户接收内容。


28. 《
Apple Patent | Generating tactile output sequences associated with an object(苹果专利:生成与对象相关的触觉输出序列)

在一个实施例中,电子设备响应于检测到电子设备被定向在随着电子设备和相应对象之间的距离改变而改变的定向范围内而产生触觉输出序列。在一个实施例中,电子设备响应于检测到电子设备相对于相应对象的取向的改变而改变触觉输出的一个或多个特性。在一个实施例中,电子设备生成具有指示电子设备的摄像头相对于一个或多个AR平面的定向的特性的触觉输出。在一个实施例中,电子设备生成指示与第二电子设备的数据共享过程的触觉输出。


29. 《
Apple Patent | Indicating a position of an occluded physical object(苹果专利:指示被遮挡物理物体的位置)

在一个实施例种,专利描述的方法包括基于来自一个或多个环境传感器的环境数据来确定与物理代理相关联的第一位置值;基于第一位置值确定计算机生成的内容的一部分满足关于物理代理的对应部分的遮挡标准;响应于确定满足遮挡标准并确定物理代理满足移动标准或姿势标准,基于第一位置值生成与物理代理相关联的网格,并在显示器上显示该网格。


30. 《
Apple Patent | Object centric scanning(苹果专利:以对象为中心的扫描)

在一个实施例种,示例过程可以包括在设备在包括对象的物理环境中移动期间获取传感器数据,在至少一些图像中识别对象,基于识别所述图像中的至少一些图像中的所述对象来追踪所述设备在获取所述图像期间的位置,所述位置识别所述设备相对于基于所述对象的位置和取向定义的坐标系的定位,以及在获取图像期间基于图像和设备的位置生成对象的3D模型。


31. 《
Apple Patent | Presenting an environment based on user movement(苹果专利:呈现基于用户移动的环境)

在一个实施例中,呈现包括虚拟对象的计算机生成的现实环境,并且检测在物理环境中发生的用户移动。响应于确定检测到的用户移动是朝向虚拟对象的并且虚拟对象阻挡真实对象与物理环境的接触,确定检测到用户移动是指向虚拟对象还是指向真实对象。根据检测到的用户移动指向真实对象的确定,修改虚拟对象的视觉外观,其中修改虚拟对象的可视外观包括显示呈现真实对象的至少一部分。根据检测到的用户移动指向虚拟对象的确定,保持虚拟对象的呈现以阻挡真实对象。


32. 《
Apple Patent | Method and device for masked late-stage shift(苹果专利:掩模的后期阶段移位方法和装置)

在一个实施例中,专利描述的方法包括基于设备在显示时间段内的第一预测姿势生成第一图像;生成指示第一图像的第一区域和第一图像的第二区域的掩模;通过基于设备在显示时间段内的第二预测姿态移动第一图像的第一区域而不移动第一图像中的第二区域来生成第二图像;在显示时间段在显示器上显示第二图像。


33. 《
Apple Patent | Methods and devices for detecting and identifying features in an ar/vr scene(苹果专利:用于检测和识别AR/VR场景中特征的方法和设备)

在一个实施例中,专利描述的方法包括获得以第一姿态为特征的第一通过图像数据;获得第一通过图像数据中的像素的各个像素特征矢;根据特征的像素表征矢量满足特征置信度阈值的确定来识别第一通过图像数据内的对象的特征;显示第一通过图像数据和与该特征相对应的AR显示标记;获得以第二姿势为特征的第二通过图像数据;将AR显示标记变换到与第二姿势相关联的位置,以便跟踪特征;显示第二通过图像数据并基于变换保持与对象的特征相对应的AR显示标记的显示。


34. 《
Apple Patent | Image-based detection of surfaces that provide specular reflections and reflection modification(苹果专利:对提供镜面反射和反射修改的表面进行基于图像的检测)

在一个实施例中,专利描述的方法提供
CG
R环境,所述虚拟内容替换用户或用户的设备在镜子或提供反射的其他表面中的外观。例如,CGR环境可以修改为包括用户的反射,而不包括用户持有或佩戴的设备。在另一个例子中,CGR的环境修改为使得虚拟内容,例如更新版本的电子设备或虚拟棒,代替反射中的电子设备。在另一个示例中,修改CGR环境,使得诸如用户化身之类的虚拟内容替换反映中的用户。


35. 《
Apple Patent | Method of displaying products in a virtual environment(苹果专利:在虚拟环境中显示产品的方法)

在一个实施例中,计算机生成环境可以包括虚拟产品显示器,虚拟产品显示器包括产品的一个或多个表示。计算机生成环境可以包括提供与相应产品相关联的附加信息。用户能够定制相应的产品,例如,通过选择附件并将附件拖动到相应产品的表示。在一个实施例中,用户能够通过将产品的表示放置在用户身体的一部分的表示来预览产品。


36. 《
Apple Patent | Colored visual markers for variable use(苹果专利:用于可变用途的彩色视觉标记)

在一个实施例中,专利描述的方法涉及为视觉标记选择颜色的设备,所述视觉标记包括编码数据的彩色标记。接收选择源图像的输入,并且设备、系统和方法基于源图像并且基于超过3D颜色空间中的空间距离阈值的颜色之间的距离来确定颜色。设备、系统和方法基于所确定的颜色生成视觉标记的外观,视觉标记包括使用所确定的色彩对数据进行编码的图形元素。


37. 《
Apple Patent | Devices, methods, and graphical user interfaces for improving accessibility of interactions with three-dimensional environments(苹果专利:用于提高与三维环境交互的可访问性的设备、方法和图形用户界面)

在一个实施例中,当三维环境的视图经由计算机系统的显示生成组件可见时,计算机系统从用户接收一个或多个第一用户输入,该第一用户输入对应于三维环境中相对于与用户相关联的参考点的相应方向的选择,并且显示在各个方向上从参考点延伸的射线。在显示射线时,系统显示独立于用户输入沿射线移动的选择光标。当选择光标位于沿着射线的相应位置时,系统接收与停止选择光标沿着射线的移动的请求相对应的一个或多个第二用户输入,并且作为响应,将下一次用户交互的目标位置设置为三维环境中与选择光标沿着射线的相应位置相对应的位置。


38. 《
Apple Patent | Method and device for detecting a touch between a first object and a second object(苹果专利:用于检测第一对象和第二对象之间的触摸的方法和设备)

在一个实施例中,专利描述的方法用于检测第一对象的至少一部分和第二对象的至少部分之间的触摸,其中,所述第一对象的所述至少一部分具有与所述第二对象至少一部分不同的温度。所述方法包括提供第二物体的一部分的至少一个热图像、在至少一个热图的至少一部分中确定指示特定温度值或范围或特定温度变化值或范围的图案,以及使用所确定的图案来检测第一对象的至少一部分和第二对象的至少部分之间的触摸。


39. 《
Apple Patent | Handheld input devices with sleeves(苹果专利:带套筒的手持式输入设备)

在一个实施例中,专利描述的系统可以包括诸如头戴式设备的电子设备和用于控制电子设备的手持式输入设备。手持输入设备可以包括触笔和触笔上的可移除套筒。手持输入设备的输入输出能力可以在触笔和可移除套筒之间共享。触笔可以包括触摸传感器电路、力敏感尖端和运动传感器。套管可以包括用于将套管上的触摸输入转换到触笔上的触摸传感器电路的导体、用于将套管上力转换到触针的力敏感尖端的可变形构件、以及可以由外部摄像头检测并与来自触笔的运动传感器数据一起使用以跟踪手持输入设备的视觉标记。可移除套筒可以包括触觉输出设备和电池,并且可以在没有电子设备的情况下附接到物品。


40. 《
Apple Patent | Method and device for surfacing physical environment interactions during simulated reality sessions(苹果专利:在模拟现实会话中呈现物理环境交互的方法和设备)

在一个实施例中,专利描述的方法包括,在通过一个或多个显示器呈现虚拟环境的同时,从外部源获得对交互的请求。虚拟环境包括第一多个可用呈现区域和第二多个不可用呈现区域。所述方法进一步包括确定来自外部源的交互请求是否满足一个或多个交互标准,响应于确定所述外部源满足所述一个或多个交互标准。


41. 《
Apple Patent | Face engaging structure(苹果专利:面部啮合结构)

在一个实施例中,专利描述了面部啮合结构。其中,专利描述的设备包括显示器、面部接口以及显示器和面部特征之间的连接器。连接器可以包括一个挡块。


42. 《
Apple Patent | Conformable facial interface(苹果专利:适形面部界面)

在一个实施例中,专利描述的可穿戴电子设备包括显示器、可附接到显示器的框架、可移动地附接到框架的面部接口、以及将面部接口可移动地连接到框架的联动组件。连杆组件可包括可枢转地附接到框架的第一臂,第一臂包括第一端和第二端,第二臂可枢转地附接到第一端并附接到面部界面,第三臂可枢转到第二端并附接到脸部界面。


43. 《
Apple Patent | Head-mounted device with optical module illumination systems(苹果专利:带光学模块照明系统的头戴式设备)

在一个实施例中,为了适应与不同用户相关联的瞳孔间距离的变化,头戴式设备可以具有相对于彼此移动的左眼和右眼光学模块。每个光学模块可以具有创建图像的显示器和将图像提供给相关联的视窗以供用户观看的相应透镜。每个光学模块包括镜筒和头戴式光学模块照明系统,显示器和光学模块的透镜安装到镜筒上。照明系统可以具有发光器件,例如沿着显示器的外围边缘的一些或全部延伸的发光二极管。发光二极管可以安装在柔性印刷电路上。


43. 《
Apple Patent | Displaying content based on state information(苹果专利:根据状态信息显示内容)

在一个实施例中,头戴式设备可以通过分析传感器数据来确定情景信息。头戴式设备可以使用计算机视觉分析来根据头戴式装置周围的物理环境的图像来确定情景信息。基于接收到的状态信息,头戴式设备可以显示内容、播放音频、改变头戴式装置、外部设备和/或附加外部设备上的设备设置,和/或可以打开应用程序。


44. 《
Google Patent | Training robot control policies(谷歌专利:训练机器人控制政策)

在一个实施例中,专利描述的技术使用增强现实AR传感器数据来训练机器人控制策略,其中增强现实传感器数据包括注入虚拟对象的物理传感器数据。在各种实施例中,可以确定在物理环境中操作的物理机器人的物理传感器的物理姿态。同时可以确定物理环境中的虚拟对象的虚拟姿态。基于物理姿态虚拟姿态,可以将虚拟对象注入到由一个或多个物理传感器生成的传感器数据中,以生成AR传感器数据。物理机器人可以基于AR传感器数据和机器人控制策略在物理环境中操作。可以基于物理机器人与一个或多个虚拟对象之间的虚拟交互来训练机器人控制策略。


45. 《
Sony Patent | Display device(索尼专利:显示设备)

在一个实施例中,专利描述的显示设备包括:激光光源单元,其通过扫描发射用于视频形成的激光;以及激光光源驱动单元,其中激光光源单元可以发射具有不同光束尺寸的两个或更多个激光,或者可以发射两个或多个激光并且可以切换发射的激光的数量。


46. 《
Sony Patent | Information processing apparatus, information processing method, and information processing program(索尼专利:信息处理设备、信息处理方法和信息处理程序)

在一个实施例中,专利描述的信息处理设备包括设置单元,其基于定义基本触发区域的基本触发区域信息,确定与基本触发区域具有预定位置关系的扩展触发区域并且将定义所确定的扩展触发区的信息设置到存储单元。


47. 《
Sony Patent | Information processing method, information processing device, and non-volatile storage medium(索尼专利:信息处理方法、信息处理设备和非易失性存储介质)

在一个实施例中,专利描述的信息处理方法包括位置信息检测处理、效果处理和显示处理。位置信息检测处理基于由ToF传感器获取的深度数据来执行真实对象的距离信息的检测。效果处理基于检测到的真实对象的距离信息执行由CG生成的真实对象和AR对象的遮挡处理。显示处理在显示器上显示遮挡处理的结果。


48. 《
Samsung Patent | Method and apparatus for processing packet in wireless communication system(三星专利:用于在无线通信系统中处理分组的方法和装置)

在一个实施例中,专利描述了在无线通信系统中操作发送设备的方法,包括:在RLC实体中获得多个无线电链路控制(RLC)数据协议数据单元(PDU);基于所述RLC实体中的资源分配,生成与RLC数据PDU集合相对应的自动重复请求ARQ PDU;从介质访问控制(MAC)层通过较低层向接收设备发送基于所述RLC数据PDU集合和所述ARQ PDU生成的第一MAC PDU;以及当满足特定条件时接收与所述RLC数据PDU集合相关联的状态PDU,其中,所述ARQ PDU包括用于处理与所述RL数据PDU集合有关的操作的信息。


49. 《
Samsung Patent | Apparatus and method for transmitting and receiving signal according to channel state in wireless communication system(三星专利:无线通信系统中根据信道状态发送和接收信号的装置和方法)

在一个实施例中,专利描述了一种由UE执行的方法。所述方法包括从BS接收BS和RS的反射图案和发射波束的组合之间的映射信息;接收调度信息,所述调度信息包括关于与所述BS的所述反射图案和所述发射波束的组合相对应的信道状态的信息;基于从所述BS接收的至少一个RS、所述映射信息和所述调度信息来识别接收波束;以及通过所述接收波束从所述BS接收下行链路信号。反射模式与RIS有关。


50. 《
Samsung Patent | Display device and method for manufacturing the same(三星专利:显示设备及其制造方法)

在一个实施例中,专利描述的显示设备包括基板和设置在基板上的第一发光元件、第二发光元件和第三发光元件,每个发光元件包括第一半导体层、有源层和第二半导体层。第三半导体层设置在第一发光元件上,第一颜色转换层设置在第二发光元件上并且第二颜色转换层提供在第三发光元件上。


51. 《
Samsung Patent | Display device and method of manufacturing the display device(三星专利:显示设备及其制造方法)

在一个实施例中,专利描述的显示设备包括包括像素电路单元的基板、包括分隔发光区域和非发光区域的分布式布拉格反射器(DBR)结构的分隔壁、以及在基板上方的对应于发光区域并包括第一半导体层、有源层和多孔半导体层的发光元件。


52. 《
Samsung Patent | Display device and method for manufacturing the same(三星专利:显示设备及其制造方法)

在一个实施例中,专利描述的显示设备包括基板、基板上的多个像素电极、多个像素上的多多个发光元件,并且多个发光元素中的每一个都包括第一半导体层、有源层和第二半导体层,以及围绕多个发光元件并分隔多个发光单元的阻挡层,其中阻挡层包括半导体材料和包括铁或碳的掺杂剂。


53. 《
Samsung Patent | Electronic device identifying direction of gaze and method for operating the same(三星专利:识别注视方向的电子设备及其操作方法)

在一个实施例中,专利描述的电子设备可以包括摄像头和至少一个处理器。所述至少一个处理器可以配置为通过摄像头获得用户的眼睛图像,从所获得的眼睛图像获得瞳孔数据和视网膜图像,基于所获得的瞳孔数据和所获得的视网膜图像获得包括视网膜图像的眼睛模型,并且基于所获得的眼睛模型识别眼睛的位置或注视方向中的至少一个。


54. 《
Samsung Patent | Method and device for direct passthrough in video see-through (vst) augmented reality (ar)(三星专利:视频透视AR中的直接透视方法和设备)

在一个实施例中,专利描述的方法包括从具有第一和第二摄像头视点的第一和第二透视摄像头接收第一和第三图像;通过将第一映射应用于第一图像来生成与第一虚拟视点相对应的第一虚拟图像;第一映射基于与用户的第一只眼睛相对应的第一摄像头视点和第一虚拟视点的相对位置;通过对第二图像应用第二映射来生成与第二虚拟视点相对应的第二虚拟图像。第二映射基于与用户的第二只眼睛相对应的第二摄像头视点和第二虚拟视点的相对位置;在增强现实设备的至少一个显示面板上向第一虚拟视点和第二虚拟视点呈现第一虚拟图像和第二虚像。


55. 《
Samsung Patent | Display device(三星专利:显示设备)

在一个实施例中,专利描述的显示设备包括配置为输出光以显示图像的显示元件、包括光入射到的第一表面和与第一表面相对的第二表面的波导、设置在波导中以将光输入到波导中的输入耦合器,以及远心组件。所述远心组件被配置为使得入射到所述输入耦合器的光束的入射角彼此相同。


56. 《
Lumus Patent | Methods of fabrication of compound light-guide optical elements having embedded coupling-in reflectors(Lumus专利:在反射器中具有嵌入耦合的复合光导光学元件的制造方法)

在一个实施例中,叠层具有第一面和第二面以及多个LOE,每个LOE具有两个平行的主表面和倾斜于主表面的第一多个平行内刻面。第一块体具有第三面和第四面以及第二多个平行的内刻面。第一块体和堆叠体被接合,使得第二面接合第三面,并且第一和第二刻面不平行,从而形成第二块体。第二块体在穿过第一面的平面处被切割,形成具有界面的第一结构。第三块体具有第五面和第六面以及多个平行的内部反射器。第三块体和第一结构接合,使得第五面接合界面表面,并且内部反射器不平行于所有小平面,从而形成第二结构。从第二结构中切出化合物LOE。


57. 《
Qualcomm Patent | Distributed generation of virtual content(高通专利:分布式生成虚拟内容)

在一个实施例中,专利描述了用于在用户之间建立一个或多个虚拟会话的系统和技术。例如,第一设备可以向第二设备发送针对虚拟会话的虚拟表示呼叫的呼叫建立请求,并且可以从第二设备接收指示接受呼叫建立请求的呼叫接受。第一设备可以向第二设备发送第一设备的第一用户的第一虚拟表示的第一网格信息和第一虚拟表示中的第一网格动画参数。第一设备可以从第二设备接收用于第二设备的第二用户的第二虚拟表示的第二网格信息和用于第二虚拟表达的第二网状动画参数。第一设备可以基于第二网格信息和第二网格动画参数生成第二用户的第二虚拟表示。


58. 《
Qualcomm Patent | Calibration of interconnected tracking devices(高通专利:互联追踪设备的校准)

在一个实施例中,专利描述了用于校准追踪设备的系统。例如,相关过程可以包括在追踪设备网络的主追踪设备处生成主追踪设备的姿势信息;获取所述追踪设备网络的次追踪设备的相对姿态信息,其中,所述次追踪设备的相对姿势信息包括所述主追踪设备与所述次追踪设备之间的相对位置和方位;使用所述主追踪装置的姿态信息和所述次追踪装置的相对姿态信息来获得所述次追踪设备的绝对姿态信息;以及在主追踪设备处将绝对姿态信息发送到次追踪设备以执行校准动作。


59. 《
Magic Leap Patent | Systems And Methods For Sign Language Recognition(Magic Leap专利:手语识别系统和方法)

在一个实施例中,用于混合现实设备的传感眼戴系统可以促进用户与其他人或环境的交互。作为一个示例,传感眼戴系统可以识别和解释手语,并将翻译后的信息呈现给混合现实设备的用户。可穿戴式系统同时可以在用户环境中识别文本,修改文本,以及渲染修改后的文本以遮挡原始文本。


60. 《
Magic Leap Patent | Tunable attenuation of light transmission artifacts in wearable displays(Magic Leap专利:可穿戴显示器中透光伪影的可调谐衰减)

在一个实施例中,专利描述了一种使用可穿戴显示系统显示图像的方法。所述方法包括通过目镜将显示光从显示器指向用户,以在用户视场中投射图像;确定环境光源和目镜之间的相对位置;以及根据环境光源和目镜之间的相对位置,调整来自环境光源的环境光通过目镜的衰减。


61. 《
Magic Leap Patent | Methods for refining rgbd camera poses(Magic Leap专利:改进RGBD摄像头姿势的方法)

在一个实施例中,专利描述了一种用于细化姿态的方法,包括接收多个姿态并通过确定图像帧对的第一子集的图像帧对之间的第一组相对姿态来计算相对姿态集,所述图像帧对中的图像帧之间的时间间隔小于阈值,以及为图像帧对的第二子集确定图像帧对之间的相对姿态的第二集合,所述图像帧对中的图像帧之间的时间间隔大于阈值。


62. 《
Magic Leap Patent | Cross reality system with accurate shared maps(Magic Leap专利:具有精确共享地图的跨现实系统)

在一个实施例种,跨现实系统使多个设备中的任何一个能够高效且准确地访问先前保存的非常大规模环境的地图,并呈现相对于这些地图指定的虚拟内容。跨现实系统可以通过合并来自多个设备的跟踪映射来构建持久化映射,该持久化映射可以是规范形式的。地图合并过程确定跟踪地图与规范地图的可合并性,并根据可合并性标准将跟踪地图与标准地图合并,例如当跟踪地图的重力方向与规范地图重力方向对齐时。


63. 《
Magic Leap Patent | Calibration for virtual or augmented reality systems(Magic Leap专利:用于虚拟现实或增强现实系统的校准)

在一个实施例中,当头显移动通过头戴式耳麦的一系列姿势时,摄像头可以在不同的时间获得图像数据。可以检测头显在一系列姿势中移动时发生的头戴式耳麦的一个或多个错误校准条件。可以基于一个或多个错误校准条件将姿势系列划分为姿势组,并且可以使用单独的一组摄像头校准数据来执行姿势组的束调整。每组中姿势的束调整是使用该组的相同校准数据集来执行的。一起估计每个组的摄像头校准数据与该组中姿态的束调整。


64. 《
Magic Leap Patent | Lidar simultaneous localization and mapping(Magic Leap专利:激光雷达SLAM)

在一个实施例中,专利描述的系统配置用于在混合现实环境中映射信息。专利描述的方法包括扫描环境,包括用传感器捕获环境的多个点;跟踪所述环境的平面;通过将关键帧插入到所述观测中来更新与所述环境相关联的观测;确定所述平面是否与所述环境的第二平面共面;根据所述平面与所述第二平面共面的确定,对与所述环境相关联的观测执行平面束调整;以及根据所述平面与所述第二平面不共面的确定,对与所述环境相关联的观测的一部分执行平面束调整。


65. 《
Magic Leap Patent | Single pupil rgb light source(Magic Leap专利:单瞳RGB光源)

在一个实施例中,专利描述的显示系统包括配置为发射第一光的光源、配置为接收第一光的透镜、以及配置为接受第一光并发射第二光的图像生成器。所述显示系统同时包括多个波导,其中所述多个波导中的至少两个波导包括耦入光栅,所述耦入光栅配置为选择性地耦合所述第二光。


66. 《
Snap Patent | Graphical marker generation system for synchronization(Snap专利:用于同步的图形标记生成系统)

在一个实施例中,专利描述了用于生成交互式图形标记的系统和方法,所述交互式图形标记包括具有第一指示符的第一区域和具有第二指示符的第二区域,所述第二区域围绕所述第一区域的圆周。所述方法同时用于监测交互式图形标记的动画以检测第一指示器和第二指示器何时以预定旋转角度对准,在第二计算设备和第三计算设备启动交互式游戏应用程序。


67. 《
Snap Patent | Detecting wear status of wearable device(Snap专利:检测可穿戴设备的磨损状态)

在一个实施例中,专利描述的系统将无线电信号从可穿戴设备的第一通信设备发送到可穿戴设备中的第二通信设备,并测量与由第二通信装置接收的无线电信号相关联的信号强度。系统将信号强度与阈值进行比较,并基于信号强度与该阈值的比较生成与可穿戴设备相关联的佩戴状态的指示。


68. 《
Snap Patent | Hand gestures for animating and controlling virtual and graphical elements(Snap专利:用于设置和控制虚拟和图形元素的手势)

在一个实施例中,专利描述了用于响应于眼镜设备检测到的手势来控制显示器上的一个或多个虚拟元件的示例系统。图像处理系统检测手,并根据检测到的当前手的位置在显示器上呈现菜单图标。图像处理系统检测所捕获的视频数据帧中的一系列手形,并确定检测到的手形是否与手势库中存储的多个预定义手势中的任何一个相匹配。响应于匹配,根据匹配的手势执行动作。响应于打开手势,元素动画系统呈现沿着远离菜单图标延伸的路径递增地移动的一个或多个图形元素。闭合手势会使元素沿着朝向菜单图标的路径后退。


69. 《
Snap Patent | Partial-bootup execution of instructions in a head-worn augmented reality device(Snap专利:在头戴式增强现实设备中部分启动执行指令)

在一个实施例中,专利描述的方法包括激活头戴式设备并执行部分引导。当接收到执行功能的用户输入指令时,确定用户输入指令是否被允许用于部分引导执行。基于允许进行部分引导执行的用户输入指令来执行用户输入指令,并且基于不允许进行部分启动执行的用户输入指令来完成头工作设备的引导。所述方法同时可以包括确定用户输入指令是否需要用户认证才能被执行,并且基于部分启动兼容并且不需要用户认证的用户输入指令来执行用户输入指令。


70. 《
Snap Patent | Virtual clothing try-on(Snap专利:虚拟服装试穿)

在一个实施例中,消息系统执行虚拟服装试穿。虚拟服装试穿的方法可以包括访问穿着源服装的人的目标服装图像和人物图像,并处理该人物图像以生成源服装掩模和人物掩模;