/ Nweon / 0浏览

2024年02月10日美国专利局新申请AR/VR专利摘选



映维网Nweon
2024年02月10日

)近期美国专利及商标局公布了一批全新的AR/VR专利,以下是映维网的整理(详情请点击专利标题),一共76篇。更多专利披露请访问映维网专利板块
https://patent.nweon.com/
进行检索,你同时可以加入映维网AR/VR专利交流微信群(详见文末)。


1. 《
Meta Patent | Systems and methods of uwb configuration for application types(Meta专利:应用类型的UW配置系统和方法)

在一个实施例中,用于时隙调度的系统和方法可以包括第一无线通信设备,其生成用于调度多个功能中的一个或多个功能的时隙的信息元素(IE),用于第一无线通信装置和第二无线通信装置之间的超宽带(UWB)传输。对于一个或多个功能的每个相应功能,IE可以包括定义相应功能的时隙调度的相应调度列表元素。第一无线通信设备可以向第二无线通信设备发送IE。


2. 《
Meta Patent | Systems and methods of slot scheduling(Meta专利:时隙调度的系统和方法)

在一个实施例中,用于时隙调度的系统和方法可以包括第一无线通信设备,其生成用于调度多个功能中的一个或多个功能的时隙的信息元素(IE),用于第一无线通信装置和第二无线通信装置之间的超宽带(UWB)传输。对于一个或多个功能的每个相应功能,IE可以包括定义相应功能的时隙调度的相应调度列表元素。第一无线通信设备可以向第二无线通信设备发送IE。


3. 《
Meta Patent | Systems and methods of control of quality-of-service of data unit sets via a service layer(Meta专利:通过服务层控制数据单元集的服务质量的系统和方法)

在一个实施例中,专利描述的方法可以包括由无线通信设备识别与一个集合相对应的多个数据单元中的一个或多个。无线通信设备可以确定指示所接收的多个数据单元的各自状态的一个或多个度量。无线通信设备可以根据满足启发式的一个或多个度量,从多个集合中选择包括与集合相对应的多个接收数据单元的集合。无线通信设备可以根据满足启发式的一个或多个度量的集合并且根据与集合相对应的QoS级别,发送与一个或更多个度量相对应的多个接收数据单元中的一个或者多个的集合。


4. 《
Meta Patent | Systems and methods of transmission of data unit sets by quality-of-service level(Meta专利:按服务质量级别传输数据单元集的系统和方法)

在一个实施例中,专利描述的方法可以包括由无线通信设备接收对应于第一集合的多个数据单元中的一个或多个,所述第一集合是根据指示对应于所述第一集的服务质量(QoS)水平的启发式而配置。由所述无线通信设备确定来自所接收到的多个数据单元中的多个的第二参数,由无线通信设备选择第二集合,所述第二集合包括满足第二参数的所接收到多个数据单位的至少一个子集,并且发送由所述无线通信设备根据与所述第一集合相对应的QoS等级,根据所述第二参数来对所述第二集进行QoS控制。


5. 《
Meta Patent | Constrained color dithering(Meta专利:受约束的颜色抖动)

在一个实施例中,专利描述的计算系统可以接收要在显示器显示的目标图像。目标图像可以具有每种颜色的第一数量的比特。系统可以访问RGB颜色通道中的每个颜色通道的掩模。可以基于(1)人类视觉系统的一个或多个特性和(2)显示器的亚像素几何布局来生成所访问的掩模。系统可以基于目标图像和访问的掩模来生成输出图像。输出图像可以具有小于每种颜色的第一位数的每种颜色第二位数。系统可以在显示器显示输出图像以表示目标图像。


6. 《
Meta Patent | Reconstruction of essential visual cues in mixed reality applications(Meta专利:混合现实应用中基本视觉线索的重构)

在一个实施例中,专利描述的混合现实模拟系统包括主机和头戴式设备。MR系统使用安装在朝外立体摄像头从真实世界环境捕获立体图像。MR系统对立体图像进行预处理以最大化对比度,然后从图像中提取一组特征,包括边缘或拐角等。对于每个特征,MR系统生成一个或多个2D多段线。然后,MR系统在右侧图像中找到的二维多段线和左侧图像中找到对应的二维多条线之间进行三角测量,以生成一组三维多段线。MR系统在包括在3D多段线中的3D顶点之间进行插值或外推额外的3D顶点,从而生成真实世界环境的几何重建。MR系统可以比几何重建更新更快地将从真实世界环境导出的纹理映射到几何表示上


7. 《
Meta Patent | Dynamically morphing virtual assistant avatars for assistant systems(Meta专利:用于辅助系统的动态变形虚拟助理化身)

在一个实施例中,专利描述的方法包括为扩展现实显示设备的显示器在XR显示设备的第一用户的视场中的环境内呈现XR助理化身的第一输出图像,其中所述XR辅助化身具有相对于第一用户的第一形式和第一姿势,并且可由第一用户交互以访问辅助系统,检测所述第一用户的情景相对于所述环境的变化,基于检测到的第一用户的情景变化来确定是否变形所述XR助理化身,并且呈现所述XR辅助化身的第二输出图像,其中所述XR助理化身变形为具有相对于所述第一用户的第二形式和第二姿势。


8. 《
Meta Patent | Low birefringence fluid lens(Meta专利:低双折射流体透镜)

在一个实施例中,专利描述的设备可以包括第一刚性透镜;第二刚性透镜,将第一刚性透镜和第二刚性镜片耦合在一起的密封件,其中第一刚性透镜、第二刚性镜头和密封件限定空腔;以及空腔内的流体,其中所述密封件适于允许所述空腔内的所述流体膨胀。


9. 《
Meta Patent | Source-camera assembly with light path for a reference pixel(Meta专利:具有参考像素光路的源摄像头组件)

在一个实施例中,专利描述的组件可以包括投影仪、摄像头组件、参考波导管和二次成型。投影仪可以包括配置为发射光的源阵列和被配置为将光引导到局部区域的透镜组件。摄像头组件可以包括传感器和参考像素。传感器可以配置为检测从局部区域内的物体反射的发射光。参考波导配置为将投影仪发射的光的一部分从源阵列引导到参考像素。由传感器检测的光和由参考像素检测的光可以用于确定对象的深度信息。


10. 《
Microsoft Patent | Multi-laser eye tracking system(微软专利:多激光眼动追踪系统)

在一个实施例中,专利描述了能够使用多个激光器追踪用户眼睛的技术。在各个时间段期间,来自激光器的光在包括用户眼睛的区域的各个部分重叠部分扫描。从眼睛反射的光的一部分由相应的光电检测器检测。在一个示例实现中,至少部分地基于用于在所述区域扫描光的反射镜的当前角度,在帧缓冲器的像素中提供与检测到的部分相对应的信号。


11. 《
Microsoft Patent | Mixed-reality device positioning based on shared location(微软专利:基于共享位置的混合现实设备定位)

在一个实施例中,专利描述了用于在混合现实环境中定位混合现实设备的技术和系统。配置为执行内向外追踪的设备在混合现实环境中的位置跟踪状态之间转换,并且当设备在环境中迷失方向时利用来自共享混合现实环境的其他内向外追踪设备的位置信息来识别/更新设备的定位。


12. 《
Apple Patent | Scheduling request (sr) enhancements for 5g real-time extended reality (xr) services(苹果专利:5D实时XR服务的调度请求增强)

在一个实施例中,专利描述的用户设备(UE)包括收发器和处理器,所述收发器和处理器配置为识别与要在上行链路(UL)方向上发送的数据相对应的多个流。处理器同时配置为将多个流的子集映射到多个LCH的逻辑信道(LCH)。处理器进一步配置为将两个或多个调度请求(SR)复用到集成SR中,用于请求与多个LCH中的至少一个LCH的多个流的子集的每个流相对应的一个或更多个物理上行链路控制信道(PUCCH)资源。包括在集成SR中的每个SR对应于与多个流的子集的至少一个流相关联的数据的SR。


13. 《
Apple Patent | Assisted speech(苹果专利:辅助语音)

在一个实施例中,专利描述的设备包括显示器、音频传感器、非瞬态存储器以及与非瞬态存储器耦合的一个或多个处理器。虚构人物的计算机生成现实(
CG
R)表示在显示器的CGR环境中显示。经由音频传感器从第一个人接收语音输入。基于与虚构人物相关联的一个或多个语言特征值来修改语音输入,以便生成CGR语音。通过虚构人物的CGR表示在CGR环境中输出CGR语音。


14. 《
Apple Patent | Low bandwidth transmission of event data(苹果专利:事件数据的低带宽传输)

在一个实施例中,专利描述的方法包括由设备获得与人的场景相对应的一组图像;基于该组图像生成人的姿势信息;姿势信息指示人的身体部分的相应位置;根据带宽利用标准来发送姿势信息。


15. 《
Apple Patent | Systems and methods for launching and replacing applications(苹果专利:启动和替换应用程序的系统和方法)

在一个实施例中,可以使用不同类型的选择输入来选择在三维环境中显示的表示。当选择在三维环境中显示的表示时,可以根据接收到的选择类型在三维环境下启动与该表示相对应的应用。在这样的实施例中,当利用第一类型的选择来选择表示时,可以以第一方式启动与所选择的表示相对应的应用,并且当利用第二类型的选择选择表示时可以以第二方式启动与选择的表示相应的应用。在一个实施例中,启动应用程序的方式可以确定在三维环境中是继续显示还是停止显示一个或多个先前启动的应用程序。


16. 《
Apple Patent | Systems, methods, and graphical user interfaces for annotating, measuring, and modeling environments(苹果专利:用于注释、测量和建模环境的系统、方法和图形用户界面)

在一个实施例中,专利描述的系统显示包括物理环境的第一部分的摄像头视场的表示,捕获指示第一部分的第一子集的深度信息。响应于检测到视场的移动,系统:更新视场的表示以包括物理环境的第二部分的表示;捕获指示所述第二部分的第二子集的深度信息;以及更新所述指示以指示已经捕获深度信息的所述第二部分的范围,包括将所述指示显示为覆盖在与所述第二子集相对应的所述视场的所述表示的一部分上。


17. 《
Apple Patent | Peripheral luminance or color remapping for power saving(苹果专利:外设亮度或颜色重新映射以节省电力)

在一个实施例中,专利描述的电子设备包括显示器和
眼动追踪
器。显示器包括一个或多个注视区域。在实施例中,眼动追踪器配置为收集关于用户的一只或多只眼睛在显示器上的注视的眼动追踪数据。电子设备同时包括可操作地耦合到显示器的处理电路。在实施例中,处理电路配置为从眼动追踪器接收与注视相关联的运动的指示。处理电路同时配置为确定在前一帧期间与注视相关联的前一位置和在目标帧期间与注视相关联的目标位置。


18. 《
Apple Patent | Directing a virtual agent based on eye behavior of a user(苹果专利:根据用户的眼睛行为指导虚拟代理)

根据各种实现方式,在包括一个或多个处理器、非瞬态存储器和显示器的电子设备处执行一种方法。该方法包括在显示器上显示与第一视锥体相关联的虚拟代理。第一观看截头体包括与用户相关联的用户化身,并且用户化身包括一只或多只眼睛的视觉表示。该方法包括,在显示与第一视锥体相关联的虚拟代理的同时,获得指示与用户的眼睛相关联的眼睛行为的眼睛跟踪数据,基于眼睛行为更新一只或多只眼睛的视觉表示,以及指导虚拟代理基于更新和与电子设备相关联的场景信息来执行动作。


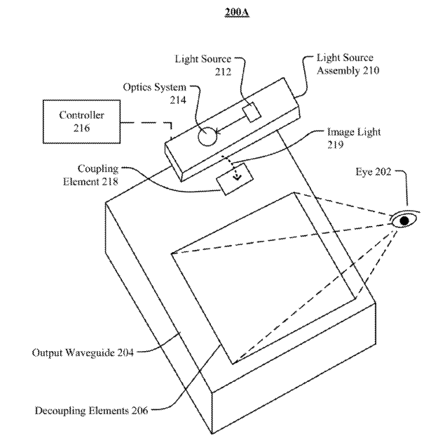
19. 《
Apple Patent | Presenting content based on activity(苹果专利:基于活动呈现内容)

在一个实施例中,专利描述的方法包括经由传感器获得环境数据;基于环境数据来识别设备的用户的身体活动;获得与设备或设备的用户相关联的情景数据;基于用户的身体活动和与设备或设备的用户相关联的情景数据来呈现内容。


20. 《
Apple Patent | Display with off-state transparency(苹果专利:具有关闭状态透明度的显示器)

在一个实施例中,电子设备可以包括当显示器关闭时具有高透明度的投影显示器。高关闭状态透明度可以使显示器在关闭状态下看起来不可见。投影显示器可以包括可调节的漫射器、将图像投影到可调节的散射器上的空间光调制器、将图像从空间光调制器反射到可调节漫射器的反射镜、以及向空间光调制器提供光的光源。投影显示器同时可以包括基于检测到的环境光水平来控制的可调节的不透明度层。投影显示器可以进一步包括可调节的反射率层。可调节漫射器和/或光源可以像素化以增加投影显示器中的对比度。


21. 《
Apple Patent | Optical systems with modulated surface relief gratings(苹果专利:具有调制表面起伏光栅的光学系统)

在一个实施例中,专利描述的显示器可以包括波导和波导上的表面起伏光栅(SRG)结构。SRG结构可以执行在波导中传播的扩展图像光。SRG结构同时可以将扩展的图像光耦合出波导并朝向视窗。SRG结构可以包括在相反方向上扩展图像光的至少第一和第二SRG。第一SRG可以将由第二SRG扩展的图像光耦合到波导之外。


22. 《
Apple Patent | Grating coupler with high efficiency(苹果专利:高效光栅耦合器)

在一个实施例中,专利描述的光耦合器件包括第一波导层,第一波导层包括设置在电介质衬底层上的第一半导体材料。电介质中间层覆盖在第一波导层上。包括不同的第二半导体材料的第二波导层被设置在介电中间层之上,并且被图案化以限定波导。第二波导层中的第一光栅以给定的耦合角将来自波导的给定波长的光衍射到指定的衍射级,由此第一部分光传播出器件,而第二部分光以共轭衍射级衍射到中间电介质层中。第一波导层中的第二光栅将光的第二部分衍射成第二衍射级,以给定的耦合角传播出器件。


23. 《
Apple Patent | Lens assembly including wave plate(苹果专利:包括波片的透镜组件)

在一个实施例中,专利描述的电子设备可以包括配置为产生光的显示面板和接收来自显示面板的光的透镜组件。透镜组件可以包括第一透镜和第二透镜。第二透镜可以是可移除透镜,并配置为选择性地附接到透镜组件。透镜组件同时可以包括插入在第一透镜和显示面板之间的部分反射镜、当第二透镜附接到透镜组件时插入在第一透镜和第二透镜之间的反射型偏振器、以及当第二透镜元件附接到透镜组件时插入在反射型偏转器和第二透镜之间的四分之一波片。


24. 《
Apple Patent | Electronic devices with low-reflectance coatings(苹果专利:具有低反射率涂层的电子设备)

在一个实施例中,专利描述的电子设备可以包括发射和检测红外光的部件。例如,头戴式设备可以具有向用户的左眼和右眼呈现图像的光学模块。每个光学模块可以具有红外发光二极管和红外摄像头。低反射率涂层可以被施加到一个或多个电子设备外壳壁上,以防止对红外部件或对用户的可视性的干扰。特别地,低反射率涂层可以是在可见光和红外波长上都表现出低反射率的低可见光反射率和低红外反射率涂层。低反射率涂层可以由碳纳米管和至少一种具有零极性的有机溶剂形成,以确保涂层中的低挥发性有机组分。


25. 《
Apple Patent | Head-mounted device with tension adjustment(苹果专利:带张力调节的头戴式装置)

在一个实施例中,专利描述的头戴式设备包括设备外壳、连接到设备外壳以相对于用户支撑设备外壳的支撑结构、连接到设备外壳以显示内容的显示设备、与显示设备相关联的光学系统、以及产生传感器输出信号的传感器。头戴式设备同时包括张力控制器和张力调节器,张力控制器基于传感器输出信号确定张紧命令,张力调节器根据张紧命令向用户施加张力,以限制设备外壳相对于用户的运动。


26. 《
Apple Patent | Electronic devices with fabric bands(苹果专利:带织物带的电子设备)

在一个实施例中,专利描述的头戴式装置可以包括主壳体部分和用于将头戴式设备支撑在用户头部的织物头带。织物头带可以包括没有肋的第一和第二平针织端部以及在第一和第二平针织端部分之间延伸的罗纹织物。罗纹织物部分可以包括由网状织物形成的可拉伸内部织物层。第一罗纹可以形成在内织物层的第一侧上,第二罗纹可以在内织物层相对的第二侧上。


27. 《
Apple Patent | Optical module for head-mounted device(苹果专利:头戴式设备的光学模块)

在一个实施例中,用于头戴式设备的光学模块配置为向用户呈现内容。光学模块包括光学模块外壳组件、显示器组件和眼睛照相机。光学模块外壳组件具有第一端和第二端。透镜连接到光学模块外壳组件并定位在光学模块外壳组合件的第一端。显示器组件连接到光学模块外壳组件,并且定位在光学模块外壳组合件的第二端。显示组件配置为使得内容通过镜头显示给用户。眼动摄像头连接到光学模块外壳组件,并且定位在光学模块外壳组合件的第二端。眼动摄像头配置为通过透镜获得图像。


28. 《
Apple Patent | Electronic device display having a selective light redirecting layer(苹果专利:具有选择性光重定向层的电子设备显示器)

在一个实施例中,专利描述的显示器可以包括发射光的显示面板。来自显示面板的光可以由透镜组件朝向用户聚焦。光重定向层可以包括在显示器中的显示面板和透镜组件之间,以确保透镜组件以最佳角度接收入射光。光重定向层可以在光重定向层的不同部分以不同的量重定向光。重定向角度的大小可以随着与光重定向层的中心的分离度的增加而增加。光重定向层可以将光重定向离开光重定向层的中心。光重定向层可以是使用液晶膜形成的几何相位透镜。显示器同时可以包括圆偏振器、附加的圆偏振剂和附加的四分之一波片。


29. 《
Sony Patent | Multi-user cross-device synchronization of metaverse instantiation(索尼专利:元宇宙实例化的多用户跨设备同步)

在一个实施例中,专利描述的方法包括接收为用户建立多玩家会话以允许参与元宇宙的请求;确定生成元宇宙的应用程序是否安装在用户选择用于参与元宇宙的用户的本地设备上;当应用程序安装在相应的本地设备上时启动该应用程序的相应的本地实例;当应用程序未安装在相应的本地设备上时,在基于云的流式服务器上启动该应用程序的相应的云实例;确定用户的应用程序的每个实例已经启动,其中用户的每个实例是本地实例或云实例;当用于用户的应用程序的实例已经启动时启用多玩家会话的启动。


30. 《
Sony Patent | Fidelity of motion sensor signal by filtering voice and haptic components(索尼专利:通过过滤语音和触觉组件实现运动传感器信号的保真度)

在一个实施例中,为了提高运动传感器的保真度,在将最终运动信号输出到需要设备运动知识的应用程序之前,取消来自运动传感器的信号中的语音感应分量以及来自运动传感器的信号中触觉感应分量。


31. 《
Sony Patent | Improving accuracy of interactions for gaze-enabled ar objects when in motion(索尼专利:提高运动中支持注视的AR对象的交互精度)

在一个实施例中,专利描述的方法包括通过追踪用户的注视来检测使用一副AR眼镜观看真实世界环境的用户的注视目标。追踪影响用户注视的位置参数,并且选择性地校正注视目标的一个或多个属性以允许用户保持他们对注视目标的注视。与注视目标相关联的AR触发元件响应于用户的注视而触发。AR触发元件提供与用户选择的注视目标相关的附加信息。


32. 《
Sony Patent | Gesture training for skill adaptation and accessibility(索尼专利:技能适应和无障碍手势训练)

在一个实施例中,专利描述了一种教玩家手势的系统,并要求玩家调用手势。游戏不是要求玩家一遍又一遍地重复,直到玩家成功,而是在玩家的尝试中寻找共性,在少量尝试后,游戏可以了解玩家如何根据自己的能力解释手势。然后,游戏可以调整自己以寻找触发动作的模式。


33. 《
Sony Patent | Tunable filtering of voice-related components from motion sensor(索尼专利:运动传感器对语音相关组件的可调谐滤波)

在一个实施例中,为了通过降低恶意开发者通过将头显运动传感器的信号转换为语音或扬声器识别来窃听不知情头显用户的能力来保护用户的隐私,麦克风可以记录环境声音和语音,所述声音和语音在传感器数据可用于游戏开发者之前从运动传感器数据中减去。另外,ANC(有源噪声消除)技术可以适用于从运动传感器的数据中消除噪声。在另一种技术中,带通滤波器减去语音范围内的传感器信号中的频率。另外有第三种技术在传递给游戏开发者之前混淆用户的语音,将统计噪声混合到运动传感器信号中。


34. 《
Sony Patent | Terminal device, information processing device, object identifying method, program, and object identifying system(索尼专利:终端设备、信息处理设备、对象识别方法、程序和对象识别系统)

在一个实施例中,专利描述的设备可以包括配置为获取图像的图像获取单元,以及配置为将与图像相关联的信息发送到诸如服务器之类的信息处理设备的发送单元。服务器可以与第一特征量字典相关联。所述设备同时可以包括接收单元,接收单元配置为响应于传输从服务器接收第二特征量字典。第二特征量字典可以包括比第一特征量字典更少的信息,并且服务器可以基于图像信息和第一特征量词典来生成第二特征数量字典。设备可以包括识别单元,识别单元配置为使用第二特征量字典来识别图像内的对象。


35. 《
Sony Patent | Noise, active noise cancelation, and filtering to improve privacy for hmd motion sensors(索尼专利:噪声、主动噪声消除和滤波可改善头显运动传感器的隐私)

在一个实施例中,为了通过降低恶意开发者通过将头显运动传感器的信号转换为语音或扬声器识别来窃听不知情头显用户的能力来保护用户的隐私,麦克风可以记录环境声音和语音,所述声音和语音在传感器数据可用于游戏开发者之前从运动传感器数据中减去。另外,ANC(有源噪声消除)技术可以适用于从运动传感器的数据中消除噪声。在另一种技术中,带通滤波器减去语音范围内的传感器信号中的频率。另外有第三种技术在传递给游戏开发者之前混淆用户的语音,将统计噪声混合到运动传感器信号中。


36. 《
Sony Patent | Information processing system, information processing method, and computer program(索尼专利:信息处理系统、信息处理方法和计算机程序)

在一个实施例中,专利描述了用于获取通过对真实空间中发生的事件进行成像而获得的第一图像的方法和/或装置;通过将所述第一图像合并为表示虚拟空间的第二图像来生成显示图像,所述虚拟空间通过以下方式建立替代版本:再现作为所述事件的焦点的真实元素,省略真实外围元素,以及呈现替代虚拟元素。使得当向用户呈现所述显示图像时,所述第一影像具有不明显的边界。


37. 《
Samsung Patent | Apparatus and method for authenticating user in augmented reality(三星专利:增强现实中验证用户的设备和方法)

在一个实施例中,专利描述的电子设备使用传感器获得关于用户所处的物理空间的当前空间信息、基于当前空间信息中不可用的多个认证对象中的至少一个认证对象生成比不可用的认证对象的数量更多的虚拟对象,将所生成的虚拟对象输出到包括不可用认证对象的物理位置的多个位置,并且基于选择所生成的虚拟对象和可用认证对象作为注册序列的用户输入来确定认证成功。


38. 《
Samsung Patent | Method and wireless network for managing power saving for extended reality (xr) service(三星专利:用于管理扩展现实服务的节能的方法和无线网络)

在一个实施例中,专利描述了用于支持更高数据传输速率的5G或6G通信系统。所述方法包括接收包括标识符字段的无线电承载配置。另外,所述方法包括确定所接收的无线电承载配置是否包括“isXR bearer”字段作为标识符字段。


39. 《
Samsung Patent | Device and method for managing congestion and burst state in wireless communication system(三星专利:用于管理无线通信系统中的拥塞和突发状态的设备和方法)

在一个实施例中,专利描述的方法包括基于上行链路数据的资源不足或与上行链路数据的增加相关的突发状态来识别拥塞状态的开始,基于拥塞状态或突发状态的开始的识别来识别是否针对协议数据单元(PDU)执行丢弃操作解除数据或包括至少一个PDU的PDU集合的链接,基于所述标识,根据基于所述PDU或所述PDU集合的重要性而配置的优先级来执行关于所述PDU或者所述PDU集的所述丢弃操作,并且基于所述拥塞状态或所述突发状态的结束来停止所述丢弃运算的执行。


40. 《
Samsung Patent | Electronic device for supporting various communications during video call, and operating method therefor(三星专利:支持视频通话中各种通信的电子设备及其操作方法)

在一个实施例中,专利描述的电子设备可以包括:用于显示屏幕并接收用户输入的显示模块;存储计算机可执行指令的存储器;以及用于访问存储器并执行指令的处理器。处理器/指令可以配置为:如果在视频呼叫期间通过显示模块接收到对多媒体对象的用户输入,则以显示在屏幕的对方屏幕为中心,覆盖包括多个虚拟平面的多边形3D网格;以及向对方终端发送关于所选择的平面的位置信息和关于多媒体对象的至少一些数据,所述位置信息响应于所述多个平面中的多媒体对象将位于其中的平面的用户输入。


41. 《
Samsung Patent | Display device and method for fabricating the same(三星专利:显示设备及其制造方法)

在一个实施例中,专利描述的显示装置包括基板、基板上的像素电极、像素电极上的发光元件和发光元件上的公共电极层。发光元件配置为根据具有第一电流密度的驱动电流发射第一光,配置为根据具有第二电流密度的驱动电流发射第二光,并且配置为按照具有第三电流密度的驱动脉流发射第三光。


42. 《
Samsung Patent | Wearable electronic device displaying virtual object and method for controlling the same(三星专利:显示虚拟对象的可穿戴电子设备及其控制方法)

在一个实施例中,专利描述的可穿戴电子设备包括显示器、摄像头、和与显示器和摄像头可操作地连接的至少一个处理器,其中所述至少一个控制器配置为基于通过摄像头获得的图像来分析真实空间,基于所分析的实际空间的结果来获得虚拟对象可显示的多个区域,基于接收到用于显示所述虚拟对象的第一用户输入,识别所述多个区域中的第一区域的形状,识别与所述第一区域的所述形状相对应的虚拟对象的所述第一形状,识别至少一个与对应于所述第一区域的形状的虚拟对象相关的功能,并且显示包括与所述至少一个功能相对应的至少一个图标的所述第一形状的虚拟对象。


43. 《
Samsung Patent | Real-time photorealistic view rendering on augmented reality (ar) device(三星专利:增强现实设备的实时真实感视图渲染)

在一个实施例中,专利描述的一法包括获得场景的图像和捕捉图像的设备的相应位置数据;确定与穿过图像的关键帧的camera射线相关联的位置数据和方向数据;使用位置相关的多层感知器(MLP)和方向相关的MLP来创建稀疏特征向量;将稀疏特征向量存储在至少一个数据结构中;接收在与观看方向相关联的AR设备渲染场景的请求;使用至少一个数据结构中的稀疏特征向量来渲染与观看方向相关联的场景。


44. 《
Samsung Patent | Wearable electronic device displaying virtual object and method for controlling the same(三星专利:显示虚拟对象的可穿戴电子设备及其控制方法)

在一个实施例中,专利描述的可穿戴电子设备包括显示器、摄像头、和与显示器和摄像头可操作地连接的至少一个处理器,其中所述至少一个控制器配置为基于通过摄像头获得的图像来分析真实空间,基于所分析的实际空间的结果来获得虚拟对象可显示的多个区域,基于接收到用于显示所述虚拟对象的第一用户输入,识别所述多个区域中的第一区域的形状,识别与所述第一区域的所述形状相对应的虚拟对象的所述第一形状,识别至少一个与对应于所述第一区域的形状的虚拟对象相关的功能,并且显示包括与所述至少一个功能相对应的至少一个图标的所述第一形状的虚拟对象。


45. 《
Samsung Patent | Video see-through augmented reality(三星专利:视频透视AR)

在一个实施例中,专利描述的方法包括访问由视频透视增强现实系统的一对立体摄像头中的摄像头捕获的图像;基于视频透视AR系统的一个或多个组件的一个或者多个模型中的每一个来确定对图像的修改,并且基于对图像的该修改来生成用于捕捉所访问的图像的摄像头的变换图。变换图识别用于基于由摄像头捕获的一个或多个后续图像来渲染场景的与帧无关的变换。


46. 《
Samsung Patent | Video see-through augmented reality(三星专利:视频透视AR)

在一个实施例中,专利描述的方法包括访问由视频透视增强现实系统的一对立体摄像头中的摄像头捕获的图像;基于视频透视AR系统的一个或多个组件的一个或者多个模型中的每一个来确定对图像的修改,并且基于对图像的该修改来生成用于捕捉所访问的图像的摄像头的变换图。变换图识别用于基于由摄像头捕获的一个或多个后续图像来渲染场景的与帧无关的变换。


47. 《
Samsung Patent | Video see-through augmented reality(三星专利:视频透视AR)

在一个实施例中,专利描述的方法包括通过校准摄像头捕获显示在视频透视AR系统的显示器的校准图案;基于所捕获的校准模式来确定视频透视AR系统的一个或多个系统参数;基于所述一个或多个系统参数和表示由所述透视摄像头引起的失真的一个或更多个摄像头参数;确定表示由所所述显示透镜引起的畸变的一个或者更多个显示透镜参数;以及存储该一个或多个系统参数和该一个以上显示透镜参数作为该系统的校准。


48. 《
Samsung Patent | Method of controlling display module, and electronic device performing the method(三星专利:控制显示模块的方法以及执行所述方法的电子设备)

在一个实施例中,专利描述的电子设备可以包括显示模块、处理器、以及电连接到处理器并存储可由处理器执行的指令的存储器。当指令执行时,处理器可以对真实空间中的对象进行分类,并确定在真实空间中是否存在指定的对象。指定的对象可以是预设对象。在真实空间中存在指定对象的情况下,处理器可以基于指定对象根据用于至少一个虚拟对象的位置的第一布局来确定布置信息。在真实空间中不存在指定对象的情况下,处理器可以根据用于至少一个虚拟对象的位置的第二布局来确定布置信息。


49. 《
Samsung Patent | Attribute transfer in v-pcc(三星专利:v-pcc中的属性转移)

在一个实施例中,用于点云解码的方法包括接收比特流;将比特流解码为包括像素的多个帧。多个帧的某些像素对应于三维(3D)点云的点。多个帧包括表示3D点云的点的位置的第一组帧和表示3D点云中的点的属性信息的第二组帧;基于第一组帧重建3D点云;至少部分地基于与多个帧相关联的特性来识别重构的3D点云的点的第一部分;修改属性信息的一部分。


50. 《
Samsung Patent | Image processing method and apparatus(三星专利:图像处理方法和装置)

在一个实施例中,专利描述的图像处理方法包括获取图像帧;基于从图像帧的至少一个先前帧获得的第一先前信息来追踪用户的面部区域;基于基于所述第一先前信息对所述面部区域的追踪失败的确定,基于从所述至少一个先前帧获得的第二先前信息在所述图像帧中设置扫描区域;以及基于扫描区域检测图像帧中的面部区域。


51. 《
Samsung Patent | Display device(三星专利:显示设备)

在一个实施例中,专利描述的显示设备包括显示面板,显示面板包括具有第一像素的第一显示区域和具有第二像素的第二显示区域。显示设备包括位于显示面板下方的下部构件、延伸到显示面板的支撑构件、以及设置在下部构件和支撑构件之间的第一滑动模块,第一滑动模块使得下部构件和支持构件能够在一个方向上相对于彼此移动。由于第一滑动模块的移动,第二显示区域在所述方向上突出超过下部构件。第一显示区域的每单位面积的第一像素的数量大于第二显示区域的单位面积的第二像素的数量。


52. 《
Samsung Patent | Wearable device, method, and non-transitory computer readable storage medium for displaying visual object indicating weather condition(三星专利:用于显示指示天气状况的视觉对象的可佩戴设备、方法和非瞬态计算机可读存储介质)

在一个实施例中,专利描述的可穿戴设备包括一个摄像头和一个处理器。处理器可以配置为基于图像中的区域与参考方向不同的方向,在图像中的至少一部分区域中显示包括至少一部分信息的窗口小部件或第一视觉对象。处理器可以配置为基于图像中的区域所面对的与参考方向相对应的方向,在图像中的该区域中显示表示具有天气条件的虚拟户外环境的第二视觉对象。


53. 《
Qualcomm Patent | Audio and haptic signal processing(高通专利:音频和触觉信号处理)

在一个实施例中,专利描述的方法包括接收用于驱动音频扬声器的输入音频信号;从音频信号导出指示音频扬声器在被输入音频信号驱动时的行为的数据分量;从每个数据分量确定触觉驱动分量;选择增益以提供给触觉驱动部件中的每一个,针对每一个相应的频率范围选择增益;每个选择的增益被施加到相应的触觉驱动部件,以产生增益调节的触觉驱动组件。根据增益调节的触觉驱动部件来确定触觉驱动信号。


54. 《
Qualcomm Patent | Electronic device for tracking objects(高通专利:用于追踪对象的电子设备)

在一个实施例中,专利描述了使用从可穿戴设备接收的数据来追踪操作的系统。示例方法可以包括确定可穿戴设备在物理空间中的第一位置;从可穿戴设备接收与可穿戴设备相关联的位置信息;基于所接收的位置信息来确定所述可穿戴设备的第二位置;以及基于第一位置和第二位置跟踪可穿戴设备相对于电子设备的移动。


55. 《
Qualcomm Patent | Foveated scaling for rendering and bandwidth workloads(高通专利:为渲染和带宽工作负载提供注视扩展)

在一个实施例中,专利描述的装置可以获得与与图形处理相关联的场景相对应的一组图像中的至少一个图像。装置同时可以对至少一个图像执行非线性注视点压缩处理,其中非线性凹压缩过程对应于对至少一幅图像的一部分的连续非线性压缩。装置同时可以在非线性凹入压缩处理之后发送至少一个图像,使得发送的至少一个图象对应于至少一个压缩的图象。


56. 《
Qualcomm Patent | Synchronous channel access control of a wireless system(高通专利:无线系统的同步信道访问控制)

在一个实施例中,专利描述的设备可以在一个或多个TWT服务时段期间使用TWT会话来与第二设备通信。上行链路和下行链路通信可以被协调为都处于TWT服务时段中,以允许设备在TWT服务周期之外进入低功率模式。包括服务周期的TWT会话可以由设备或第二设备配置和管理,以确保与设备之间的XR体验相关联的通信满足XR体验的延迟要求或其他要求。TWT服务时段的使用允许其他设备在TWT服务周期之外使用无线介质。


57. 《
Qualcomm Patent | Dynamic pdcch skipping for extended reality(高通专利:面向扩展现实的动态PDCCH skipping )

在一个实施例中,专利描述的装置接收PDCCH skipping配置。装置接收用于基于PDCCH skipping配置来执行PDCCH skipping过程的指示。装置基于PDCCH skipping配置确定在PDCCH skipping过程期间监视DCI。装置可以发送UE能力报告,UE能力报告指示UE支持对在PDCCH skipping时段期间调度重传的DCI进行监视的动态行为。装置可以监视基于非调度DCI的PDCCH监视自适应指示。装置可以执行对在PDCCH skipping时段期间调度重传的DCI进行监视的动态行为。


58. 《
Qualcomm Patent | Virtual channel configuration session of a camera sensor(高通专利:摄像头传感器的虚拟通道配置会话)

在一个实施例中,摄像头传感器组件在多虚拟通道(VC)配置会话期间接收与第一binning模式相关联的第一VC的第一配置和第二VC的第二配置,所述第二配置与第二binning模式相关联。摄像头传感器组件检测触发以启动与第一VC和第二VC相关联的活动帧的流传输。响应于触发,摄像头传感器组件根据第一binning模式流传输与第一VC相关的第一活动帧,并且根据第二binning模式流式传输与第二VC相关联的第二活动帧。


59. 《
Qualcomm Patent | Extended reality systems including ultrasound-based haptic systems(高通专利:包括基于超声波的触觉系统的扩展现实系统)

在一个实施例中,专利描述的控制系统可以控制基于超声的触觉系统以经由发送的超声波来创建触觉效果。基于超声的触觉系统可以包括安装在结构中或结构上的一个或多个超声换能器阵列,例如压电微机械超声换能器(PMUT)。触觉效果可以经由空气耦合的超声波来创建。


60. 《
Snap Patent | Deforming real-world object using an external mesh(Snap专利:使用外部网格变形真实世界的对象)

在一个实施例中,专利描述的操作包括:接收包括真实世界对象的描绘的视频;生成与所述真实世界对象相关联的3D身体网格;确定视频中描绘的真实世界对象的UV位置以获得与UV位置相关联的像素值;基于与所述UV位置相关联的像素值生成表示所述真实世界对象的外部网格和相关联的AR元素;基于对所述3D身体网格的改变和变形参数来使所述外部网格变形;以及基于变形的外部网格修改视频以用AR元素替换真实世界对象。


61. 《
Snap Patent | Speech-based selection of augmented reality content(Snap专利:基于语音的增强现实内容选择)

在一个实施例中,专利描述的系统提供由设备接收语音输入以选择用于显示的增强现实内容;确定包括在所述语音输入中的至少一个关键词;从多个增强现实内容项目中识别与所述至少一个关键词相对应的增强现实内容项;以及将增强现实内容项与由设备的相机捕获的图像一起显示。


62. 《
Snap Patent | Effects for 3d data in a messaging system(Snap专利:消息系统中3D数据的效果)

在一个实施例中,客户端设备接收对多个可选图形项目中的可选图形项目的选择,可选图形项目包括包括3D效果的增强现实内容生成器。将至少部分基于增强现实内容生成器的3D效果应用于图像数据和深度数据,应用3D效果。至少使用深度数据生成深度图,至少基于图像数据生成分割掩模,并且至少使用分割掩模执行图像数据的背景修复和模糊,以生成背景修复图像数据。主至少部分地基于所应用的3D效果来生成3D消息。


63. 《
Snap Patent | Augmented reality with eyewear triggered iot(Snap专利:眼镜触发物联网增强现实)

在一个实施例中,专利描述的便携式眼镜设备包括处理器、存储器和投影到至少一个透镜组件上的显示器。存储器中存储有程序,当由处理器执行时,所述程序捕获描绘设备周围环境的信息,并识别该信息中的对象与先前获得的相同环境的信息中的预定对象之间的匹配。当眼镜装置的位置达到相对于匹配对象的预选位置时,提供物理输出以产生身临其境的体验。物理输出随着眼镜设备的位置移动而变化,以保持身临其境的体验。


64. 《
Snap Patent | Voice input for ar wearable devices(Snap专利|:AR可穿戴设备的语音输入)

在一个实施例中,AR可穿戴设备将音频数据的处理划分为训练为识别关键词的关键词模块和处理关键词之后的音频数据的模块。AR可穿戴设备将关键字之后的音频数据发送给主机设备进行处理。AR可穿戴设备维护将动作与应用程序相关联的应用程序注册表。可以下载应用程序,并更新应用程序注册表,其中应用程序指示要与应用程序关联的动作。


65. 《
Snap Patent | Waveguide for augmented reality or virtual reality display(Snap专利:用于增强现实或虚拟现实显示器的波导)

在一个实施例中,在增强现实或虚拟现实显示器中使用的波导包括光子晶体中或光子晶体上的多个光学结构。多个光学结构排列成阵列,以在波导中提供彼此重叠的两个衍射光学元件。两个衍射光学元件中的每一个都被配置为接收来自输入方向的光,并将其耦合到另一衍射光学元件,衍射光学元件然后可以充当输出衍射光学元件从而向用户提供耦出命令。


66. 《
Magic Leap Patent | Efficient Rendering Of Virtual Soundfields(Magic Leap专利:虚拟声景的有效渲染)

在一个实施例中,专利描述了一种在空间呈现音频信号的音频系统和方法。音频系统可以包括固定数量的虚拟扬声器,修改后的虚拟扬声器平移可以动态地选择和使用固定虚拟扬声器的子集P。可以使用低能扬声器检测与剔除方法,基于源几何的剔除方法,或两者来选择虚拟扬声器的子集P。可以分别根据相关联的音频信号的能量水平,或声源相对于用户的位置来绕过解码器中的一个或多个处理模块。


67. 《
Magic Leap Patent | Systems and methods for virtual and augmented reality(Magic Leap专利:虚拟现实和增强现实的系统和方法)

在一个实施例中,专利描述的头戴式设备包括:透明屏幕;传感器系统;以及处理单元。所述处理单元配置为:使所述屏幕显示用户可控对象,并使所述屏显示由所述用户可控对象和所述物理对象之间的虚拟交互产生的特征的图像,使得特征将看起来是环境中的物理对象的一部分或者看起来是从物理对象发出。


68. 《
Magic Leap Patent | Concurrent camera calibration and bundle adjustment(Magic Leap专利:同时进行摄像头校准和光束调整)

在一个实施例中,专利描述的方法包括维护环境的三维模型和多个图像数据簇,每个图像数据簇包括从包括在设备中的两个或多个摄像头捕获的图像生成的数据;对于由图像数据簇表示的三维点,联合确定(i)用于更新三维模型或设备的轨迹的三维点的新估计坐标,以及(ii)表示两个或多个摄像头之间的空间关系的新估计校准数据。


69. 《
Magic Leap Patent | Virtual, augmented, and mixed reality systems and methods(Magic Leap专利:虚拟现实、增强现实和混合现实系统和方法)

在一个实施例中,专利描述的系统包括配置为显示虚拟现实、增强现实、或混合现实图像数据的显示器。显示器包括一个或多个光学部件,光学部件将光学失真或像差引入图像数据。系统同时包括配置为向显示器提供图像数据的显示控制器。显示控制器包括用于存储光学失真校正信息的存储器,以及一个或多个处理元件。处理元件用于使用光学失真校正信息针对光学失真或像差至少部分地校正图像数据。


70. 《
Magic Leap Patent | Compensation for deformation in head mounted display systems(Magic Leap专利:头戴式显示系统变形补偿)

在一个实施例中,专利描述的方法用于校准头戴式显示器。在一个实施例中,专利描述的方法包括接收与头戴式显示设备的第一目镜的未变形状态相关联的第一目标图像数据;接收与头戴式显示设备的第一目镜的变形状态相关联的第一捕获图像数据;确定将所述第一捕获图像映射到所述图像的第一变换;以及将第一变换应用于后续图像。


71. 《
Magic Leap Patent | Imprint lithography using multi-layer coating architecture(Magic Leap专利:使用多层涂层结构的压印光刻)

在一个实施例中,专利描述了用于形成光学特征的结构和用于形成该光学特征的方法