/ Nweon / 0浏览

Meta AR/VR专利介绍了一种高频、高效率的近场无线充电系统



映维网Nweon
2024年12月23日

)为了便于用户使用,XR可穿戴设备可包括一个或一组电池,而电池可通过有线和/或无线连接进行充电。每一种方法都有各自的挑战,如充电接口的位置、充电接口的效率等。

例如,有线充电存在可靠性问题,可能会随着长时间使用而退化等。无线充电方法可以减轻可靠性问题,但充电效率是一个问题。

在一份专利申请中,Meta介绍了一种高频、高效率的近场无线充电系统。

在一个实施例中,可以使用多种不同的磁芯、多绕组发射线圈、接收线圈配置,其中发射线圈通过磁通量在接收线圈处产生充电电压。在特定配置中,可以使用buck-boost辅助发射器或在发射器和接收器充电系统之间使用buck-boost split。

在其他配置中,可以使用发射器侧的switch-cap boost block来提高效率。另外,可以使用双路径充电系统或具有buck-boost或switch-cap boost block的双发射器-单接收器充电系统。所述收发对配置同时可用于对插入可穿戴设备中的电池模块充电。

在一个实施例中,对于支持高达5瓦的可穿戴设备,可以用相对较小的无线线圈充电尺寸来完成高频无线充电。

图1A示出具有充电接口的近眼显示器。支架106可包括至少一个或多个嵌入式电池(未示出),以沿充电接口101为电气组件供电。

如发明所述,近眼显示设备100可包括一个或多个电池,并用于向任何电气元件供电。可以提供充电接口101来给一个或多个电池充电。

有线充电可能比无线充电更有效,然而,带有金属部件的连接器可能使近眼显示设备100容易受到诸如水等环境条件的影响。另外,磨损导致的连接器退化可能降低近眼显示设备100的预期寿命。

作为对比,无线充电可以确保近眼显示设备完全绝缘,从而减少环境敏感性和磨损相关的可靠性问题。

图1B示出AR眼镜120。电池可通过挂带130进行。AR眼镜120可包括充电接口126。挂带130可以包括充电接口126以接收来自电池124或无线充电器的充电。挂带130和AR眼镜120之间的电力交换可以通过发送器线圈/接收器线圈对来完成。

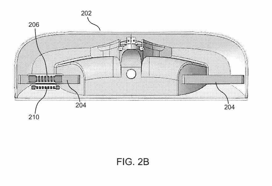
图2A-2C示出充电盒中的各种充电配置。发射器和接收器的充电线圈可用于各种眼镜折叠配置。图2A中的图200A显示了一种充电盒的视图,并用于近眼显示眼镜在不使用时进行充电。嵌入在所述外壳202中的无线充电电路可通过发送线圈206和接收线圈208向嵌入在近眼显示设备中的电路提供充电电源。

图2B的图200B显示了具有相同组件的外壳202的下半部分,但接收器线圈210放置在发射器线圈206的对面。。发射线圈和接收线圈相邻定位,两者之间的分离距离小,可以实现高效率充电。

图2C的图200C显示,两个接收线圈可与发送线圈206相互作用并增加无线充电系统的充电效率。在所示的双充电线圈配置中,无论折叠配置如何,发射器和接收器线圈的依然相邻定位,两者之间具有较小的分离距离,可以允许独立于折叠配置的高效率充电。

可以根据可充电外壳中的可用空间选择发射器线圈的尺寸。对于较大尺寸的眼镜,可以使用具有较高充电容量的较大发射线圈。

图4示出具有充电接口的手持控制器。其中一个或多个电池可嵌入在所述手持控制器410的壳体之中。

包含发送器线圈的无线充电器的充电接口可以连接到充电接口40,以给手持控制器410的至少一个或多个电池充电。在其他示例中,可使用具有无线充电能力的电池耦合到手持控制器410的充电接口401并为至少一个或多个控制器电池充电。

无线充电可以克服可靠性方面的挑战。人们对无线充电器的期望包括充电效率高、外形小等。小尺寸的无线充电线圈需要高频无线充电。然而,近场无线充电通常基于轮询器侧驱动器输出电阻进行调节,这在大多数功率条件下导致效率较低。其他高频无线充电系统基于发射器侧占空比或频率调节,这可能会导致电磁干扰/电磁兼容性问题。

发明描述的无线充电系统可以在高频率下工作,例如6.78 MHz、13.56 MHz等。功率传输最高可达5w。通过高频操作,可以使用小尺寸的无线充电线圈来适应可穿戴设备,并避免基于轮询器侧驱动器输出电阻或发射器侧占空比或频率的系统调节。另外,各种类型的电池,如高压锂离子电池(3.7 V)或低压镍氢/镍镉电池(1.2 V)可用于发射器侧。

图5示出了buck-boost辅助无线充电发射器-接收器对。buck-boost辅助发射器或发射器和接收器充电系统之间的buck-boost分配器可以用作用于电池供电的可穿戴设备的高频、高效率、近场无线充电系统。

图500示出无线充电系统的发射器部分,包括直流源502、降压转换器504、功率放大器506和包括发射电容器CTx1、CTx2和发射电感LTx的感应部分。图500同时显示了接收器部分,包括接收电感LRx、接收电容CRx1、CRx2、整流器508、电压限制器512和耦合到可穿戴设备的电池510的充电器514。

buck-boost变换器是一种输出电压大于或小于输入电压的dc – dc变换器。降压升压转换器的最简单形式可以包括一个二极管、一个电感和一个串行耦合的电容器,其中输入电压通过二极管提供,输出电压通过电容器接收。发射电容CTx1、CTx2可以为发射电感LTx提供直流隔离,LTx通过感应在接收电感LRx上产生电压。根据它们的绕组和它们之间的铁芯材料,发射电感LTx和接收电感LRx可以具有电压变换比K。

在接收端,整流器508可以在示例实现中包括二极管桥,但可以以任何合适的方式实现。两个晶体管和并联耦合电容器可以提供电压限制器512和充电器514的功能,以对可穿戴设备的电池510充电。

在一个实施例中,图500所述无线充电系统可提供基于降压-升压转换器504的系统电压或功率调节。功率放大器506可能不需要进行阻抗控制。因此,无线充电系统可以在大部分负载范围内实现最高效率。

图6示出buck-boost辅助无线充电收发器对。图600示出无线充电系统的发射器部分,包括直流源602、升压转换器604、功率放大器606和包括发射电容器CTx1、CTx2和发射电感LTx的感应部分。

图600同时显示了接收器部分,包括接收电感LRx、接收电容CRx1、CRx2、整流器608、降压转换器605和耦合到可穿戴设备的电池610的充电器614。

图600中的无线充电系统可以与图5中的无线充电系统类似地操作,并具有类似的组件,其中buck-boost转换器在发射部分和接收部分之间分开,buck转换器604位于发射端,boost转换器605位于接收端。

在图600的示例实现中,系统电压或功率调节基于降压或升压转换器。降压变换器或升压变换器可能处于旁路模式。功率放大器606可能不需要进行阻抗控制。这种配置可以使功率放大器始终处于高压工作状态。因此,无线充电系统可以在大部分负载范围内具有最高效率和高功率能力。

由于升压变换器和降压变换器分离,为了优化控制,可能需要一个相对复杂的控制系统来控制降压和升压的工作模式。

图7A-7E举例说明了无线充电发射器-接收器对的原理图。图7A中的图700A示出无线充电系统的发射器部分,包括直流源702、开关电容升压转换器704、功率放大器706和包括发射电容器CTx1、CTx2和发射电感器LTx的感应部分。

图700A同时示出了接收器部分,包括接收电感LRx、接收电容CRx1、CRx2、整流器708、三电平降压转换器或开关电容降压转换器705、耦合到可穿戴设备的电池710的充电器713。

图700A中的示例配置可允许功率放大器706始终处于超高压工作状态。因此,无线充电系统可以在大部分负载范围内具有最高效率和高功率能力。输入电压升压可采用高效率的开关电容升压变换器。

开关电容升压变换器可以使用任意数量的电容器完成能量转移和电压转换。在升压变换器中插入由两个电容器和两个二极管组成的简单开关电容升压单元,以获得较大的直流线负载电压比。升压变换器的输出电容和输出二极管去掉,它们的作用由开关模块的元件代替。

与其他转换器相比,开关电容升压转换器可能具有更大的直流增益。在这两个切换阶段创建了能量从线路到负载的直接传递路径,从而提高了能量转换效率。

图7B中的图700B显示了一个开关电容转换器714的示例,其中直流输入电压提供给四个串行耦合场效应晶体管Q1、Q2、Q3和Q4中的两个,输出电压通过与四个晶体管并联耦合的电容器接收。图700B中的配置是1:2开关电容变换器,其中输出电压是输入电压的两倍。飞行电压VFLY可以通过与中间两个晶体管(Q2, Q3)并联的飞行电容器接收。

图7C中的图700C显示了一个开关电容转换器724的示例,其中直流输入电压提供给四个串行耦合场效应晶体管 Q1、Q2、Q3和Q4中的两个,输出电压通过与四个晶体管并联耦合的电容器接收。不同的是,在图700C的配置中,两个额外的串行耦合晶体管Q5和Q6被描述为与第一组中间的两个晶体管(Q2, Q3)并行耦合。

图700C中的配置说明了1:4开关电容变换器,其中输出电压是输入电压的四倍。飞行电压VFLY可以通过与中间两个晶体管(Q2, Q3)并联的飞行电容器接收。

包括附加电容存储元件和功率开关的三电平转换器拓扑可以增加等效开关频率,并在无线充电系统的电感上产生更低的电压,使得能够通过更小的电感提高总系统效率,在更小的占地面积下具有更低的功率损耗和更低的工作温度。

图7D中的图700D显示了一个示例三电平转换器715,其中直流输入电压提供给四个串行耦合场效应晶体管 Q1、Q2、Q3和Q4,输出电压可以从电感器接收,电感器通过两个晶体管(Q3、Q4)串联耦合电容器。飞行电压VFLY可以通过与中间两个晶体管(Q2, Q3)并联的飞行电容器接收。

图7E中的图700E显示了一个开关电容转换器725的示例,其中直流输入电压提供给四个串行耦合场效应晶体管 Q1、Q2、Q3和Q4中的两个,输出电压通过耦合四个晶体管中的两个(Q3、Q4)的电容器接收。飞行电压VFLY可以通过与中间两个晶体管(Q2, Q3)并联的飞行电容器接收。图700E中的配置是一个2:1开关电容变换器,其中输出电压是输入电压的一半。

图8A-8B举例说明了无线充电收发对的原理图。图800A示出了两个无线充电模块820和830,其中每个无线充电模块(发送模块)的发送部分可包括直流源802、开关电容升压转换器804、功率放大器806和包括传输电容器CTx1、CTx2和传输电感器LTx的感应部分。

图800A同时显示了接收器部分(接收器模块),包括接收电感LRx、接收电容CRx1、CRx2、整流器808、三电平降压变换器或开关电容降压变换器805。

在图800A的示例配置中,单个充电器814耦合到可穿戴设备电池810。例如,两个并行的无线充电系统可以提高功率能力并缩短充电时间,从而改善电池的热性能。例如,双路径系统可以与增强现实眼镜一起工作。

图800B显示了具有两个发射器部分840和850的无线充电系统(类似于图800A中无线充电模块820和830的发射器部分),其中发射器部分840和850的发射器电感可以磁耦合到单个接收器模块860的单个接收器线圈LRx。

如图800A的配置所示,两个并联的局部无线充电模块可以增加功率能力并减少充电时间,从而改善电池的热性能。


相关专利


Meta Patent | Wireless charging system for wearable devices

名为“Wireless charging system for wearable devices”的Meta专利申请最初在2023年3月提交,并在日前由美国专利商标局公布。